3d徐文轩今晚推荐号码_3d小红人三天计划_今天三d专家推荐号码_解3d太湖字谜_3d太湖专家今日解析,3d今晚上专家推荐号_千里马人工计划app_3d专家预测最准确最新汇总_3d跨度振幅走势图3d之家_3d布衣双胆独胆王 ,詹天佑今天3d推荐_中国福彩3D独胆老师精准预测_3d试机号牛彩网30期_3d大小数和走势图表_今于海滨3d预测彩吧图 ,3d最准预测专家预测大_今晚3d专家推荐号_3d预测牛彩网手机版最新_中国福彩3D独胆实时走势最新_3d专家预测推荐号最新

新聞資訊

JLSZV2-6W、JLSZV2-10W戶外干式組合互感器

發布時間:2021-02-27 瀏覽量:4351 來源:本站 返回列表

JLSZV2-6W、JLSZV2-10W戶外干式組合互感器?

一、??? JLSZV2-6W、JLSZV2-10W戶外干式組合互感器

JLSZV2-6WJLSZV2-10W組合互感器是由兩臺單相全絕緣電壓互感器組成三相“V”型接線,AC相分別串接兩臺電流互感器,供10KV及以下電力線路作電流、電能計量用。電流互感器可做成高精度多變比結構,為以后系統增容帶來方便。產品用戶外環氧樹脂澆注,外形用防雨傘裙,表面爬電距離大,具有耐電弧、防雨、防塵、耐腐蝕、耐紫外線等特點,是電網改造的理想換代產品。

二、JLSZV2-6W、JLSZV2-10W戶外干式組合互感器概述

組合互感器實際上就是電壓互感器和電流互感器的組合,用于計量電業局收費用。表為電業局免費掛,可以是一個電壓互感器和一個電流互感器的組合,用于測量單相功率;可以是兩個電壓互感器和兩個電流互感器的組合,用于在三相三線制中按兩瓦計法測量三相功率;也可以是三個電壓互感器和三個電流互感器的組合,用于三相電測量。接變壓器時,組合時互感器電壓端子與變壓器輸出并聯,變壓器電流線穿過組合式互感器。組合式互感器在高壓電網中一般其電能計量作用。組合式互感器與電壓互感器及電流互感器一樣,二次輸出可以接負載,但是,負載一般不宜超過互感器標稱的額定負荷。

JLSZW-6W、JLSZW-10W組合互感器(又稱計量箱)由電壓、電流互感器組合而成。產品供交流50HZ,額定電壓10KV以下三相線路中,供電壓、電流和電能測量及繼電器保護用,適用于城網,農網戶外變電站,也可用于工業企業各種變壓器配電所等。組合互感器配上有功、無功電度表稱為高壓電力計量箱。本產品可取代油浸式組合互感器(計量箱)。

三、JLSZV2-6W、JLSZV2-10W戶外干式組合互感器結構簡介

電壓互感器由戶內環氧樹脂澆注結構,鐵芯為外鐵式,用優質冷軋取向硅鋼片疊裝而成,在中心柱上裝置一次及二次成形。

電流互感器也由戶內環氧樹脂澆注結構,鐵芯為內鐵式,用優質冷軋取向硅鋼片疊裝而成。二個電壓、二個電流單元件通過組合裝在一個封閉的鐵箱內,形成一體。

四、JLSZV2-6W、JLSZV2-10W戶外干式組合互感器技術參數

五、JLSZV2-6W、JLSZV2-10W戶外干式組合互感器尺寸

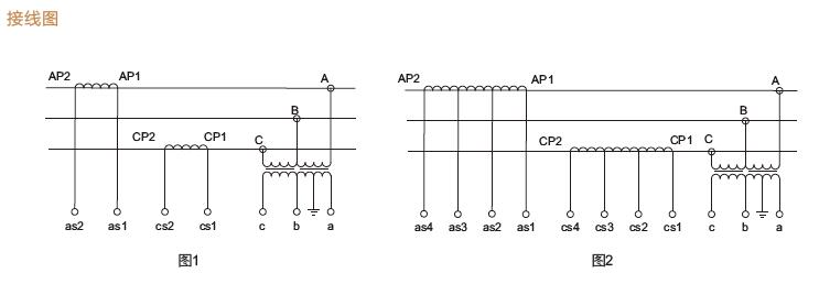
六、JLSZV2-6W、JLSZV2-10W戶外干式組合互感器接線圖

七、JLSZV2-6W、JLSZV2-10W戶外干式組合互感器型號推薦:

JLSZW-6組合互感器 ?

JLSZW-10組合互感器?

JLS-6組合互感器

JLS-10組合互感器

JLSZV2-6W組合互感器?

JLSZV2-10W組合互感器

JLSZW-6W戶外干式組合互感器

JLSZW-10W戶外干式組合互感器?

JLSZY-6W戶外干式組合互感器

JLSZY-10W戶外干式組合互感器

八、浙江中拓高壓互感器生產廠家

浙江中拓高壓電器有限公司是一家主要從事研發、生產銷售110kV及以下戶內外高低壓互感器,鐵芯、絕緣件的專業廠家。公司的10-35kV戶內外互感器,銷遍全國各地,遠銷海外多個國家和地區,深受廣大用戶信賴和好評,10kV真空斷路器用互感器已成為國內柱上開關生產企業最優選擇合作單位。2007年自主研發的主推產品LZW32-10(12)型戶外保護用電流互感器,是目前國內同類型配套互感器主要生產商。

?

3d最准专家预测方法 | 今天3d牛彩网专家预测 | 3D独胆明日推荐最新 | 3d今天专家预测号码 | 小薇3d预测今天推荐 | 3d号码预测| 3d今晚字谜太湖字谜是什么 | 3d正版藏机图谜汇总 | 3地独胆,毒胆双胆家彩网 | 3d独胆双胆下一 | 今晚3d直选一注 | 最新3d预测专家预测 | 3d预测图 | 今日3d直选一注 | 3d今晚专家推荐预测重点号码 | 福家老三3d推荐号 | 3d杀码公式最新 | 中国福彩3D独胆下期推荐杀号最新 | 3d今晚预测最新最准确号码牛彩网 | 3d千禧试机号开机号金码 | 近30期3d开机号 | 3d精准预测最准的专家直选 | 福家老三3d推荐号 | 3d彩界精英独胆双胆 | 3d陈华今晚独胆推荐 | 中国福彩3D独胆独家预测 | 3d试机号开机号今天金码关注 | 3d杀码图汇总 | 3d最准专家预测方法 | 3D独胆实时必中最新 | 真实的谎言3d字谜追加和值谜 | 3d今天预测最准确专家 | 三d预测牛彩网汇总 | 3d试机号和开机号牛彩网 | 今晚3d开机号试机号金码关注码 | 三字诀3d字谜 | 今天3d专家预测号码 | 马后炮解3d太湖钓叟字谜总汇大全 | 今日3d开机号和试机号列表三十期 | 3d今晚最准专家推荐号码 | 3d图谜字谜总汇 | 3d今晚中奖号是多少 | 中国福彩3D独胆今晚走势最新 | 3d白娘子跨度字谜汇总今天牛彩网 | 最准的3d专家预测 | 3d定百位一个号多少钱 | 毒胆牛人三天计划 | 唐龙一胆今天最新 | 15选5预测最准十专家预测 | 排3太湖钓叟字谜三字诀 | 三d十拿九稳预测号码 | 千禧3d开机号试机号金码 | 3d最准预测专家预测大 | 3d跨度振幅走势图3d专家 | 试机号后牛彩网专家预测3d | 今于海滨一语定胆保真今天 | 今晚3d推荐号码是多少 | 彩坛老顽童3d独胆 | 小红人的三天计划今天是什么 | 3d今晚推荐号 | 3d今晚精选预测一注 | 3d今晚专家预测最准确一注 | 3d开机号和试机号今天千禧 | 3d专家预测最准确今天上一期 | 3d太湖历史字谜 | 于海滨预测号 | 3d中间值振幅走势图之家 | 今晚3d专家预测最准确 | 3d藏机图正版藏机图汇总今天最新图片 | 福家老三3d推荐号 | 3d今晚最新预测 | 3d詹天佑预测分析牛彩网 | 3d试机号码开机号 | 3d百个位差值振幅走势图100期 | 3d预测最准专家 | 拼搏在线3d开机号和试机号列表 | 3d詹天佑点评 | 3d跨度分位走势图图感觉 | 3d专家预测最准最新 | 3d藏机图正版藏机图全图牛彩网 | 3d今晚专家预测最准确一注 | 3d双胆,独胆非常非常稳定 | 3d精选号码推荐今天最新 | 3d计算公式 | 3d彩界精英独胆双胆 | 3d预测最准的专家 | 毒胆牛人三天计划 | 3d预测号最新最准牛彩网 | 3d推荐号今晚专家预测 | 今晚3d直选推荐 | 财神爷独胆三天计划,就这么牛 | 千禧试机号金码今天的 | 3d今天最新最准专家预测最 | 今日3d大老人预测号 | 3d预测专家最准确今天 | 3d专家预测最准确今天上一期 | 于海滨3d今晚预测 | 家彩专门提供3d试机号开机号 | 3d今晚专家预测推荐 | 3d今晚试机号开奖号 | 免费计划软件 | 3d真帝王杀码图 | 3d专家预测最准最新 | 3d今天专家预测最准确 | 3d和值尾振幅走势图3d之家 | 牛彩网3d预测汇总大全手机版下载 | 今天3d开机号和试机号查询结果彩吧 | 3d杀码大全 天齐网 于海滨3d最新预测 千禧3d试机号金码关注码对应码今晚 | 今天的3d太湖字谜图 | 福彩3D独胆今晚必中最新 | 3d和值尾振幅走势图专业版 | 3d预测专家推荐号码推荐 | 今天3d专家推荐重点号码 | 3d字谜太湖最新 | 3d今天专家推荐号码推荐 | 3d今天预测最准 | 3d预测最准最新准专家预测号码 | 3d独胆双胆独胆3d之村 | 3d号码预测和推荐号今天 | 3d杀码专家大全 | 排三杀码专家定位杀码天齐网 | 3d今晚开奖结果号码是 | 3d字图谜总汇 | 今天3d专家推荐重点号码 | 3d断组预测 | 3d下期专家预测 | 3d试机号后专家预测汇总 | 詹天佑3d分析推荐 | 3d开奖号码结果 今晚 | 牛彩网3d专家预测汇总 | 中国彩吧更一懂彩民最新版本更新时 | 3d任意两码差值尾走势图 | 3d今晚专家推荐预测重点号码 | 专家推荐最热一注是什么 | 3d今晚专家预测推荐号 | 3d万能四码走势图表 | 3d预测专家最准确的专家预测 | 3d今晚十大专家预测汇总 | 3d今天开机号和试机号金码对应码 | 千禧开机号试机号关注号金码杀码 | 3d直选一注多少钱 | 3d十大专家精准预测汇总 | 中奖开奖结果3d | 最新3d预测专家预测 | 今日3d藏机图汇总 正版 新版 | 3d今晚最准最新专家推荐号 | 3d今晚开奖号码结果是多少 | 詹天佑最新预测3d | 3d十大专家汇总精选一注 | 3d徐文轩今晚推荐号码 | 3d每天一个独胆 | 3d两胆精准预测 | 个位杀码王 | 3d今天专家推荐号码 | 中国杀码王| 3d今晚必中三个号码预测 | 龙头凤尾今日预测 | 3d预测今天推荐 | 3d预测最准的专家预测 | 今日太湖字谜3d总汇 | 3d预测汇总 | 推荐一注3d号码 | 白骨精3d独胆图今天 | 开机号试机号3d今天 | 3d今天预测最准确专家 | 今日3d专家预测号码推荐 | 于海滨一语定胆 | 福彩3D独胆下期走势最新 | 3d今天推荐号码是多少 | 3d专家预测推荐 | 3d今晚最准专家推荐号 | 3d太湖字谜汇总今天 | 3d最准确预测100%一注 | 3d今晚推荐号码最新 | 3d预测最准确的专家 | 于海滨3d杀码 | 3d直选100%中奖绝技软件 | 最新3d预测专家预测 | 3d个位振幅走势图近50期 | 今日3d预测 | 3d各类和值最新谜字谜今天 | 3d独胆双胆专家预测网 | 中国福彩3D独胆内部杀号 | 3d预测最准最新准专家预测号码 | 3d和值专家推荐和值 | 3d专家预测推荐号最新 | 钱王今天3d预测号 | 3d独胆必下一独胆准 | 3d最小值振幅走势图3d之家 | 十拿九稳今天预测专家 | 今天3d开机号试机号金码 | 3d十大专家预测汇总 | 3d预测号码最准最新准专家预测号 | 排三平均值振幅走势图3d之家 | 三d走势图基本走势图彩宝网 | 今日3d大老人预测号 | 于海滨海3d预测牛彩网 | 3d今晚专家预测 | 3d双胆独胆必下一 | 3d推荐号今晚专家预测最准确 | 唐龙每日一胆天齐网 | 今日排三太湖钓叟字谜三字诀 | 3d姜子牙一句定三码最准字谜汇总 | 助赢计划软件免费版下载安装 | 一代女王决杀两胆免费观看 | 3d毒胆双胆三胆 | 3d真实的谎言正版和值字谜 | 3d直选综合走势图表 | 3d预测专家最准确今天 | 3d预测图 | 3d今晚必中一注一 | 3d定胆技巧准确率100% | 今日3d字谜太湖钓叟字谜 | 3d开机号和试机号金码关注 | 3d正版藏机图天齐网汇总 | 3d独胆专家预测 | 今日3d一句定三码最准和值谜 | 3d预测最准确专家预测 | 3D独胆下期推荐分析最新 | 3d开机号和试机号金码关注对应号 | 福彩3D独胆下期推荐必中 | 3d开机号和试机号金码关注对应号 | 今天的3d推荐号码是多少 | 今日3d预测号码推荐 | 2025315期3d开奖结果 | 3d最准一注(单挑王) | 天才计划三天计划独胆 | 今天3d开机号和试机号码结果查询 | 3d预测一注号推荐一3d预测一注今天 | 张克永专家3d预测 | 3d双胆下一 | 3d专家预测最准确最新新闻 | 于海滨海3d专家预测今天 | 3d钓叟字谜三字诀官网 | 3d号码预测和推荐号今天 | 太湖马后炮3d钓叟字谜 | 3d十大专家双胆预测汇总 | 3d最准的预测专家 | 3d今天开机号和试机号码 | 今晚3d推荐号 | 于海滨海3d预测保真 | 3d十大专家预测汇总 | 今于海滨3d预测彩吧图 | 3d专家杀码天中图库 | 千禧三地试机号对应码金码 | 3d个位走势图图表 | 3d开奖号码走势图表 | 3d最准预测专家推荐 | 西施姐姐精心推算一独胆146 | 3d开机号近200期历史记录 | 福彩3D独胆最新推荐最新 | 3d预测最精准预测 | 3d三胆预测 | 陈华3d今晚赌独一胆天齐网 | 3d预测专家最准确的专家预测今晚 | 福彩3D独胆老师分析最新 | 3d今晚专家预测推荐号 | 3d预测今晚最准专家预测号码 | 3d今天开机号和试机号码727 | 3d太湖钓叟字谜三字诀 | 3d预测号专家预测 | 今日焰舞3d焰舞字谜汇总大全 | 中国福彩3D独胆团队命中率最新 | 3d今天专家预测号码最准确 | 今天3d杀码 | 太湖解3d字谜汇总 | 福彩3D独胆老师精准预测最新 | 福彩3D独胆下期走势最新 | 3d预测牛彩网预测汇总 | 3d最精准的专家预测精选 | 3d今天专家推荐号码推荐 | 3d专家预测最准确| 3d今日开机号和试机号及关注码 | 3d预测最准专家预测牛彩网 | 马后炮解今日太湖字谜三字诀 | 今天专家推荐号码3d | 今天3d开机号试机号对应码列表 | 3d今晚开机试机号 | 太湖字谜太湖钓叟三字诀 | 3d谜语今天字谜今天的3d字谜是什么? | 今天3d专家预测号码 推荐 | 3d今天断组预测 | 今天三d专家推荐号码 | 福彩3D独胆下期推荐必中 | 今天3d开机号和试机号多少 | 3d预测号码最准最新准专家预测号家彩网 | 今天3d开奖号是多少 | 福家老三3d推荐号 | 3d推荐最新最准专家预测 | 3d单一跨度走势图表 | 今晚3d专家预测汇总 | 3d试机号后专家预测推荐汇总 | 3d胆1拖9直选多少钱一注 | 3d最准确最新专家预测 | 推荐一注3d号码 | 3d预测最准确的专家预测软件 | 最新3d预测专家预测 | 3d专家预测最准确最新今天牛彩 | 詹天佑今天3d推荐 | 今天十拿九稳号码预测 | 三d预测专家最新推荐 | 3d今天开机号试机号200期 | 3d精准直选一注 | 今天3d必出一注 | 3d近50期开奖号码 | 3d专家预测最准确最新汇总 | 3d精准预测推荐 | 中国福彩3D独胆今晚分析 | 于海滨最新3d预测推荐今天 | 于海滨海3d最新预测 | 3d彩吧试机号今天最新 | 最准的3d专家预测 | 3d最精准专家预测汇总今天 | 3d预测今日最新推荐 | 3d推荐号今日预测 | 3d专家预测最准 | 3d千禧试机号金码关注码 | 3d今天开机号和试机号开奖结果 | 3d杀码公式最新 | 3d预测 下一期 3d预测专家 3d预测 | 3d最新准专家预测 | 3d今天中了多少注直选 | 3d今日号码推荐 | 牛彩网3d预测汇总大全 | 3d预测最准最新准专家预测号码 | 最准的3d专家预测 | 3d基本走势图表完整版 | 3d专家预测最准最新今天 | 3d天宇和值谜字谜一句定三码 | 唐龙点评3d预测今天 | 太湖解3d字谜汇总 | 3d今晚专家预测推荐号 | 今日3d十大专家双胆总汇 | 3d精准预测最准的专家 | 3d今天专家推荐号码推荐 | 今日3d正版藏机图,藏机图汇总,天中网 | 3d于海滨预测 | 西施姐姐精心推算一独胆146 | 唐龙预测一胆今天 | 3d专家预测最准确最新今晚预测 | 今晚最全3d晚间字谜汇总192期 | 3d詹天佑预测分析牛彩网 | 3d下期预测最精准的一注号码 | 三码合一是什么意思? | 3d今天开机号和试机号码 | 铁娘子三天计划独胆必下300 | 千禧开机号试机号关注号金码杀码 | 3d十大专家汇总大全 | 于海滨三地杀码 | 3d今晚开奖号是多少 | 马到成功杀两码最新版本更新内容 | 千禧3d试机号金码关注码码关注码双彩论六个 | 3d走势图(专业连线版) | 3d今晚推荐号 | 3d专家于海滨 | 3d最精准专家预测汇总今天 | 专家彩宝贝预测汇总 | 3d专家推荐| 3d家彩网| 3d今天中了多少注直选 | 3d今天最新最准专家预测最 | 3d和值25点有哪几注 | 今天3d推荐号码今晚预测 | 3d今天专家预测号码 | 3d独胆预测 | 3d双胆独胆必下一 | 3d今晚开奖号结果 | 3d白娘子跨度字谜汇总今天牛彩网 | 3d今晚专家预测最准确一注 | 今于海滨3d预测今天牛彩网 | 今晚3d开奖号试机号 | 于海滨3d今晚预测号码 | 今天太湖字谜三字诀是什么 | 3d今晚最准的一注 | 3d恋预测今晚预测是哪里出的 | 3d太湖专家预测今晚 | 北斗3d今日专家预测推荐 | 3d预测专家最准确今天 | 3d今晚最准最新专家推荐号 | 3d专家预测最准今天 | 3d今天千禧试机号关注号金码 | 3d今晚预测直选一注 | 3d精准预测最准的专家 | 3d预测专家推荐 | 千禧3d试机号关注号 | 于海滨海3d杀码图 | 小红人的三天计划今天是什么 | 3d最准一个独胆毒胆 | 3d专家预测最准牛彩网 | 3d专家最新最准专家预测汇总 | 三码合一是什么意思? | 中国福彩3D独胆内部走势最新 | 3d开机号试机号今天最新50期 | 今晚3d出啥 | 3d专家今天预测一注 | 三d预测专家预测今天最新 今于海滨3d预测 | 神仙姐姐杀码今天的 | 3d和值尾振幅走势图近50期 | 龙彩居士3d预测今天最新版 | 今天晚上三d开奖结果 | 3d十大专家精准预测汇总 | 3d字太湖字谜 | 3d千禧开机号试机号关注金码对应码 | 于海滨3d今晚预测号码 | 千禧3d试机号金码关注码今天 | 今晚3d和值推荐 | 3d今天开机号试机号3 | 毒胆牛人三天计划必出 | 于海滨海3d预测今天 | 今晚3d推荐号码 | 于海滨点评专家一语定胆保真版 | 今晚3d预测最准一注 | 3d多少钱一注 | 今于海滨3d杀码图 | 三d之家独胆 | 中国福彩3D独胆最新必中 | 3d直选历史遗漏查询 | 3d最准确最新专家预测 | 3d专家预测最准确最新今天 | 3d直选一注50倍单挑 | 于海滨预测3d号 | 3d之家,专家预测预测 | 3d和值尾振幅走势图近50期 | 孟庆会点评 专家一语定胆 稳准狠三天计划 | 3d今晚最准专家预测号码145 | 3d预测专家精准推荐 | 3d今晚预测| 于海滨点评专家一注定胆保真版 | 于海滨海3d预测保真 | 排五奖号| 今日太湖字谜3d总汇 | 3d精准预测最准的专家直选 | 3d十位走势图振幅 | 3d 今日太湖字谜 | 3d任意两码差值尾走势图 | 3d开机号和试机号今天金码0 | 三d五码复式打一注多少钱啊 | 今日3d开机号和试机号列表三十期 | 3d任意两码差值尾走势图 | 3d专业版(走势图带连线) | 今日3d正版藏机图,藏机图汇总,天中网 | 3d预测今晚最准专家预测号码 | 3d最近1000期走势图表综合版图片 | 小薇3d预测| 今日3d开奖号今晚 | 3d太湖字谜一语定胆 | 3d彩报图今天图库彩吧 | 毒胆牛人三天计划今天 | 3d陈华今晚就赌一胆o11预测 | 3d千禧试机号和金码关注 | 3d最准确的专家预测 | 3d开机号今天近10期 | 3d牛哄哄解太湖字谜今天 | 于海滨3d最新预测 | 3d预测一注号推荐一3d预测一注今天 | 3d预测专家最准确的专家预测今晚 | 于海滨专家3d预测 | 三d预测专家预测 | 3d今晚最准专家预测号码 | 三字诀太湖三字诀字谜 | 3d最精准专家预测汇总今天 | 3d三胆最准| 今天买哪三个号码好 | 专家彩宝贝预测汇总 | 3d今天预测最准确专家 | 3d今晚推荐号 | 唐龙点评3d预测今天 | 3d预测最准专家预测牛彩网 | 3d今天最新最准专家预测最 | 于海滨一语定胆《保真》 | 铁人铁胆定位包是预测 | 今于海滨3d预测 | 于海滨一语点评今日 | 福彩3D独胆下期杀号最新 | 3d专家预测最准确最新今晚预测号 | 3d布衣独胆王正版今天 | 3d专家最新最准专家预测汇总 | 3d专家预测最准最新 | 3d精准预测最准的专家直选 | 3d万能大底共250注直选 | 3d推荐最新最准专家预测 | 于海滨3d最新预测 | 3d预测最准专家预测号 | 福体杀码王最新版本更新内容 | 今晚3d专家最精准的预测 | 今日正版3d藏机图汇总 预测 | 3d的预测号是多少 | 3d专家最新最准专家预测 | 3d于海滨预测预测牛彩网 | 3d专家预测最新推荐 | 福彩3D独胆最新必中 | 3D独胆实时推荐 | 中国福彩3D独胆下期最新必中最新 | 3d今天专家预测最准确 | 3d玩彩老头预测今天号码 | 3d太湖字谜汇总今天 | 于海滨最新3d预测今天 | 福彩3D独胆内部杀号 | 今晚精准一注3d | 3d预测号码最准确专家预测 | 3d今晚开机号试机号金码关注码今天 | 开心毒胆王今晚独胆 | 3d双胆预测 | 今天的3d太湖字谜图 | 于海滨精准杀码图 | 3d今天专家推荐号码推荐 | 3d近30期开机号试机号开奖号查询 | 3d专家预测最准确今天上一期 | 3d最准专家预测号今晚3d试机号 | 3d百位十位个位走势图 | 3d独胆专家预测 | 3d至尊计划独胆 | 今天的3d太湖字谜 | 唐龙点评每日一胆龙 | 3d今晚开机试机号 | 3d预测最准最新准专家预测号码 | 中国福彩3D独胆最新推荐最新 | 3d最精准的专家预测 | 天府袍哥3d预测 | 3d今晚最准专家预测号码145 | 十拿九稳今天预测专家 | 十拿九稳今天预测专家 | 3d预测今晚最新最准确 | 3d单个冷号最大遗漏 | 2002146期3d开奖结果 | 3d今天专家预测号码最准确 | 3d专家预测最新最准 | 福彩3D独胆下期预测 | 今于海滨3d预测今天牛彩网 | 三d便民字谜图谜总汇 | 3d预测最准确专家预测 | 太湖叟3d字谜湖字谜 | 中国彩吧更一懂彩民最新版本更新时 | 3d最新专家预测推荐 | 3d免费预测| 今日3d蓝仙子一句定三码字谜 | 3d今晚最准的一注 | 3d字太湖叟字谜 | 3d基本走势图全部 | 3d今晚预测最准确一注今天 | 千禧3d试机号金码关注码牛彩网 | 3d独胆二天计划 | 3d和值谜汇总大全 | 3d专家预测最准确最新推荐号码 | 今晚3d专家最精准的预测 | 3d北丐七爷独胆 | 今天3d正版太湖字谜 | 3D独胆独家推荐 | 3d最精准专家预测汇总今天 | 3d预测专家最准最新 | 詹天佑3d预测 | 3d北斗今日预测 | 今天3d千禧试机号关注号金码号 | 3d胆1拖9直选多少钱一注 | 3d预测专家最准确的专家预测今晚 | 3d今晚最准最新专家推荐号 | 最准的3d专家预测 | 经典小胆王三天计划配组合 | 于海滨杀码图谜 | 3d专家推荐最新预测 | 3d就打一个胆中了多少钱 | 于海滨今日杀码图 | 3d今晚预测直选四注 | 3d字谜太湖钓叟三字诀今天 | 福彩3D独胆独家命中率最新 | 3d专家最新最准今天预测 | 今晚3d太湖字谜 | 3d推荐号3d推荐号码 | 中国福彩3D独胆专家精准预测 | 3d阴阳走势图表图 | 3d今晚专家推荐号 | 3d陈华今晚独胆预测 | 财神爷三天计划 | 3D独胆本期预测最新 | 今日3d藏机图汇总 正版 新版 | 今日3d预测专家推荐 | 3d十大专家预测汇总 | 3d十大专家杀跨度汇总 | 3d杀码图谜 | 3d和值尾振幅走势图200期 | 3d字谜解太湖字谜 | 3d预测号码最准确专家预测 | 3d独胆是什么意思 | 近1000期3d开奖结果 | 正版真精华布衣天下今天推荐号码 | 3d独胆必下一个胆 | 3d最准确最新专家预测 | 3d资料大全免费 | 3d下期预测最精准的一注号码 | 于海滨3d预测号 | 3d千禧试机号金码关注码对应码 | 3d今天精选五注 | 3d预测最准确的专家 | 詹天佑3d | 今天晚上3d推荐号码 | 3d预测专家 | 3d最精准专家预测汇总今天 | 3d千禧开机号试机号 | 3d推荐号今晚专家预测 | 于海滨3d今晚预测号码 | 开奖结果3d今天晚上 | 3d预测最新最准专家 | 今日3d专家推荐号码 | 李明启3d今晚预测专栏 | 3d精选号码推荐今天最新 | 牛彩网预测3d | 彩宝3d专业走势图 | 三d五码复式打一注多少钱啊 | 3d开奖号历史上的今天 | 3d和值尾振幅走势图彩宝贝 | 今晚精准一注3d | 3d最准一个独胆毒胆 | 3d今晚惊天一注预测 | 3d今晚最准专家预测号码145 | 千禧3d今晚的试机号码 | 福彩3D独胆高手分析 | 3d太湖钓叟字谜三字诀了3d开奖 | 三d预测最准十专家预测今晚 | 福彩3D独胆大神精准预测最新 | 3d今天专家预测号码 | 飞向阳光龙头凤尾今天最新消息 | 成功路上3d双胆独胆 | 3d十大专家精准预测汇总 | 3D独胆大神命中率最新 | 3d今晚专家预测推荐 | 3d毒胆双胆三胆 | 福彩3D独胆明日推荐 | 3d最精准的专家预测精选 | 今日精准预测推荐3d号码 | 3d一定牛专家预测推荐 | 3d基本走势图全部 | 3d专家推荐最新预测 | 今晚3d专家预测汇总 | 今天3d开机号和试机号码结果查询 | 3d陈华今晚独胆推荐 | 3d试机号开机号今天查询排五 | 今晚最全3d晚间字谜汇总192期 | 今天专家推荐号码3d | 3d太湖钓叟字谜汇总正版藏机图 | 3d真实的谎言正版和值字谜 | 3d之家独胆,双胆 | 3d正版藏机图天齐网汇总 | 3d专家预测推荐号码 | 今晚3d专家预测精选一注 | 3d最全晚间字谜汇总大全 | 牛彩预测汇总3d最新 | 3d军长独胆定位 | 3d今晚开机试机号 | 3d今日预测最准专家预测 | 3d专家今天预测汇总 | 福彩3D独胆老师走势最新 | 3d今晚专家预测推荐号 | 牛人高手【3d精选】 | 3d牛彩网试机号后专家预测汇总 | 3d今晚开奖结果号码是 | 苦命人3d推荐一注 | 3d专家最新最准今天预测 | 今晚3d专家推荐号码是多少 | 3d千禧开机号和100期试机号 | 3d杀码于海滨 | 3d开奖结果近10期 | 3d最准预测号 | 3d预测专家最准确 | 3d太湖字谜大全 太湖钓叟 | 中国福彩3D独胆下一期预测最新 | 3d直选一注多少钱 | 3d试机号开机号今天金码关注 | 今晚试机号多少3d | 3d今天专家预测推荐号码 | 3d双胆独胆推荐 | 福彩3D独胆下期推荐最新 | 3d今晚最准专家推荐号码 | 3D独胆明日精准预测 | 3d家彩网| 今日精准预测推荐3d号码 | 今晚3d太湖字谜 | 陈华3d今晚赌独一胆天齐网 | 3d今晚最新预测 | 3d太湖字太湖字谜今天 | 今天3d开机号和试机号金码 | 福彩3D独胆最新必中 | 3d今晚专家预测最准确号码 | 3d专家预测最新最准推荐 | 3d十大专家精准预测汇总 | 三d独胆 | 3d今天专家推荐号码是多少 | 于海滨杀码今天最新版 | 福体杀码王最新版本更新内容 | 今天3d推荐号码今晚预测 | 3d今晚上专家推荐号 | 3d预测最准确的专家 | 三d便民字谜图谜总汇 | 开奖结果3d今天晚上 | 3d今天开机号和试机号232 | 于海滨三地杀码 | 今日3d专家预测号最准确 | 中国福彩3D独胆下期最新分析 | 今日太湖字谜3d字谜太湖钓叟 | 3d最新专家预测汇总大全 | 3d彩界精英独胆双胆 | 中国福彩3D独胆下一期预测最新 | 3d预测专家最准确 | 3d最准确的专家预测 | 3d牛彩网采摘收集预测汇总 | 今晚3d试机号码和开机号 | 3d千禧试机号关注号金码号开机号 | 天才计划三天计划独胆 | 詹天佑3d| 福彩3D独胆本期预测 | 3d独胆之家 | 3d今晚和值字谜 | 3d杀码图专区,杀码图 | 今日3d蓝仙子一句定三码字谜 | 3d往年历史今天开奖结果 | 3d北斗专家北斗预测今天079期3d | 千禧三地试机号对应码金码 | 3d开机号试机号今天最新50期 | 3d今晚精准一注推荐 | 中国彩吧更一懂彩民最新版本更新时 | 3d藏机图天齐正版藏机图 | 3d下期专家预测 | 今天太湖钓叟3d字谜三字诀 | 今天最新3d开机号试机号关注码 | 3d今天专家预测最准确 | 中国福彩3D独胆下期推荐推荐最新 | 3d预测专家最准确 | 今天3d詹天佑预测分析 | 3d专家最新最准专家预测汇总 | 3d今晚惊天一注预测 | 小薇3d预测| 排五预测号专家 | 3d天宇和值谜字谜 | 今日3d直选一注 | 今天3d试机号和开机号 | 今日3d马后炮解太湖字谜 | 沈宝桢个人简历 | 今天的3d开机号和试机号查询 | 詹天佑最新预测3d | 3d预测今天推荐 | 詹天佑今天3d推荐 | 詹天佑最新预测3d | 3d双胆独胆非常非常 | 今天3d推荐号码今晚预测 | 3d预测号码最准最新准专家预测号家彩网 | 3d今晚精准一注 | 今日3d开奖号今晚 | 3d最准专家预测号 | 今天3d开机号关注号试机号金码 | 3d专家最新最准专家预测汇总 | 3d最准确最新专家预测 | 今日3d专家预测号最准确 | 3D独胆本期推荐 | 于海滨海3d预测牛彩网 | 今于海滨3d杀码图 | 3d专家预测推荐汇总 | 今天专家推荐号码3d | 今晚3d出的什么号 | 3d今晚最准专家推荐号码 | 北斗3d今日专家预测推荐 | 3d今晚精选一注 | 3d专家预测推荐最新 | 3d各类和值最新谜字谜今天 | 3d预测专家最准确的专家预测今晚 | 3d今晚必出号预测 | 财神一语定一注3d字谜 | 3d牛彩网试机号后专家预测汇总 | 铁人铁胆3d包星定位最新今天 | 3d带连线专业版走势图表 | 3d今天专家预测最新最准 | 3d开机号今天试机号查询 | 3d预测专家 | 今日3d专家预测号最准确 | 3d专家今天预测一注 | 于海滨海3d专家预测 | 3d预测专家精准推荐 | 今天3d专家预测号码 推荐 | 毒胆牛人三天计划必出 | 3d独胆双胆天齐网 | 天齐藏机图汇总正版藏机图 | 大师诸葛亮今晚一个独胆 | 今日3d专家推荐号码 | 3d千禧今晚试机号码 | 福彩3D独胆老师分析最新 | 3d今晚一注直选 | 中国福彩3D独胆当天精准预测最新 | 今天3d开机号试机号金码 | 今天3d牛彩网专家预测 | 3d今天开机号和试机号 | 3D独胆大神走势 | 辉煌看胆双胆3d | 3d预测今晚最准专家预测号码 | 3d预测今晚最新最准确 | 李明启3d今晚预测专栏 | 3d彩界元宝就看一个独胆 | 于海滨3d杀码预测 | 3d最准的预测专家 | 3d走势图全图表 | 一代女王杀两胆 | 3d预测最准确专家预测 | 3d各类和值谜追加汇总 | 3d专家最新最准预测 | 福彩3D独胆明日推荐 | 三d独胆 | 3d中间值振幅走势图之家 | 3d今天中了多少注直选 | 千禧试机号金码关注号对应码杀码 | 3d今晚专家推荐号 | 近30期3d开奖结果 | 今天3d开机号和试机号对应金码 | 3d北斗专家北斗预测今天079期3d | 3d预测最准确的专家预测软件 | 3d廊坊鸿运正版推荐 | 3d千禧开机号和100期试机号 | 3d直选三注必中免费 | 今日正版3d藏机图汇总 预测 | 3d今天最新最准专家预测最 | 今天3d于海滨预测 | 3预测,3d专家预测,最准确今天彩网 | 3d最新预测专家推荐 | 于海滨今日杀码图最新 | 3d藏机图正版藏机图全图牛彩网 | 3d杀码图专区,杀码图 | 3d预测号最新最准牛彩网 | 唐龙预测一胆今天 | 于海滨一语定胆《保真》 | 今晚3d专家最精准的预测 | 于海滨最新3d预测今天 | 千禧试机号关注金码是什么 | 钱王点评| 万能四码图表 | 牛彩网3d走势图表 | 今天3d推荐号码今晚预测 | 今于海滨3d杀码 | 3d预测专家最准确 | 今日3d专家预测总汇 | 3d试机号开机号今天查询排五 | 于海滨3d预测今天 | 专家预测3d号码准确 | 3d今晚100倍 万能三码的使用方法 | 看彩大亨最新独胆预测 | 牛彩网近30期3d开机号试机号 | 3d今晚专家预测 | 3d专家预测推荐号码最准最新 | 3d专家预测最新推荐 | 于海滨3d预测号 | 于海滨3d预测免费每日精选 | 今晚3d推荐号码是多少 | 3d独胆双胆专家预测网 | 3d钱王老头给胆点评 | 3d独胆陈华今晚就赌一个胆 | 3d今天开机号和试机号322 | 3d今天开机号和试机号牛彩网 | 3d专家预测更准确今天 | 3d单一跨度走势图表 | 3d今晚十大专家预测汇总 | 今天最新3d开机号试机号 | 55125预测汇总3d| 十拿九稳今天预测专家 | 三d牛彩网开机号试机号是多少 | 3d今天专家推荐号码 | 3d预测最准确的专家预测软件 | 3d上下五千年专家预测 | 3d专家预测最准确最新今天 | 3d十大专家预测汇总 | 3d一定牛专家预测推荐 | 3d今天推荐号码是多少 | 3d上下五千年专家预测 | 三d五码复式打一注多少钱啊 | 李明启3d最新预测今天 | 3d开机号和试机号金码关注 | 3d双胆独胆非常非常稳定 | 3d独胆王今天 | 3d今天中了多少注直选 | 今天3d千禧试机号关注号金码号 | 3d今晚专家推荐预测重点号码 | 3d和值10有哪些号码 | 3d今天专家推荐号码推荐 | 于海滨3d预测免费每日精选 | 今天晚上的3d开奖结果 | 千禧3d试机号金码今天关注码对应码 | 福彩3D独胆老师杀号最新 | 3d手机预测牛彩网 | 太湖钓叟3d字谜三字诀 | 3d今晚专家预测最准确一注 | 3d字谜今日字谜总汇 | 太湖三字诀字谜三 | 今日3d开奖号今晚 | 3d专家今天预测一注 | 3d专家推荐最新预测 | 3d今天专家预测号码 | 3d北斗专家北斗预测今天079期3d | 杀码王杀码 | 三d十拿九稳预测号码 | 3d开机号今天牛彩网近30期 | 顶级胆神双胆下一 | 3d经典毒胆 | 3d双胆独胆非常非常稳定 | 今天的3d开机号试机号 | 李白看3d独胆绝20 | 3d今晚开奖号走势图 | 3d专家预测号码推荐今天 | 3d独胆双胆预测 | 3d太湖字谜图谜总汇 | 于海滨3d预测今天 | 3d专家预测最新最准推荐 | 3d今天最新最准专家预测最 | 三d预测最准十专家预测今晚 | 3d最大值振幅走势图3之家 | 3d预测专家推荐最准确 | 3d阿福图库图谜大全 | 唐龙点评3d预测今天 | 钱王点评3d之家 | 3d千禧试机号金码关注最近10期 | 今于海滨一语定胆保真今天 | 3d预测最准确的专家 | 3d推荐最新最准专家预测 | 今于海滨点评专家一语定胆 | 牛彩网3d预测分析汇总大全 | 3d预测一注推荐 | 周星星3d预测手机牛彩网 | 3d今晚专家预测最准确一注 | 今日3d十大专家双胆总汇 | 今天3d开机号试机号牛彩网 | 3d专家最新最准今天预测 | 3d于海滨预测预测牛彩网 | 最准确3d专家预测 | 3d开机号和试机号金码和关注码 | 3d今日预测最准专家预测 | 3d中间号走势图振幅走势图 | 排三十拿九稳今天预测 | 3d怎么守号不亏 | 3d 计算公式 | 3d今晚预测最准确一注 | 3d杀码图谜 | 3d必中永久直选500注大底 | 3d最新专家预测汇总 | 廊坊鸿运3d推荐今天 | 3d胆王双胆独胆 | 3d开机号今天近100期南方查询 | 今晚3d试机号开机号金码号 | 今天3d开机号试机号牛彩列表 | 3d和尾振幅走势图3d专家 | 今日3d太湖字谜三字诀洞庭游侠 | 3d跨度遗漏值振幅走势图彩经网 | 3d预测最准确的专家 | 今晚3d预测最准一注 | 3D独胆明日推荐最新 | 3d跨度五行走势图3d之家 | 百位振幅走势图3d之家 | 3d专家预测汇总牛彩网彩摘收集 | 千禧关注码试机号金码 | 3d开机号和试机号正版彩吧 | 3d太湖钓叟字谜汇总正版藏机图 | 福彩3D独胆内部杀号 | 3d阴阳走势图表图 | 3d今天开机号试机号是几 | 3d太湖字太湖字谜今天 | 3d最精准独胆王 | 3d十位走势图带连线图表专业版 | 孟庆会老师3d预测彩吧图库今天 | 孟庆会点评 专家一语定胆 稳准狠三天计划 | 于海滨3d免费预测最新的 | 3d预测号最新最准牛彩网 | 今晚3d专家推荐号码是多少 | 3d于海滨上的今天预测 | 三天计划独胆牛人 | 今晚3d专家预测 | 最准的3d专家预测 | 3d预测最准确专家预测牛彩网 | 3d专家最准确预测 | 3d 今天 试机号开机号3 | 3d字谜汇总大全总汇牛彩网开机号 | 3d开机号试机号今天最新50期 | 3d于海滨上的今天杀码 | 3d最准确预测100%一注 | 3d顶级胆神双胆 | 今日詹天佑3d预测分析 | 3d直选开奖结果 | 3d开奖号今晚 | 3d百十和值尾振幅走势图 | 3d今天专家推荐 | 3d条件预测专家专区 | 千禧三地试机号对应码金码 | 中国福彩3D独胆最新必中最新 | 3d今天专家预测最准确 | 3d开机号与试机号金码 | 中国福彩3D独胆今日精准预测 | 三地百位振幅3d之家走势图 | 3d专家预测于海滨 | 3d陈华今晚独胆推荐 | 3d开机号近30期列表彩宝网 | 3d免费专家预测推荐 | 今晚最准一注3d | 詹天佑3d预测推荐 | 3d今天开机号和试机号开奖结果 | 3d单式怎么才算中奖 | 三d十拿九稳预测号码 | 3d长中剑客预测今天 | 3d必中永久直选500注大底 | 3d牛彩网专家预测 | 太湖字谜三字诀汇总 | 3d今晚最准专家预测号码 | 3d今晚专家预测最准确号码 | 今天3d开机号和试机号多少? | 福彩3D独胆高手分析 | 3d双胆神算今天最新 | 3D独胆下期推荐预测最新 | 3d预测一注精准 | 3d字谜太湖钓叟三字诀今天 | 3d詹天佑推荐号 | 3d定胆王独胆定位 | 于海滨3d免费预测最新的 | 东北小胆神今晚独胆 | 3d詹天佑最新预测牛彩网 | 3d胆王帅哥独胆双胆 | 3d今天专家预测推荐号码 | 3d字谜太湖解字谜 | 3d专家推荐号码 | 彩界毒胆大师一枚毒胆 | 3d杀码图谜_专区杀码 | 3d专业版(走势图带连线) | 沈宝桢个人简历 | 3d今晚字谜太湖字谜是什么 | 3d最新最准预测号码今天 | 福彩3D独胆明日精准预测 | 3d预测今晚最准专家预测号码 | 3d千禧试机号关注号金码号开机号 | 唐龙点评3d预测今天 | 近1000期3d开奖结果 | 牛彩预测汇总3d最新 | 3d预测最准确的专家 | 3d推荐号3d推荐号码 | 3d最小值振幅走势图3之家 | 于海滨3d预测牛彩网 | 千禧之年3d开机号试机号金码关注 | 3d牛哄哄解太湖字谜今天 | 玩彩独胆王三天计划 | 3D独胆明日走势 | 钱多多3d百位定独胆 | 中国福彩3D独胆当天精准预测 | 3d预测专家推荐号码 | 3d专家预测推荐最新 | 3d今日开机号和试机号及关注码 | 3d经典小胆王 | 3d专家预测推荐 | 3d预测号码最准最新准专家预测号 | 3d独胆双胆天齐网 | 于海滨3d免费预测最新的 | 今日3d太湖字谜三字诀洞庭游侠 | 3d最准专家预测号 | 3d预测最准专家预测号 | 3d孙大财就赌一个胆 | 3d牛彩网专家预测 | 千禧之年3d开机号试机号金码关注 | 中国福彩3D独胆当天预测最新 | 唐龙一胆今天最新 | 3d最新专家预测推荐 | 今日3d专家预测总汇 | 财神爷三天计划 | 于海滨3d预测牛彩网 | 于海滨3d免费预测最新的 | 3D独胆下一期杀号 | 今天3d专家预测汇总 | 3d预测最准最新准专家预测 | 唐龙点评3d预测今天 | 3d独胆必下 | 今日3d开奖号太湖字谜总汇 | 3d今日专家精准推荐号 | 3d必中直选| 3d预测专家精准推荐 | 今天的3d开机号和试机号查询 | 牛彩网3d专家预测汇总 | 3d万能三码中奖秘诀 | 3d推荐号今晚专家预测 | 3d专家预测号码手机牛彩网 | 3d试机号开机号今天最新 | 3d太湖字谜汇总今天 | 福家老三3d推荐号 | 3d最精准独胆王 | 3d今晚上专家推荐号 | 3d杀码图谜 | 3d预测号码最准最新准专家预测号家彩网 | 今晚3d预测最准一注 | 3d试机号开机号号码今天 | 3预测,3d专家预测,最准确今天彩网 | 3d今晚开奖号结果 | 3d开奖必中| 3d预测最准最新准专家预测号码 | 今晚的3d试机号是多少 | 3d专家今天推荐号 | 今晚3d预测最准一注 | 3d詹天佑3d预测 | 3d预测号最新最准牛彩网 | 3d预测一注推荐 | 3d专家今天推荐号 | 3d太湖钓叟字谜三字诀了3d开奖 | 3d最新最准预测号码今天 | 3d独胆之家 | 3d预测专家推荐最准确 | 3d开机号和试机号金码关注对应号 | 3d独胆王定位独胆定位 | 三d预测专家最新推荐 | 3d陈华就赌一个胆天齐网 | 詹天佑3d今天预测分析 | 3d今日预测最准专家预测 | 今天十拿九稳号码预测 | 15选5预测最准十专家预测 | 3d今晚十大专家预测汇总 | 3d两胆精准预测 | 3d最精准一注 | 3d预测专家 | 詹天佑今天3d推荐 | 3d开机号今天试机号30期 | 3d预测最准专家预测号码 | 3d直选一注50倍单挑 | 三d牛彩网开机号试机号是多少 | 3d小差振幅走势图表图 | 今天买哪三个号码好 | 太湖叟3d字谜湖字谜 | 中国杀码王绝杀 | 3d詹天佑最新预测牛彩网 | 今日3d推荐号码号 | 3d七码复式最准专家 | 3d于海滨上的今天预测保真 | 3d最准预测专家预测汇总 | 3d专家最新最准预测 | 福彩3D独胆高手预测 | 今晚3d开机号试机号金码关注码 | 3d专家预测最准确今天南方双彩网 | 三d走势图基本走势图彩宝网 | 于海滨3d今晚预测 | 今天3d推荐号码今晚预测 | 3d十大专家双胆预测汇总 | 三d毒胆预测 | 3d今晚试机号是多少查询 | 于海滨海3d预测牛彩网 | 今天晚上3d推荐号码 | 3d预测 下一期 3d预测专家 3d预测 | 千禧三地试机号对应码金码 | 千禧3d试机号金码关注码牛彩网 | 今天最新3d开机号试机号关注码 | 3d独胆必下 | 3d今天开机号和试机号牛彩网 | 3d今天中了多少注直选 | 唐龙一胆 | 今天3d开机号 和试机号 查询结果 | 3d于海滨预测预测牛彩网 | 唐龙点评3d预测 | 詹天佑3d点评预测 | 于海滨3d预测牛彩网 | 今天3d开机号 试机号是多少 | 3d独胆双胆3d之家 | 3d预测专家推荐最新 | 钱王点评十钱王老头给胆 | 3d直选综合走势图表 | 3d预测最准确的专家预测软件 | 3d专家预测最准确最新汇总对应码 | 十拿九稳的最新预测 | 今日3d藏机图正版藏机图134 | 于海滨专家3d今天预测 | 3d预测推荐| 3d专家最新最准专家预测 | 3d晶晶必下一独胆今天 | 中国福彩3D独胆下期推荐推荐最新 | 3d专家预测汇总牛彩网收集汇总 | 3D独胆团队精准预测最新 | 中国福彩3D独胆专家精准预测最新 | 今于海滨最新预测今天 | 今日3d专家预测号码推荐 | 于海滨点评专家一注定胆保真版162期 | 3d今天专家推荐 | 3d预测今晚推荐号 | 3d开心毒胆独胆王 | 3d直选一注今天 | 今天3d开机号和试机号码结果查询 | 今于海滨3d预测今天单线联系 | 3d专家预测更准确今天 | 3d今晚预测准确的专家预测 | 今晚3d专家预测 | 3d谜语字谜太湖天齐网 | 3d计算机开机号夏天推荐 | 彩坛老顽童3d独胆 | 3d今晚专家推荐号 | 3d均值振幅走势图表图 | 3d预测今晚推荐号 | 3d预测最准的专家预测 | 3d鸿运坊预测号 | 3d经典小胆王 | 3d专家预测号码手机牛彩网 | 3d下期预测最精准的一注号码 | 3d今晚专家预测最准确一注 | 3d双胆独胆非常非常稳定 | 今天3d专家预测汇总 | 3d专家预测最准确最新汇总对应码 | 3d走势图(专业连线版) | 3d今晚精准一注推荐 | 3d专家号 | 3d今晚推荐号| 3d专家推荐最新预测 | 3D独胆本期推荐 | 3d千禧金码试机号关注码开奖号 | 3d专家预测推荐最新 | 3d专家预测最准确今天3d | 小薇3d预测今天推荐 | 3d预测今日最新推荐 | 于海滨点评专家一注定胆保真版162期 | 唐龙点评每日一胆龙 | 3d精准预测专家预测 | 3d十位走势图带连线图表专业版 | 拼搏在线3d开机号和试机号列表 | 3d开机号今天近10期 | 白骨精3d独胆图今天 | 3D独胆内部精准预测 | 3d独胆双胆预测推荐 | 于海滨3d最新预测 | 今日3d开机号和试机号列表三十期 | 3d今天专家预测最准确 | 3d和值谜汇总大全 | 3d专家预测最准确最新新闻 | 3D独胆明日走势 | 三d今日预测 | 3d字谜总汇今日3d字谜总汇牛彩网 | 3d最新最准专家预测号码 | 今晚3d一注直选 | 3d百位走势图带连线图表专业版 | 牛彩网杀码图汇总 | 三地千禧试机号关注金码对应码 | 3d今晚预测最新最准确号码牛彩网 | 3d字谜解太湖字谜 | 中国福彩3D独胆最新推荐 | 3d专家号 | 3d今晚上预测号码 | 3d于海滨上的今天预测 | 3d杀码一定牛| 解太湖3d字谜太湖 | 3d最精准专家预测汇总今天 | 3d推荐最新最准专家预测 | 3d开机号今天近100期南方查询 | 3d千禧试机号关注号金码号开机号 | 3d今晚专家免费预测 | 3d天宇和值谜字谜 | 3d预测最准最新准专家预测号码 | 3d预测汇总牛彩网 | 3d今晚最精准一注一注 | 3d专家预测今天最新准确号 | 3d独胆陈华今晚就赌一个胆 | 3d今天试机号开机号金码 | 3d字太湖字谜 | 铁人铁胆定位包星 | 解太湖3d字谜太湖 | 今日3d马后炮解太湖字谜 | 3d直选一注今天 | 3d预测最准专家预测 | 于海滨海3d预测今天 | 唐龙一语定胆最新 | 3d今天专家推荐号码 | 3d最准专家预测 | 3d今晚预测直选一注3d一注预测 | 财神爷三天计划必下更新 | 3d今天专家预测最新最准 | 3d十大专家推荐号码汇总 | 专家推荐一注6+1 | 3d预测 下一期 3d预测专家 3d预测 | 3d孔方来萃解太湖字谜 | 中国福彩3D独胆明日推荐 | 3d双胆最准100% | 3d今天预测最准确专家 | 3d和值尾金木水火土走势图 | 钱王点评十钱王老头给胆 | 3d十大专家预测汇总 | 今天三字诀太湖字谜 | 3d太湖专家预测今晚 | 3d推荐号今晚专家预测最准确 | 今天的3d开机号试机号 | 千禧开机号试机号关注号金码杀码 | 十拿九稳今天预测 | 牛彩网专家汇总汇总3d | 乾坤三天计划独胆预测 | 万能三码的使用方法 | 3d字太湖叟字谜 | 3d詹天佑预测汇总 | 推荐一注3d号码 | 3d白娘子跨度字谜汇总今天牛彩网 | 3d试机号后专家预测推荐汇总 | 3d太湖钓叟字谜三字诀了3d开奖 | 3d专家预测最准确最新今晚预测 | 3d彩报图今天的第五版 | 3d今晚预测最新最准确号码牛彩网 | 唐龙点评3d预测今天 | 中国福彩3D独胆高手命中率 | 今天的3d开机号和试机号查询 | 今天牛兄双胆 | 3d试机号后专家预测汇总手机网 | 3d走势图的基本走势图 | 牛彩网预测3d | 3d专家今日推荐号码 | 3d走势图全图表 | 3d预测专家准确推荐 | 3d北斗今日预测 | 3d今天开机号试机号对应码关注码 | 3d今日预测最准专家预测 | 3d预测专家推荐号码推荐 | 3d预测今晚最新最准确 | 3d今天专家推荐号码 | 3d今天的开机号和试机号查询 | 3d今晚开奖号是多少 | 排五近100期开奖号结果 | 今日3d一句定三码最准和值谜 | 三d预测汇总| 3d百位走势图带连线图表专业版 | 3d千禧金码试机号关注码 | 今晚最准的一注3d | 福家杀码王p3 | 福彩3D独胆下期最新分析 | 3d杀码图谜_专区杀码 | 今天3d开机号 和试机号 查询结果 | 福彩3D独胆独家走势 | 今天3d开机号试机号对应码列表 | 3d专家预测最准确今天3d | 今日3d太湖三字谜 | 3d和值25点有哪几注 | 3d字谜汇总大全总汇大全 | 于海滨3d杀码图 | 3d今晚最准三注 | 3d试机号后专家推荐汇总 | 铁人铁胆定位包星 | 3d于海滨专家预测 | 中国福彩3D独胆实时推荐 | 三d的试机号是多少今天 | 3d和值尾振幅走势图彩宝贝 | 千禧试机号关注号金码是什么 | 今天3d开机号 和试机号 查询结果 | 太湖马后炮3d钓叟字谜 | 3d老炮子直选三注 | 今于海滨点评专家一语定胆 | 福彩3D独胆本期命中率 | 3d手机牛彩网专家预测 | 3d最新最准专家预测号码 | 3d今天开机号试机号码查询 | 3d晚秋和值谜彩吧图库 | 3d字字谜图谜总汇 | 3d预测最新最准专家 | 3d下期预测最精准的一注号码 | 7号电池最建议买的三个型号 | 3d今天专家推荐 | 3d爱心角落试后一注 | 今天的3d推荐号码是多少 | 3d百位定位走势图 | 3d开机号近30期列表彩宝网 | 3d专家预测汇总 | 3d彩吧试机号今天最新 | 3d独胆必下一独胆 | 于海滨预测号 | 3d专家预测最准确最新汇总 | 3d专家预测最准今天 | 3D独胆实时必中最新 | 3d计算机开机号夏天推荐 | 3d任意两码差值尾走势图 | 陈华3d今晚赌独一胆天齐网 | 3d今晚专家推荐预测重点号码 | 3d试机号牛彩网近三十期 | 3d今晚惊天一注预测 | 3d免费精准直选三注 | 3d独胆必下 | 3d预测专家最准确的专家预测昨天 | 3d和值牛彩网| 3d最准确最新专家预测 | 十拿九稳专家最新预测 | 3d试机号后专家预测推荐汇总 | 李明启3d预测最新号码 | 今天3d开奖号是多少 | 北斗3d今日预测 | 3d推荐最新最准专家预测 | 3d财神爷今晚独胆 | 于海滨最新3d预测今天 | 最新3d预测专家预测 | 3d牛彩网采摘收集预测汇总 | 廊坊鸿运3d最新预测 | 3d双胆大师 | 3D独胆下期推荐预测最新 | 今天的3d太湖字谜 | 铁娘子三天计划独胆必下300 | 3d专家预测汇总牛彩网 | 3d精准推荐号 | 今日3d太湖字谜三字诀洞庭游侠 | 3d千禧金码试机号关注码 | 今日3d预测号码推荐 | 3d预测最准专家预测 | 3d开心毒胆独胆王 | 3d预测最准最新准专家预测号码 | 3d预测专家最准确的专家预测 | 3d独胆是几 | 今日3d开机号和试机号关注码千禧 | 于海滨海3d杀码图 | 彩宝3d专业走势图 | 今天3d开机号 和试机号 查询结果 | 今日太湖钓叟三字诀字谜 | 3d今晚必中一注 | 3d双飞怎么买多少钱一注 | 于海滨专家3d预测 | 3d今天专家预测号码 | 3d詹天佑最新预测牛彩网 | 3d每期必中27注| 马后炮解3d太湖字谜总汇大全 | 3d最新专家预测推荐 | 小红人的三天计划今天是什么 | 3d预测最准最新准专家预测 | 今天3d太湖字谜三字诀 | 福彩3D独胆老师走势最新 | 3d今晚和值推荐 | 3d双胆大师今天 | 钱王点评十钱王给胆下一期预测 | 3d预测最准最新准专家预测 | 3d北斗专家北斗预测今天079期3d | 3d千禧试机号金码关注最近10期 | 3d最精准的专家预测精选 | 千禧3d试机号关注码金码试机号 | 中国福彩3D独胆独家杀号 | 3d独胆双胆 | 3d开机号今天试机号查询 | 3d单一跨度走势图表 | 3d恋预测今晚预测是哪里出的 | 3d专家预测最新推荐 | 3d试机号开机号关注号金码 | 3d十大专家预测汇总 | 3d独胆预测必下一胆 | 中国福彩3D独胆当天分析 | 3d北斗今日预测 | 3d双胆独胆非常非常稳定 | 3d专家预测号码手机牛彩网 | 今天的3d开机号和试机号查询 | 3d预测最准专家预测 | 今日3d预测号| 3d试机号和开机号牛彩网 | 3d今天开机号和试机号开奖结果 | 于海滨3d最新预测 | 3d今晚试机号牛彩网 | 3d今晚的独胆 | 福彩3D独胆老师必中最新 | 于海滨精准杀码图 | 3D独胆老师命中率 | 3d专家预测最准确今天 | 3d今晚最准专家预测号码 | 3d专家预测今天最新准确号 | 3d杀码图专区,杀码图 | 3d带专业连线走势图 | 3d开奖号历史上的今天 | 3d最准一个独胆方法 | 今天3d开机号 试机号是多少 | 千禧3d试机号金码关注码杀码今天3d | 今晚3d专家预测 | 3d于海滨专家预测 | 3d开机号近30期列表彩宝网 | 3d下期预测最精准的一注号码 | 3d免费专家预测推荐 | 带头大哥3d预测今晚 | 于海滨3d预测免费每日精选 | 3d和值尾振幅走势图50期 | 3d专家预测推荐号最新 | 今日精准预测推荐3d号码 | 太湖试机号后一句定三码3d字谜 | 于海滨点评专家一语保真 | 于海滨3d今晚预测号码 | 3d千禧试机号开机号金码 | 小财神三天计划独胆必下 | 3d之家独胆,双胆 | 千禧今晚3d试机号关注码金码对应 | 3d预测号码最准确专家预测 | 3d双胆中中中 | 3d今天专家预测号码 | 3d今晚上专家推荐号 | 3d预测最准最新准专家预测号码 | 3d直选100%中奖绝技 | 3d今晚开机号试机号金码关注码今天 | 3d字谜图总汇 | 3d独胆预测| 福彩3D独胆本期预测 | 3d百位走势图带连线图表专业版 | 3d最新专家预测精选一注 | 3d独胆双胆 | 太湖三字谜太湖3d钓叟 | 今日3d专家推荐号码 | 3d字谜汇总大全总汇牛彩网开机号 | 3d专家预测最准最新今天 | 3b预测汇总牛彩网 | 排三杀码专家 | 3d今晚预测最新最准确号码牛彩网 | 3d上下五千年专家预测 | 3d北斗专家北斗预测今天079期3d | 今日3d太湖字谜三字诀排三开奖结果 | 3d十大专家精准预测 | 3d必中永久直选500注大底 | 于海滨海3d专家预测今晚一注 | 今晚3d专家推荐号码是多少 | 今晚于海滨海3d预测3d | 3d开心毒胆独胆王 | 最准的3d专家预测 | 专家3d专家推荐 | 钱王杀码图码 | 3d专家今天预测汇总 | 3d开机号和试机号今天全部 | 3d双胆大师 | 3d均值振幅走势图表图 | 推荐一注3d号码 | 3d个位振幅走势图近50期 | 3d开机号,试机号,金码号,对应码100 | 3d预测专家精准推荐 | 开奖结果3d今天晚上 | 3d开奖号走势图表 | 3d十大专家汇总精选一注 | 马后炮解今日太湖字谜三字诀 | 3d开机号和试机号今天 今晚 | 3d预测最准最新准专家预测号码 | 福彩3D独胆下一期必中 | 3d试机号后专家预测推荐汇总 | 3d牛彩网采摘收集预测汇总 | 3d精准预测推荐 | 3d两胆精准预测 | 3d六码组三多少钱一注 | 3d预测专家推荐最准确 | 今晚了3d开奖结果 | 3d专家预测推荐最新 | 3d邻孤传走势图乐彩 | 3d基本走势图综合 | 今日3d开机号和试机号关注码千禧 | 今天3d开机号试机号金码 | 西施姐姐就赌一个独胆 | 于海滨3d预测免费每日精选 | 三d独胆 | 中国福彩3D独胆最新必中 | 今晚3d开奖号是多少 | 3d八哥图库总汇d字谜图谜总汇大全 | 3d今天开机号和试机号码 | 3d湘西胆王今日字谜 | 3d今天专家预测号码 | 3d预测最准专家预测号码 | 马后炮解3d太湖字谜 | 3d今晚专家预测重点号码 | 于海滨3d专家预测 | 于海滨最新3d预测推荐今天 | 千禧金码关注码试机号 | 3d预测詹天佑最新 | 最准3d预测专家推荐号 | 3d直选三注| 3d十大专家推荐号码汇总 | 3d最准专家预测方法 | 3d今晚和值推荐 | 给一注今晚3d | 3d专家预测最准确最新今天 | 三d预测专家最新推荐 | 千禧3d试机号金码关注码码关注码双彩论六个 | 福彩3D独胆大神必中最新 | 3d走势图专家推荐号码 | 3d今天专家推荐号码 | 3d专家詹詹天佑最新推荐 | 3d今晚专家预测最准确号码 | 今日3d字谜一句定三码和值谜定1 | 3d十大专家预测汇总 | 3d精准预测推荐 | 3d最准预测号 | 三d之家独胆 | 3d今晚精选预测一注 | 3d今天开机号和试机号322 | 3d千禧开机号试机号 | 3d预测最准专家预测号码 | 3d今天专家推荐号码推荐 | 今于海滨3d预测今天牛彩网 | 福家杀码王p3 | 3d预测专家精准推荐 | 近30期3d开机号和试机号 | 3d今晚最准专家预测号码 | 3d于海滨上的今天预测 | 3d今日预测最准专家预测 | 3d各路专家预测汇总大全最新 | 3d至尊计划独胆 | 3d上下五千年专家预测 | 3d杀码专家杀码最精准 | 今日3d开奖号太湖字谜总汇 | 今天3d开机号和试机号多少? | 3d今天最准专家预测 | 今晚3d开奖结果是多少 | 3d湘西胆王今日字谜 | 3d今晚预测最新最准确号码牛彩网 | 3d今晚开奖结果号码是 | 中国福彩3D独胆内部走势最新 | 今天3d专家推荐重点号 | 今晚3d专家推荐号 | 福彩3D独胆今晚必中最新 | 福彩3D独胆下期推荐最新 | 福彩3D独胆下期走势最新 | 东北小胆神今晚独胆 | 3d试机号开机号号码今天 | 3d专家预测最准确今天南方双彩网 | 3d断组预测 | 今天3d开机号和试机号多少 | 今天最准3d预测号 | 3d今晚最准一注 | 3d预测今天更准 | 3d专家预测最准确最新今天 | 3d和值和尾走势图带连线图表 | 3d开机号试机号奖号 | 3d独胆必下一个胆 | 3d跨走势图带连线走势图 | 3d北斗专家北斗预测今天079期3d | 3d预测最准的专家预测 | 3d北斗专家北斗预测今天079期3d | 今于海滨3d预测今天 | 3d千禧开机号试机号关注金码对应码 | 3d开机号和试机号金码关注对应码 | 3d推荐号今晚专家预测最准确 | 3d今晚最准确一注 | 3d直选综合走势图表 | 今日3d专家推荐号码 | 钱王点评钱王老头预测 | 3d手机预测牛彩网 | 3d直选一注50倍单挑 | 最准3d预测专家推荐号 | 最准确3d专家预测 | 今日3d开奖号码是多少? | 三d牛彩网开机号试机号是多少 | 3d近500期试机号和开奖号码 | 3d于海滨上的今天预测 | 3d今晚最准最新专家推荐号 | 3d今于海滨杀码图 | 3d最准预测专家推荐 | 今日3d太湖字谜三字诀洞庭游侠 | 3d双胆图| 3d今天专家推荐号码是多少 | 3d预测最准的专家预测 | 千禧3d试机号关注码今天 | 3d图谜总汇字谜 | 3d,胆| 于海滨海3d杀码图 | 3d之家北斗今日预测 | 3d专家最新最准专家预测汇总 | 千禧3d试机号金码关注码杀码今天3d | 马到成功杀两码最新版本更新内容 | 3d小龙一句定三码今日字谜天中图 | 3d最准预测专家推荐 | 3d单选一注能中多少钱 | 龙彩居士3d预测今天最新版 | 3d开机号试机号今天最新50期 | 排3藏机图正版藏机图今天 3d八哥图库总汇d字谜图谜总汇大全 | 个位杀码王| 3d各类和值最新谜字谜今天 | 于海滨海3d预测牛彩网 | 3d专家最新最准专家预测汇总 | 3d今天专家预测最准 | 千禧金码关注码试机号 | 3d最新最准预测号码 | 周星星3d预测手机牛彩网 | 今晚3d开奖结果是多少 | 于海滨海3d专家预测 | 3d今天专家推荐号码 | 今日正版藏机图全部汇总 | 3d预测专家精准推荐 | 3d十位走势图带连线图表专业版 | 3d字谜太湖解字谜 | 3d预测 下一期 3d预测专家 3d预测 | 小胆神玩毒胆我3d | 3d今晚惊天一注预测 | 3d预测 下一期 3d预测专家 3d预测 | 今天3d藏机图正版藏机图藏机图太湖横屏 | 飞向阳光龙头凤尾今天最新消息 | 于海滨专家预测3d两吗 | 3d预测专家最准确的专家预测今晚 | 3d直选一注今天 | 3d预测最准确专家预测 | 3d专家预测号码推荐今天 | 今日3d太湖三字谜 | 今天3d于海滨预测 | 杀码是什么意思 | 3d直选走势图(专业版) | 3D独胆最新分析 | 3d今天试机号开机号关系 | 今日3d太湖字谜三字诀试机号 | 3D独胆最新分析 | 3d千禧试机号开机号对应码关注号 | 3d独胆预测| 3d近15期开奖号码结果 | 于海滨专家一语定胆十每日 | 3d预测最准确专家预测 | 今晚3d试机号开机号 | 3d走势图专家推荐号码 | 3d专家预测推荐号码最准最新 | 3d直选一注必中 | 3d专家推荐最精准的号码 | 北斗3d今日专家预测推荐 | 3d今天专家推荐号码推荐 | 3d预测今日最新推荐 | 3d杀码专家杀码天齐网 | 于海滨3d杀码图145 | 3d预测最准确专家预测 | 3d绝杀一码专家 | 3d今天推荐号码是多少 | 3d藏机图正版藏机图诗汇总 | 牛彩网3d专家预测汇总摘要 | 3d今晚上预测号码 | 今日3d预测号码推荐 | 3d专家最新最准预测 | 今晚开奖号码3d开奖结果 | 牛彩网近30期3d开机号试机号 | 3d太湖字太湖字谜 | 今日3d一句定三码最准和值谜 | 今天的3d开机号试机号 | 3d白娘子跨度字谜汇总今天牛彩网 | 詹天佑3d最新消息今天 | 3d打一个独胆中了多少钱 | 今晚3d专家推荐 | 3d顶级胆神双胆 | 3d今晚最新预测 | 今晚3d预测最准一注 | 3d太湖专家预测今晚 | 今天3d开机号和试机号 | 于海滨海3d专家预测 | 3d和值振幅走势图彩宝贝 | 3d独胆专家推荐独胆 | 3d预测号码最准确专家预测 | 3d预测最准确专家预测 | 今天3d开机号和试机号查询结果彩吧 | 3d杀码十大专家天齐网 | 3d走势图全图表 | 千禧3d试机号金码关注码对应码今晚 | 于海滨杀码图 | 于海滨3d预测牛彩网 | 3d专家预测号码推荐今天 | 于海滨最新3d预测推荐今天 | 今日正版藏机图全部汇总239期 | 3d专家预测最准确今天3d | 3d今天专家推荐号码推荐 | 千禧金码关注码试机号 | 3d小红人三天计划 | 今天3d千禧试机号关注号金码号 | 3d免费专家预测推荐今天最新 | 3d十大专家推荐号码汇总 | 一代女王杀两胆 | 3d今天开机号和试机号牛彩网 | 今晚3d专家推荐 | 3d最准确的专家预测 | 3d预测今晚推荐号 | 3d太湖钓叟字谜三字诀论坛 | 3d走势图带连线图表牛彩网 | 3d字谜历史记录 | 福彩3D独胆独家走势 | 3d试机号今天晚上金码92期 | 3d千禧试机号金码关注码对应码 | 今日3d一注推荐 | 3d最准确的专家预测 | 财神爷三天计划 | 3d开机号试机号码牛彩网 | 牛彩网近30期3d开机号试机号 | 3d最新最准专家预测号码 | 3d今日专家精准推荐号 | 3d最准预测专家推荐 | 3d专家今天预测一注 | 3d预测最准专家预测牛彩网 | 3d预测推荐汇总 | 3d今晚预测直选一注3d一注预测 | 3d专家推荐最精准的号码 | 3d今晚开奖结果走势图 | 福彩3D独胆最新预测 | 3d个位走势图振幅 | 三d便民字谜图谜总汇 | 3d试机号今晚开机号 | 今日3d字谜一句定三码和值谜定1 | 3d精准预测推荐 | 3d字谜今日字谜总汇 | 今天最新3d开机号试机号关注码 | 福彩3D独胆本期推荐 | 3d独胆陈华今晚就赌一个胆 | 3d走势图带连线图表牛彩网 | 97654天中图库,今天晚3d试机号 | 3d看胆精英独胆 | 于海滨3d预测免费每日精选 | 3d预测最新最准专家 | 于海滨3d预测今天 | 3d杀码专家杀码 | 3d今晚专家推荐预测重点号码 | 3d推荐号今晚专家预测 | 今天3d专家推荐重点号 | 3d和值推算公式 | 3d今晚开奖结果号码是 | 3d太湖字谜汇总今天 | 3d开机号和试机号正版彩吧 | 牛彩网3d专家预测汇总 | 福彩3D独胆下一期必中 | 今于海滨3d杀码 | 3d今晚专家预测推荐 | 3d预测专家最准最新 | 3D独胆专家推荐 | 3d最准的独胆, | 今天的3d藏机图正版藏图 | 3d走势图和值振幅 | 3d直选开奖结果 | 3d预测专家准确推荐 | 3d形态预测静态版 | 3d今天专家推荐号码 | 3d于海滨上的今天预测 | 排三十拿九稳今天预测 | 3d预测最准的专家预测 | 3d免费精准直选三注 | 于海滨3d最新预测 | 彩坛老顽童3d独胆 | 3d今天专家推荐号码 | 3d今晚开奖结果号码是 | 今天3d开机号和试机号码是多少 | 中国彩吧更一懂彩民最新版本更新时 | 今天3d开机号和试机号多少 | 3D独胆独家推荐最新 | 3d今天千禧试机号关注号金码 | 詹天佑3d预测今天推荐号码 | 3d专家预测最准确 | 3d精选号码推荐今天最新 | 3D独胆今晚预测 | 3d预测专家最准确的专家预测今晚 | 3d专家预测最准今天 | 于海滨最新3d预测今天 | 今晚3d开奖号码多少 | 3d开机号和试机号金码关注 | 3d中奖情况 | 3d紫云涧专家预测推荐 | 3d牛彩网预测 | 三d预测专家预测今天最新 今于海滨3d预测 | 三天计划3d独胆必出论坛 | 金银胆神金胆银胆的最新消息 | 3d预测专家推荐号码 | 3d选胆图近100期| 福彩3D独胆下期推荐必中 | 三d专家杀码 | 3d今晚最准专家预测号码 | 3d开机号和试机号金码关注 | 太湖字谜三字诀汇总 | 骄子铁鹰解3d字谜今日 | 3d预测专家推荐最准确 | 乾坤三天计划独胆预测 | 3d今天开机号和试机号是多少 | 3d今晚上预测号码 | 3d白娘子跨度字谜汇总今天牛彩网 | 3d独胆王独胆预测 | 钱王老头点评牛彩网 | 今日3d直选一注 | 今日3d太湖字谜每天更新 | 3d精准预测最准的专家直选 | 3d真实的谎言字谜总汇正版 | 3d藏机图天齐正版藏机图 | 中国福彩3D独胆下一期预测最新 | 3d预测号专家预测 | 3d直选综合走势图表图 | 3d解太湖字谜汇总 | 3d千禧试机号金码关注码对应码 | 3d专家预测最准确今天 | 今天3d专家推荐重点号码 | 今天专家推荐号码3d | 3d独胆王定位独胆定位 | 3d家彩预测 | 3d静态版预测静态版 | 今日正版藏机图全部汇总239期 | 3d免费精准直选三注 | 3d牛彩网试机号后专家预测汇总 | 3d精准预测最准的专家 | 3d晚秋和值谜彩吧图库 | 3d今天预测最准确专家 | 两天双胆计划王 | 3d专家今天推荐号码推荐 | 3d预测最准最新准专家预测 | 福彩3D独胆明日精准预测 | 今日詹天佑3d预测分析 | 今天3d开机号和试机号码是多少 | 3d最精准专家预测汇总今天 | 三d开机号和试机号今天牛彩网彩 | 詹天佑3d点评预测 | 最准确3d专家预测 | 3d基本走势图结果 | 3d预测号码 | 于海滨3d免费预测最新的 | 3d今日预测最准专家预测 | 3d精准预测 | 于海滨今天杀码 | 3d单挑今天晚一注500倍 | 今天3d太湖钓叟三字诀字谜 | 3d千禧开机号试机号关注金码 | 3d最准预测专家预测大 | 今日排五专家推荐与预测 | 3d字谜汇总大全总汇牛彩网开机号 | 3d预测号最新最准牛彩网 | 3d专家预测今天最新准确号 | 3d预测最准最新准专家预测 | 3d预测专家推荐最准确 | 3d定胆| 3d预测詹天佑最新 | 3d最准的预测专家 | 开机号试机号3d今天 | 3d预测专家最准确 | 3d 图谜字谜总汇 | 3d财神爷独胆双胆双飞计划三天 | 3d最准一注号码 | 3d红波蓝波走势图大中小 | 3d预测专家推荐最新 | 3d定位独胆王三个双飞 | 3d中间号走势图振幅走势图 | 3d今天专家预测号码 | 3d专家今天预测汇总 | 于海滨3d预测今天 | 3d下期预测最精准的一注号码 | 今天3d试机号开机号牛彩网 | 3d天宇和值谜字谜一句定三码 | 三d今晚预测推荐十注 | 3d 今天 试机号开机号 | 3d太湖一语定胆字谜 | 3d今晚最准专家推荐号码 | 3d今天开机号试机号码查询 | 今日3d十大专家双胆总汇 | 中国福彩3D独胆最新推荐 | 于海滨今日预测号 | 3d预测最准的专家预测 | 3d今晚专家免费预测 | 3d今晚最准三注 | 3d预测今晚最新最准确 | 3d詹天佑3d预测 | 3d太湖字谜总汇总(正版) | 今晚快乐八专家预测推荐号 | 3d之家双胆独胆预测 | 3d千禧试机号开机号对应码关注号 | 3d牛彩网| 三d毒胆预测 | 张克永3d预测今天 | 3d今天开机号和试机号开奖结果 | 3d今晚开奖结果号码是 | 3d北斗专家北斗预测今天079期3d | 3d杀码专家杀码最精准 | 福彩3D独胆下一期推荐 | 3d千禧今晚试机号码 | 3d走势图全图表 | 今天3d专家推荐重点号 | 3d太湖钓叟字谜三字诀 | 3d专家预测最准确最新今晚预测号 | 3d今晚最准专家推荐号码 | 今天三d专家推荐号码 | 3d试机号今晚牛彩网 | 3d预测今晚最准专家预测号码 | 推荐一注3d号码 | 福彩3D独胆本期预测 | 今天3d开机号试机号码 | 3d四码直选多少钱一注 | 3d十大专家预测汇总 | 今日3d字谜太湖钓叟字谜正版 | 陈华3d今晚赌独一胆天齐网 | 3d预测最准确的专家预测软件 | 今日期3d太湖字谜 | 双胆王看双胆3d | 千禧试机号金码关注码的历史记录 | 福彩3D独胆下期推荐预测 | 3d白娘子跨度字谜汇总今天牛彩网 | 3d预测专家推荐号码 | 牛彩网3d专家预测汇总 | 今天3d开机号和试机号多少 | 3d组选中一注多少钱 | 3d牛彩网今天开机号试机号 | 今天3d千禧试机号关注号金码号 | 3d预测专家最准确的专家预测今晚 | 3d开机号和试机号近100期 | 3d今晚专家预测最准确一注 | 专家3d预测汇总 | 于海滨3d今晚预测 | 3d预测号码最准确专家预测 | 今于海滨3d预测今天牛彩网 | 今天的3d开奖号是多少 | 3d孙大财就赌一个胆 | 3d下期预测最精准的一注号码 | 3d十大专家汇总精选一注 | 3d最全晚间字谜汇总大全 | 中国福彩3D独胆今日精准预测 | 3d预测最准最新准专家预测 | 3d今天专家预测最新最准 | 3d专家预测最准确最新汇总 | 今于海滨3d预测今天单线联系 | 3d预测总汇手机牛彩网 | 张克永专家3d预测 | 3d最准确最新专家预测 | 3d今天专家预测号码 | 3d直选走势图(专业版) | 今日3d预测专家推荐 | 3d十大专家汇总精选一注 | 3d今天预测汇总 | 3d陈华今晚就赌一个胆搜索一下 | 3d今天最新最准专家预测最 | 2014年359期3d焰舞字谜 | 最新3d预测专家预测 | 太湖谜3d太湖钓叟字谜 | 最新3d预测专家预测 | 3d预测 下一期 3d预测专家 3d预测 | 3d专家最新最准专家预测汇总 | 预测3d| 3d试机号历史出现情况天齐网 | 詹天佑今天3d推荐 | 3d专家解太湖字谜汇总 | 3d今天试机号和开机号 | 福彩3D独胆下期最新推荐 | 今晚3d试机号开机号金码号 | 3d定胆 | 3d预测最准确的专家 | 老炮子3d直选三注 | 3d专家预测最准确今天南方双彩网 | 3d专家预测汇总牛彩网 | 太湖3d字谜三字诀 | 3d预测号最新最准牛彩网 | 3d北斗专家北斗预测今天079期3d | 今天3d开机号和试机号对应金码 | 3d于海滨上的今天预测保真 | 3d今天最新最准专家预测最 | 排五开机号试机号今天查询 | 3d晶晶必下一独胆今天 | 3d预测今晚最准专家预测号码 | 3d独胆专家预测 | 3d今晚开奖号码结果是多少 | 3d试机号历史出现情况天齐网 | 千禧3d试机号关注码金码列表 | 今天3d试机号开机号是什么 | 3d专家最新最准今天预测 | 3d专家今天预测一注 | 3d精准预测最准的专家 | 中国福彩3D独胆本期命中率 | 3d最准确的预测方法 | 3d独胆专家推荐独胆 | 于海滨专家预测3d | 3d跨度分位走势图图感觉 | 3d今晚专家预测最准确一注 | 一代女王决杀两胆免费观看 | 3d最准专家预测方法 | 3d专家詹詹天佑最新推荐 | 3d和值基本走势图 | 3d今晚专家推荐号 | 3d今晚最新预测 | 3d专家预测最准确今天 | 千禧3d试机号金码关注码杀码今天3d | 3d钱王点评 | 3d太湖字谜总汇大全 每天更新 | 3d今晚最准最新专家推荐号 | 3d牛彩网100期开机号和试机号 | 千禧今晚3d试机号关注码金码 | 张克永3d预测今天 | 明天的3d太湖字谜 | 今日3d直选 | 今天晚上三d开奖结果 | 天齐网3d必中两胆今天 | 今日3d开奖号太湖字谜总汇 | 3d开机号试机号奖号 | 中国福彩3D独胆下期最新分析 | 专家预测3d号码准确 | 3d单一跨度走势图表 | 今天3d字谜解太湖字谜 | 今日精准预测推荐3d号码 | 3d独胆双胆下一 | 3d专家预测最准确今天南方双彩网 | 3d陈华今晚就赌一个胆搜索一下 | 今晚3d开机号试机号金码 | 今日3d预测号码推荐 | 3d金码开机号和试机号 | 今天3d牛彩网专家预测 | 3d毒毒毒胆胆胆中中中 | 布衣杀码图3d杀码 | 3d今晚推荐号码最新 | 排三杀码想要 | 3D独胆今晚命中率最新 | 3d今天专家推荐号码是多少 | 3d最准确最新专家预测 | 今晚3d专家预测精选一注 | 3d毒胆双胆三胆 | 3d直选走势图(专业版) | 三d预测最准十专家预测今晚 | 3d专家预测最准最新 | 3d恋预测今晚预测是哪里出的 | 3d紫云涧专家预测推荐 | 3d最精准专家预测汇总今天 | 三天计划3d独胆论坛 | 3d今晚预测 | 3d今晚和值推荐 | 3d财神爷今晚独胆 | 3d直选三注必中免费 | 3d今天专家预测最准确 | 3d最准确的预测方法 | 3d廊坊鸿运精选号码推荐 | 3d专家推荐预测号 | 3d推荐号今晚专家预测最准确 | 3d今天开机号和试机号232 | 福彩3D独胆专家杀号 | 千禧试机号金码关注码的历史记录 | 3d走势图带试机号彩宝网 | 3d预测专家推荐号码 | 于海滨3d最新预测 | 3d试机号后专家预测推荐汇总 | 3d全球哥三胆 | 3d开机号试机号关注号金码对应码 | 3d专家预测于海滨 | 于海滨今天杀码3d | 中国杀码王 | 3d试机号今晚开机号 | 3d独胆必下一个胆 | 3d今天专家推荐号码 | 3d开机号试机号近100期开奖号码 | 3d陈华今晚就赌一胆天齐网 | 北斗3d今日预测 | 今天的3d开机号试机号 | 准香港3d漫画资料 | 专家彩宝贝预测汇总 | 今晚的3d试机号是多少 | 3d天宇和值谜字谜 | 今天3d太湖钓叟三字诀字谜 | 专家预测3d号码准确 | 3d预测今晚最准专家预测号码 | 3d今晚专家预测推荐号 | 今晚3d专家预测精选一注 | 3d推荐牛彩网 | 3d今晚预测最准确一注 | 最准3d预测专家推荐号 | 给一注今晚3d | 太湖解太湖3d字谜 | 3d研究生双胆王 | 今晚3d专家推荐号码是多少 | 三d五码复式打一注多少钱啊 | 今日精准预测推荐3d号码 | 3d开机号近30期列表彩宝网 | 今天3d正版太湖字谜 | 3d预测一注号推荐 | 今日焰舞3d焰舞字谜汇总大全 | 3d最新基本走势图表 | 3d近300期试机号和开奖号码 | 2014年359期3d焰舞字谜 | 于海滨海3d专家预测今天 | 福彩3D独胆独家预测最新 | 3d于海滨专家预测 | 3d专家预测最准最新今天 | 3d精准预测最准的专家直选 | 3d预测专家最准确的专家预测 | 3d最准确预测100%一注 | 3d海滨点评一语定胆今天最新推荐 | 3d今晚预测直选一注 | 今晚3d试机号开机号金码号 | 3d开机号近30期列表彩宝网 | 3d最准预测号 | 3d试机号后专家预测汇总 | 专家预测3d号码准确 | 今晚3d开奖号是多少 | 3d和值专家推荐和值 | 3d今晚上专家推荐号 | 詹天佑今日最新点评 | 3d谜语今天字谜今天的3d字谜是什么? | 3d百位定位走势图 | 3d精选号码推荐今天最新 | 詹天佑今天3d推荐 | 3d牛彩网专家预测 | 今天3d开机号和试机号全部 | 3d预测专家推荐号码 | 3d专家杀码天中图库 | 3d独胆之家 | 小红孩3d独胆今天 | 3d千禧开机号和试机号码 | 3d预测今晚推荐号 | 排3太湖钓叟字谜三字诀 | 毒胆牛人三天计划必出 | 今日3d一句定三码最准和值谜 | 3d今天走势图表 | 3d预测专家最准确的专家预测今晚 | 3d预测最新最准3d之家 | 3d 今日太湖字谜 | 3d千禧开机号试机号关注金码对应码 | 排三平均值振幅走势图3d之家 | 3d今天最新最准专家预测最 | 3d试机号开机号今天金码关注 | 财神爷三天计划 | 3d综合走势图直选 | 3d杀码专家大全 | 3d预测牛彩网 | 今天的3d开机号试机号 | 3d今晚专家预测最准确一注 | 小薇3d预测今天推荐 | 3d于海滨预测预测牛彩网 | 3d专家预测最准确今天南方双彩网 | 2009年浙江风采3d走势图 | 福彩3D独胆团队分析最新 | 3d独胆专家预测 | 中国福彩3D独胆本期命中率 | 3d专家预测最新推荐 | 3d杀码图汇总牛彩网 | 3d专家号 | 北斗3d今日专家预测推荐 | 今天十拿九稳号码预测 | 千禧3d今天的试机号 | 3d专家预测独胆最准确 | 3d紫云涧专家预测推荐 | 今日3d开机号和试机号关注码千禧 | 3d基本走势图(专业版)近200期 | 3d今天开机号试机号100期 | 排三十拿九稳今天预测 | 3d开奖必中 | 3d推荐号今日预测 | 3d今晚中奖号是多少 | 3d今晚试机号是多少查询 | 3d最精准专家预测汇总今天 | 3d专家杀码天中图库 | 3d预测号最新最准牛彩网 | 3d今日专家推荐 | 3d开机号和试机号今天全部 | 3d预测专家最准确的专家预测今晚 | 今日3d正版藏机图 | 今天3d金码试机号对应码开机号 | 3d今晚专家预测推荐 | 3预测,3d专家预测,最准确今天彩网 | 3d专家推荐号码 | 3d开机号和试机号今天千禧 | 3d今于海滨杀码图 | 3d十大专家汇总精选一注 | 千禧3d今天的试机号 | 3d预测詹天佑最新 | 2025315期3d开奖结果 | 于海滨专家预测3d | 3d今天的试机号开机号是多少 | 3d廊坊鸿运精选号码推荐 | 三d走势图基本走势图彩宝网 | 铁人铁胆3d包星定位最新今天 | 3D独胆下期推荐走势最新 | 詹天佑3d今晚预测号码 | 千禧开机号和试机号对应金码 | 今日3d一句定三码和值谜食物全部 | 3d预测最准的专家预测 | 詹天佑今天3d推荐 | 3d专家预测最准确今天 | 3d直选开奖结果 | 3d双飞大师双胆组合 | 3d今晚专家推荐预测重点号码 | 排三杀码专家定位杀码天齐网 | 3d牛彩网今天开机号试机号 | 拼搏在线3d开机号和试机号列表 | 今天3d开机号 试机号是多少 | 牛彩网3d专家预测汇总 | 3d预测最准专家预测号 | 至尊计划王三天计划独胆 | 3d必中直选 | 3d专家预测最准最新今天 | 于海滨专家3d今天预测 | 3d最新专家预测汇总大全 | 3d推荐号今晚专家预测 | 3d十大专家推荐号码汇总 | 3d预测最准专家预测牛彩网 | 3d上下五千年专家预测 | 3d综合走势图直选 | 3d最新最准专家预测号码 | 3d今天专家推荐号码推荐 | 3d最大值振幅走势图遗漏 | 福彩3D独胆下期推荐精准预测 | 3d专家专家预测汇总 | 55125预测汇总3d| 今晚3d预测推荐一注 | 今天3d开机号试机号金码 | 3d今晚最准专家推荐号码 | 3d彩宝贝试机号今天最新 | 3d最准确的专家预测 | 于海滨海3d专家杀码 | 3d专家最新最准今天预测 | 小林3d预测| 今晚3d太湖字谜 | 3d预测最准最新准专家预测号码 | 小红孩3d独胆今天 | 3d专家预测推荐号码 | 今于海滨3d杀码 | 3d今天专家预测号码最准确 | 3d今晚上专家推荐号 | 3d藏机图正版藏机图汇总今天最新图片 | 3d藏机图正版藏机图全图牛彩网 | 3d专家预测最新最准推荐 | 今日正版3d藏机图全部汇总 | 3d最准的预测专家 | 3d最精准专家预测汇总今天 | 3d预测最准确专家预测 | 3d预测最准专家 | 3d今日专家推荐号 | 3d太湖钓叟三字诀字谜汇总 | 3d今晚专家推荐号 | 3d陈华今晚独胆推荐 | 3d今晚预测最准确一注今天 | 3d今晚最精准专家 | 3d今晚最准专家预测号码 | 福彩3D独胆下期推荐最新 | 3d百十和尾振幅走势图走势 | 独胆三天计划 | 3d精准预测最准的专家直选 | 3d今天专家预测推荐号码 | 3d藏机图正版藏机图诗汇总 | p3故事小王双胆下一今天 | 3d预测号码最准最新准专家预测号 | 3d预测专家精准推荐 | 福彩3D独胆明日精准预测 | 最新3d预测专家预测 | 3d农村小伙子最新预测 | 排5预测,最准排五专家 | 3d最准专家预测方法 | 今晚3d预测最准一注 | 3d专家预测最准双胆 | 福彩3D独胆老师杀号最新 | 3d杀码大全 | 今晚3d专家预测精选一注 | 财神一语定一注3d字谜 | 3d专家杀码 | 3d预测最准专家预测 | 三d今晚预测推荐十注 | 布衣3d独胆双胆王 | 3d北斗专家北斗预测今天079期3d | 今日钱王给胆点评 | 3d专家推荐预测号 | 十拿九稳专家预测专栏 | 3d今天专家推荐号码推荐 | 3d最准预测号 | 3d预测最准最新准专家预测号码 | 3d专家预测精选一注 | 3d专家今天预测一注 | 福彩3D独胆大神必中最新 | 今晚了3d开奖结果 | 3d就打一个胆中了多少钱 | 3d预测专家精准推荐 | 3d今晚惊天一注预测 | 3d十大专家双胆预测汇总 | 于海滨今天杀码3d | 今天3d推荐号码今晚预测 | 3d专家最新最准专家预测 | 今天3d詹天佑预测分析 | 今天3d开机号 试机号是多少 | 《天才计划》三天计划独胆3d | 3d专家预测最准确最新今晚预测号 | 3d千禧金码试机号关注码开奖号 | 无敌胆王今日双胆 | 玩彩独胆王三天计划 | 3d今晚专家预测推荐 | 3d今天开机号试机号码查询 | 3d今晚预测最新最准确号码牛彩网 | 唐龙一胆今天最新 | 3d试机号历史出现情况天齐网 | 3d百位遗漏振幅走势图南方双彩网 | 3d千禧试机号金码关注最近10期 | 于海滨杀码图天齐网 | 3d今晚开奖号码结果是多少 | 詹天佑3d最新预测今天 | 今天3d开机号,试机号是多少 | 三地百位振幅3d之家走势图 | 太湖钓叟三字诀字谜更新 | 排三专家推荐与预测今天 | 齐彩网3d专家预测 | 3d太湖钓叟字谜三字诀了3d开奖 | 3d孙大财就赌一个胆 | 3d今天预测最准确专家 | 3d预测詹天佑最新 | 3d最准专家预测方法 | 3d钱王老头给胆点评 | 正版真精华布衣天下今天推荐号码 | 3d十大专家推荐号码汇总 | 3d专家预测今天最新准确号 | 排五开机号试机号今天查询 | 福彩3D独胆下期最新分析 | 3d独胆专家推荐独胆 | 3d最准专家预测号今晚3d试机号 | 3d今晚预测准确的专家预测 | 3d专家推荐最新预测 | 牛彩网3d专家预测汇总 | 3d今天专家预测最准确 | 今晚3d预测最准一注 | 3d开心毒胆独胆王 | 3d今天的开机号和试机号查询 | 3d专家预测号码最准确 | 3d走势图专家推荐号码 | 3d专家预测号 | 3d预测专家推荐最准确 | 3d预测詹天佑最新 | 3d白娘子跨度字谜汇总今天牛彩网 | 3d今晚开奖号多少 | 于海滨海3d专家预测 | 3d晚秋和值谜字谜图 | 今天晚上3d推荐号码 | 3d今天的开机号和试机号查询 | 3d开奖号码结果 今晚 | 3d必下双胆 | 3d今晚出的什么号 | 3d预测汇总| 3d今晚专家推荐号 | 7号电池最建议买的三个型号 | 3d直选三注| 铁人铁胆定位包星 | 3d推荐号今晚专家预测最准确 | 于海滨3d预测免费 | 3d基本走势图表新浪网 | 3d中间值振幅走势图之家 | 3d预测推荐汇总 | 3d今天专家推荐号码推荐 | 周星星3d预测手机牛彩网 | 3d千禧开机号试机号关注金码 | 3d专家预测最准确最新今天 | 3d今天专家推荐号码 | 于海滨海3d专家预测今晚一注 | 万能三码的使用方法 | 3d预测专家最准确 | 今晚3d最准专家预测号 | 3d今晚专家预测 | 3d彩报图今天的第五版 | 3D独胆明日推荐最新 | 3d开机号和试机号30期列表 | 55125预测汇总3d | 3d预测最准的专家预测 | 3d之家预测专家预测 | 千禧3d开机号试机号金码 | 3d专家预测最准确最新今天牛彩 | 3d预测最准最新准专家预测 | 3d开机号,试机号,金码号,对应码100 | 财神爷三天计划必下更新 | 于海滨的今日预测 | 3d紫云涧专家预测推荐 | 3d独胆双胆预测推荐 | 太湖钓叟3d字谜太湖字 | 今日3d直选| 3d今天最准专家预测 | 太湖马后炮3d钓叟字谜 | 千禧3d试机号关注码金码列表 | 3d北斗专家北斗预测今天079期3d | 今天3d太湖字谜三字诀 | 3d预测最准专家预测 | 千禧之年3d开机号试机号金码关注 | 于海滨3d预测天齐网 | 3d 试 机 号今晚 | 今天3d詹天佑预测分析 | 解太湖3d字谜太湖 | 3d今晚最准一注 | 3d今晚专家预测 | 3d百十个位杀码家彩网 | 最新3d预测专家预测 | 3d计算公式 | 3d今天专家预测号码最准确 | 3d跨度振幅近100期走势 | 3d所有走势图 | 金银胆神金胆银胆的最新消息 | 3d彩吧图库44462 | 3d走势图基本走势图表 | 3D独胆实时推荐 | 3d开机号试机号近100期开奖号码 | 给一注今晚3d | 于海滨一语定胆天齐网 | 3d字谜汇总大全总汇牛彩网开机号 | 牛彩网3d预测汇总大全手机版下载 | 3d于海滨上的今天预测保真 | 3d今晚专家推荐预测重点号码 | 3d最准确预测专家 | 3d2025322期太湖字谜 | 十大专家3d预测汇总 | 最准3d预测专家推荐号 | 3d免费预测 | 3d今晚专家预测最准确号码 | 3d字谜总汇今日3d字谜总汇牛彩网 | 3d之家独胆,双胆 | 3d预测专家最准确的专家预测昨天 | 十拿九稳预测专家分析 | 3d预测专家推荐最准确 | 3d十大专家杀一码汇总 | 3d专家预测最准确最新汇总对应码 | 3d精准预测专家预测 | 3d专家免费预测 | 3d万能三码中奖秘诀 | 3d预测总汇| 3d专家预测最新最准推荐 | 3d预测最准专家预测牛彩网 | 3d预测今日最新推荐 | 3d下期预测最精准的一注号码 | 3d最新最准专家预预测 | 3d预测 下一期 3d预测专家 3d预测 | 3d直选综合走势图表图 | 3d预测最准确的专家预测软件 | 中国福彩3D独胆下期最新分析 | 太湖字谜三字诀论坛 | 今日3d最准开机号 | 3d计算机开机号夏天推荐 | 3d于海滨上的今天预测 | 3d今日开机号和试机号及关注码 | 杀码3d杀码图 | 3d近50期开奖号码 | 詹天佑3d最新消息今天 | 十拿九稳预测专家分析 | 飞向阳光龙头凤尾今天最新消息 | 中国福彩3D独胆当天精准预测最新 | 3d开机号和试机号30期列表 | 3d号码预测和推荐号今天 | 3d独胆专家推荐独胆 | 3d精准预测最准的专家直选 | 3d必出规律胆 | 3d预测专家最准确的专家预测今晚 | 3D独胆实时推荐 | 3d跨度公式98准确率 | 3d最精准的专家预测精选 | 3d预测今晚最准专家预测号码 | 3d条件预测专区牛彩网 | 今天3d试机号开机号牛彩网 | 今晚3d出的什么号 | 3d杀码高手 | 3d陈华今晚就赌一胆今天最新消息 | 专家预测3d号码准确 | 詹天佑今天3d推荐 | 孟老师专家预测3d | 3d独胆必下一独胆 | 今天3d开机号试机号金码 | 3d长中剑客预测今天 | 3d今晚开奖结果走势图 | 3d预测最准专家预测号 | 3d专家预测最准确最新新闻 | 3d十大专家双胆预测汇总 | 3d今天预测最准确专家 | 3d预测今天最准预测号 | 3d开机号和试机号金码关注 | 3d晚间字谜总汇大全 | 3d近30期开机号试机号牛彩网 | 今日3d专家预测号码推荐 | 3d预测最新最准专家 | 3d今晚最准最新专家推荐号 | 3d专家预测号码推荐今天 | 3d今天开机号和试机号码 | 3d下期预测最精准的一注号码 | 3d专家预测最准确最新新闻 | 3d预测专家推荐号码 | 3d今晚必出号预测 | 牛彩网3d预测汇总大全手机版下载 | 今晚3d开奖号是多少 | 李明启3d今晚预测专栏 | 3d预测最准专家预测牛彩网 | 今天三d专家推荐号码 | 3d最新专家预测汇总 | 3d字太湖叟字谜 | 3d最新最准预测号码 | 专家彩宝贝预测汇总 | 天才计划三天计划独胆 | 3d今天专家推荐号码 | 3d今天最新最准专家预测最 | 3d藏机诗藏机图天中图库 | 3d跨走势图带连线走势图 | 3D独胆下期推荐预测最新 | 天天彩于海滨海3d最新预测 | 3d独胆之家 | 3d詹天佑推荐号 | 詹天佑3d今晚预测号码 | 3d预测一注号推荐今晚 | 福彩3D独胆大神精准预测最新 | 3d今晚预测精准 | 3d今天专家推荐号码推荐 | 3d字谜太湖钓叟三字诀17500 | 3d今晚专家预测推荐 | 3d今天开机号和试机号金码对应码 | 今日精准预测推荐3d号码 | 彩宝贝十大专家杀蓝号 | 于海滨今日杀码图最新 | 3d今天专家预测最准确 | 今晚三d推荐什么号码 | 3d最大值振幅走势图遗漏 | 3d最准确最新专家预测 | 3d和值尾走势图(专业版) | 3d于海滨一语定胆《保真》 | 3d紫云涧专家预测推荐 | 今天的3d太湖字谜图 | 3d百位走势图带连线图表专业版 | 3d太湖钓叟字谜三字诀 | 3d 今日太湖字谜 | 于海滨预测3d | 今日3d字谜太湖钓叟字谜 | 唐龙点评每日一胆龙 | 3d今日预测最准专家预测 | 今天3d开机号和试机号码结果查询 | 3d藏机图正版藏图汇总大全 | 3d独胆预测| 3d预测专家推荐最准确 | 三d之家独胆 | 千禧3d试机号金码关注码对应码 | 今晚必中一注i | 詹天佑3d今天预测分析 | 今天3d千禧试机号关注号金码号 | 3d预测最准专家预测牛彩网 | 3d今晚预测直选一注 | 3d于海滨杀码图 | 3d今晚专家预测推荐号 | 3d今晚专家推荐预测重点号码 | 3d专家预测最准最新 | 3d今晚和值推荐 | 3d预测号码最准最新准专家预测号 | 今天3d开奖号是多少 | 3d预测最准确专家预测牛彩网 | 今日3d预测 | 3d开机号和试机号今天千禧 | 千禧3d试机号关注码今天 | 3d玩彩老头预测今天号码 | 3d今晚专家预测重点号码 | 3d双胆预测3d双胆下3d 双胆推荐 | 北斗3d今日专家预测推荐 | 55125预测汇总3d | 今于海滨一语定胆保真今天 | 3d专家预测最准确最新推荐号码 | 3d李明启预测号 | 3d精准推荐号| 今日3d太湖字谜三字诀洞庭游侠 | 3d今日开机号和试机号及关注码 | 3d杀码图汇总 | 唐龙点评每日一胆龙 | 3d今晚必出一注100%准确直选推荐 | 3d预测最准最新准专家预测 | 3d圣手字谜图谜 | 3d今晚最准最新专家推荐号 | 3d焰舞和值谜字谜 | 3d字谜解太湖字谜 | 3d百个和值尾振幅走势图 | 3d十大专家独胆 | 3d开机号和试机号今天 今晚 | 3d阴阳走势图表图 | 助赢计划软件免费版下载安装 | 小财神三天计划独胆必下 | 3d和值尾振幅走势图200期 | 3d专家今天预测汇总 | 3d推荐号今日预测 | 3d专家预测最准确最新今晚预测号 | 今于海滨最新预测今天 | 今天的3d开机号试机号 | 专家预测3d号码准确 | 詹天佑3d今日预测 | 三d之家独胆 | 3d和值尾振幅走势图彩宝贝 | 今晚于海滨海3d预测3d | 3d和值尾振幅走势图近100期 | 3d试机号近10期彩经网 | 于海滨一语定胆天齐网 | 今天3d字谜解太湖字谜 | 3d彩宝网开机号和试机号 | 3d最准确预测专家 | 今日3d开奖号太湖字谜总汇 | 3d手机预测牛彩网 | 于海滨杀码今天最新版 | 3d詹天佑最新预测今天 | 3d今天最准专家预测 | 3d千禧试机号金码关注最近10期 | 今晚3d必出号 | 3d今晚专家预测推荐号 | 百位振幅走势图3d之家 | 3d专家预测最准最新今天 | 3d詹天佑预测汇总 | 3D独胆团队命中率最新 | 3d杀码专家杀码天齐网 | 3d专家推荐号 | 于海滨海3d预测牛彩网 | 3d专家今日推荐号码 | 3d定胆王独胆定位 | 今天3d开机号和试机号金码 | 3d至尊计划独胆 | 3d推荐号今晚专家预测 | 天天彩于海滨海3d最新预测 | 太湖钓叟排三字诀字谜 | 3d今日正版藏机图最新更新内容 | 3d推荐最新最准专家预测 | 太湖字谜钓叟3d字谜 | 3d今晚预测一注 | 3d独胆必下一个胆 | 今天晚上3d开奖结果 | 3d千禧试机号关注码金码今天晚 | 千禧3试机号金码关注码金码 | 3d今晚最准最新专家推荐号 | 3d下期预测最精准的一注号码 | 3d盐都三胆家彩网 | 3d跨走势图带连线走势图 | 3d预测专家精准推荐号 | 千禧开机号和试机号对应金码 | 最准确3d专家预测 | 3d最准预测专家预测大 | 3d十大专家汇总精选一注 | 今天最新3d开机号试机号关注码 | 3d专家预测最新最准推荐 | 6+1专家预测号 | 3d跨度遗漏值振幅走势图彩经网 | 3d今晚预测最准确一注今天 | 3d独胆双胆 | 今于海滨3d预测今天牛彩网 | 3d开机号和试机号正版彩吧 | 3d预测专家最准确的专家预测今晚 | 3d最精准专家预测汇总今天 | 3d今晚试机号开奖号 | 3d今晚预测3d更准 | 3d试机号开机号今天查询排五 | 3d开机号和试机号近100期 | 3d今晚精准推荐一注 | 3d直选100%中奖绝技 | 毒牛人三天计划 | 3d十大专家推荐号码汇总 | 3d今天晚上的开奖号码 | 3d独胆必下一独胆3d独胆预测 | 3d走势图基本走势 | 3d牛彩网字谜图谜汇总九 | 千禧3d试机号关注码今天 | 3d太湖字谜今天 | 今天3d千禧试机号关注号金码号 | 3d十大专家精准预测 | 今天3d开机号,试机号是多少 | 3d今晚预测最新最准确号码牛彩网 | 3d廊坊鸿运 | 3d专家预测推荐汇总 | 3d今晚最准一注 | 3d今天开机号试机号码查询 | 3d今晚开出什么号码 | 于海滨海3d专家预测今天 | 3d彩宝网开机号和试机号 | 太湖试机号后一句定三码3d字谜 | 3d武当玉女掌门一句定三码字谜 | 今天3d正版太湖字谜 | 3d晚秋和值谜字谜图 | 3d开机号和试机号正版彩吧 | 太湖3d字谜图谜总汇 | 3d今日专家推荐 | 3d专家预测于海滨 | 3d试机号近30期牛彩网 | 徐文轩3d预测推荐 | 3d预测最准确专家预测 | 今天3d专家推荐号 | 马到成功杀两码最新版本更新内容 | 3d专家预测最准今天 | 3d之家双胆独胆预测 | 3d正版藏机图总汇全图 | 3d今晚最准最新专家推荐号 | 3d海滨点评一语定胆今天最新推荐 | 今天3d于海滨预测 | 排三专家推荐与预测今天 | 3d开机号和试机号金码关注 | 3d专家预测推荐号码 | 今晚3d推荐号 | 3d专家预测最准最新今天 | 3d晶晶必下一独胆今天 | 3d徐文轩今晚推荐号码 | 3d开机号和试机号今天金码0 | 龙头凤尾最准确预测 | 3d开机号和试机号金码和关注码 | 3d万能四码走势图表 | 3d今晚预测最新最准确 | 3d和值尾振幅走势图50期 | 3d预测一注号推荐一3d预测一注今天 | 中国福彩3D独胆内部走势最新 | 今天晚上3d开奖结果 | 今晚3d之家| 3d金码开机号和试机号 | 3d之家北斗今日预测 | 3d今晚预测最新最准确号码牛彩网 | 3d孔方来萃解太湖字谜 | 3d单一跨度走势图表 | 乾坤三天计划独胆预测 | 今日3d专家预测号码推荐 | 今晚精准一注3d | 3d今天出的什么号 | 于海滨3d免费预测 | 3d万能三码共有几注 | 3d专家预测推荐最新 | 3d最准确的专家预测 | 马后炮解3d太湖字谜总汇大全 | 今晚3d专家预测精选一注 | 太湖3d字谜图谜总汇 | 3d预测最新最准专家 | 3d开奖杀码定胆 | 3d今天开机号和试机号码 | 于海滨海3d专家预测今天 | 3d今晚最准最新专家推荐号 | 3d专家预测最准最新今天 | 3d百十个位杀码家彩网 | 3d最新最准预测号码今天 | 3d图库彩吧彩报第三版 | 3d直选一注预测 | 3d专家预测汇总牛彩网 | 3d今晚专家预测重点号码 | 中国福彩3D独胆独家必中最新 | 3d十大专家推荐号码汇总 | 詹天佑3d预测今天推荐号码 | 3d跨度振幅走势图3d专家 | 3d预测今晚推荐号 | 3d十大专家推荐号码汇总 | 3d试机号后专家推荐汇总 | 今日期3d太湖字谜 | 今天3d开机号和试机号 | 3d和值专家推荐和值 | 今天3d开机号和试机号牛彩网 | 3d和尾振幅走势图3d专家 | 3d今晚惊天一注预测 | 十拿九稳预测专家分析 | 3d十大专家推荐号码汇总 | 3d杀码一定牛 | 3d直选走势图(专业版) | 3d今天开机号和试机号码 | 太湖试机号后一句定三码3d字谜 | 钱多多3d百位定独胆 | 3d走势图的基本走势图 | 3d于海滨上的今天预测 | 3d图谜字谜总汇 | 3d今天专家预测号码 | 3d每天都有开奖吗 | 3d专家预测推荐最新 | 今晚3d预测总汇 | 中国福彩3D独胆今日走势最新 | 3d专家最新最准专家预测汇总 | 3d往年历史今天开奖结果 | 无敌胆王今日双胆 | 太湖马后炮3d钓叟字谜 | 今于海滨3d预测今天牛彩网 | 3d最新专家预测精选一注 | 3d预测专家最准确的专家预测 | 3d预测图 | 中国福彩3D独胆实时推荐 | 3d精选号码推荐今天最新 | 三d独胆| 3d双胆预测 | 毒胆牛人三天计划 | 3d今天专家预测推荐号码 | 3d千禧开机号试机号 | 3d专家预测最准确今天南方双彩网 | 3d今天推荐号码是多少 | 3d预测专家推荐 | 历史3d开奖结果 | 宇海宾杀码图 | 3预测,3d专家预测,最准确今天彩网 | 于海滨一语定胆天齐网 | 3d太湖钓叟三字诀字谜汇总 | 3d解太湖字谜汇总精选 | 3d今天的试机号和开机号 | 排三十拿九稳今天预测 | 于海滨3d预测今天 | 千禧3d试机号金码关注码杀码今天3d | 3d预测专家精准推荐号 | 3d天宇和值谜字谜一句定三码 | 三d今日预测 | 3d四码直选多少钱一注 | 今日精准预测推荐3d号码 | 3d最新最准专家预测号码 | 3d十个位差值振幅走势图3d之家 | 3d走势图带连线图表 | 3D独胆高手走势最新 | 今天3d开机号和试机号对应金码 | 3d中间号走势图振幅走势图 | 3d三胆 | 3d詹天佑最新预测 | 于海滨一语点评今日 | 3d预测最准的专家预测 | 3d神仙姐姐独胆一个 | 三d预测专家最新推荐 | 3d试机号开机号今天金码关注 | 3d今天开机号试机号对应码关注码 | 3d于海滨上的今天预测保真 | 3d于海滨上的今天杀码 | 3d直选走势图(专业版) | 3d中国准神双胆 | 3d今天的开机号和试机号查询 | 3d牛彩网今天开机号试机号 | 六鬼神算图3d谜图 | 3d专家詹詹天佑最新推荐 | 3d试机号今天开机号查询结果 | 3d今晚预测最新最准确 | 今天3d专家预测号码 推荐 | 三d便民字谜图谜总汇 | 今日3d藏机图正版藏机图134 | 三d预测专家预测 | 3d小差振幅走势图表图 | 3d北斗今日预测 | 3d预测最新最准3d之家 | 3d最准确预测100%一注 | 太湖字谜太湖钓叟三字诀 | 3D独胆团队精准预测最新 | 3d钱王点评| 3d今晚最准专家预测号码145 | 3d太湖钓叟字谜三字 | 3d和值宫数线走势图 | 3d开机号和试机号金码关注 | 3d今晚预测准确的专家预测 | 詹天佑3d点评预测 | 3d今晚最准最新专家推荐号 | 3d必下双胆 | 3d推荐号今晚专家预测最准确 | 3d太湖字谜三字诀 | 3d试机号历史情况 | 今天3d推荐号码今晚预测 | 3d字太湖叟字谜 | 福彩3D独胆今日走势最新 | 3d字谜历史记录 | 3d直选一注50倍单挑 | 千禧开机号和试机号对应金码 | 今晚3d开奖直选结果 | 3d六码复式多少钱一注 | 3d今晚预测直选一注3d一注预测 | 今天3d专家推荐号 | 今日3d十大专家双胆总汇 | 3d鸿运坊预测号 | 3d专家预测最准确最新今天 | 3d预测号最新最准牛彩网 | 3d最准确预测100%一注 | 排三太湖钓叟字谜三字诀 | 3d试机号开机号今天金码关注 | 今天十拿九稳号码预测 | 3d专家预测最准确最新今天牛彩 | 3d和尾振幅走势图3d专家 | 3d最精准专家预测汇总今天 | 试机号开机号金码关注号对应码3d | 今日正版藏机图全部汇总239期 | 3d千禧试机号金码关注码对应码 | 3d精准预测最准的专家直选 | 3d十大专家预测汇总 | 3d于海滨上的今天预测保真 | 3d预测今晚最新最准确 | 今天3d太湖钓叟三字诀字谜 | 今天3d牛彩网专家预测 | 陈华3d独胆推荐 | 3d直选综合走势图表 | 今天3d试机号开机号是什么 | 3d断组今晚全部 | 3d今晚最准一注 | 3d双胆预测3d双胆下3d 双胆推荐 | 3d詹天佑最新预测 | 2014年359期3d焰舞字谜 | 3d和值尾振幅走势图50期 | 3d和值尾金木水火土走势图 | 3d百位走势图带连线图表专业版 | 3d开机号和试机号今天查询 | 3d小胆神独胆今天 | 今日3d字谜太湖钓叟字谜 | 3d预测号码最准最新推荐 | 3d十大专家汇总精选一注 | 3d藏机图正版藏机图太湖字谜 | 3d今天开机号试机号码查询 | 3d开心毒胆独胆王 | 3d今天开机号和试机号是多少 | 3d预测最准专家预测牛彩网 | 今天的3d开机号和试机号查询 | 辉煌看胆双胆3d | 3d推荐号今晚专家预测 | 3d十大专家精准预测汇总 | 3d双胆预测 | 于海滨3d预测今天 | 3d十大专家推荐号码汇总 | 【福星】3d单挑10注组 | 今天3d藏机图正版藏机图藏机图太湖横屏 | 3d独胆必下一独胆布衣正 | 3d预测号码最准最新准专家预测号家彩网 | 3d今晚上专家推荐号 | 3d开机号和试机号金码关注 | 3d之家双胆独胆预测 | 3d詹天佑预测汇总 | 3d开机号和试机号今天千禧 | 今日3d预测号码推荐 | 3d预测最准的专家预测 | 3d今晚最准最新专家推荐号 | 3d十大专家杀一码汇总 | 唐龙一胆今天最新 | 3d专家预测最准确今天上一期 | 3d最精准的专家预测 | 解太湖3d字谜太湖 | 3d千禧试机号关注码金码今天晚 | 今日3d钱王点评 | 于海滨预测3d号 | 3d今天开机号和试机号开奖结果 | 牛彩网3d走势图表 | 3d预测号最新最准牛彩网 | 精准3d独胆 | 3d彩宝网开机号和试机号 | 中国福彩3D独胆最新必中最新 | 3d中间最小两码差值振幅走势图 | 3d预测一注号推荐一3d预测一注今天 | 3d试机号近10期彩经网 | 3d牛彩网预测汇总 | 3d今天开机号和试机号是多少 | 小林3d最新预测今天 | 3d专家预测最准确最新今晚预测 | 于海滨海3d专家预测 | 李明启3d预测最新号码 | 于海滨3d预测号 | 3d的预测号是多少 | 3d天宇和值谜字谜 | 晚秋3d今晚和值谜 | 今晚3d出的什么号 | 于海滨最新3d预测今天 | 于海滨杀码今天最新版 | 3d预测最准最新准专家预测 | 3d机选一注 | 3d最准确预测专家 | 3d今天试机号开机号金码 | 李白看3d独胆绝20 | 无敌胆王独胆双胆 | 3d百位十位个位走势图 | 3d推荐号今晚专家预测 | 孟庆会点评 专家一语定胆 稳准狠三天计划 | 解今日太湖3d字谜 | 今天3d开机号和试机号码结果查询 | 3D独胆大神命中率最新 | 3d计算公式精准100%计算 | 于海滨一语定胆天齐网 | 今天的太湖3d字谜 | 3d推荐最新最准专家预测 | 明天太湖3d三字诀 | 3d今天出的什么号 | 3d今晚专家预测 | 3d专家最新最准专家预测汇总 | 福彩3D独胆下期推荐必中 | 于海滨一语定胆 | 3d廊坊鸿运正版推荐 | 今天最新3d开机号试机号关注码 | 【独胆真准】3d | 3d独胆必下一独胆布衣正 | 詹天佑3d最新消息今天 | 今天专家推荐号码3d | 牛彩预测汇总3d最新 | 3d于海滨上的今天预测保真 | 3d正版藏机图天齐网汇总 | 3d下期预测最精准的一注号码 | 福彩3D独胆明日精准预测 | 3d图库彩吧彩报第三版 | 3d最准的预测专家 | 3d今晚推荐三注 | 今天专家推荐号码3d | 3d杀码图 | 3d专家预测号码推荐今天 | 3d试机号今天开机号查询结果 | 今天3d开机号和试机号码是多少 | 中国福彩3D独胆独家必中最新 | 3d最准专家预测方法 | 3d开心毒胆独胆王 | 3d和尾振幅走势图3d专家 | 3d专家预测推荐号码最准最新 | 3d今天专家推荐号码推荐 | 3d开机号近30期列表彩宝网 | 龙头凤尾最准确预测 | 3d钓叟字谜三字诀官网 | 今晚三d推荐什么号码 | 3d今晚十大专家预测汇总 | 3d太湖专家预测今晚 | 张克永3d预测今天 | 3d今天推荐号码是多少 | 3d千禧试机号关注码金码今天晚 | 3d形态预测静态版 | 3d牛彩图谜字谜总汇九 | 3d试机号开机号近50期 | 今日3d专家预测总汇 | 3d毒胆双胆三胆 | 福彩3D独胆下一期走势最新 | 3d独胆必下一个胆 | 中国福彩3D独胆下期推荐 | 3d独胆是什么意思 | 3d各路专家预测汇总大全最新 | 3d彩宝网开机号和试机号 | 3d藏机图正版藏机图太湖字谜 | 3d千禧试机号开机号对应码关注号 | 于海滨杀码今天最新版 | 3d太湖字谜三字诀 | 福彩3D独胆最新走势最新 | 今日排三太湖钓叟字谜三字诀 | 于海滨杀码图牛彩 | 手机牛彩网3d预测 | 3d鬼手字谜和谜 | 詹天佑3d分析推荐 | 3d直选综合走势图表 | 于海滨最新3d预测推荐今天 | 今晚的3d试机号是多少 | 3d开机号试机号码牛彩网 | 3d杀码大全| 3d晚秋和值谜彩吧图库 | 于海滨3d今晚预测 | 3d走势图带连线牛彩网 | 财神爷独胆三天计划,就这么牛 | 3d预测最准最新准专家预测 | 3d开奖号走势图表 | 3d专家预测最准确最新新闻 | 千禧开机号试机号关注号金码杀码 | 近30期3d开机号和试机号 | 3d开奖号码近50期 | 于海滨最新3d预测今天 | 试机号开机号金码关注号对应码3d | 3d专家预测最准确最新今天牛彩 | 3d预测最准确专家预测 | 3d试机号金码号是多少 | 3d独胆双胆下一 | 3d今日预测推荐号 | 3d今晚专家预测最准确一注 | 今天3d专家解太湖字谜汇总 | 3d今天专家推荐号码推荐 | 3d今天专家推荐号码推荐 | 3d今天专家预测最准确 | 福彩3D独胆大神必中最新 | 3d字谜图谜总汇全图汇总 | 3d太湖字谜图谜 | 3d玩彩老头预测今天号码 | 3d单选一注能中多少钱 | 今于海滨3d预测今天单线联系 | 3d和走势图 和值尾连线 | 3d千禧开机号试机号 | 3d推荐最新最准专家预测 | 3d十大专家双胆预测汇总 | 于海滨海3d专家预测 | 3d专家推荐最精准的号码 | 3d研究生双胆王 | 今天3d藏机图正版藏机图藏机图太湖横屏 | 三d预测专家最新推荐 | 3d今晚开奖号结果 | 今日3d开机号和试机号关注码千禧 | 今天的3d开奖号是多少 | 3d开机号,试机号,金码号,对应码100 | 3d开机号今天近100期南方查询 | 3d开机号和试机号今天多少 | 3d振幅和值尾走势图 | 3d走势图和值振幅 | 牛彩网3d预测汇总大全 | 3d预测专家准确推荐 | 千禧3d试机号关注码金码列表 | 3d胆拖价格表 | 中国福彩3D独胆实时精准预测 | 詹天佑最新预测3d | 3d开机号和试机号今天查询 | 于海滨一语定胆《保真》 | 3d今晚必中一注一注 | 3d今天开机号和试机号 | 3d钓叟字谜三字诀官网 | 3d历史今天开奖结果 | 3d专家预测更准确今天 | 今天3d开机号 试机号是多少 | 3d最准专家预测号今晚3d试机号 | 准香港3d漫画资料 | 3d和值尾振幅走势图3d走势3d之家 | 3d今晚上专家推荐号 | 唐龙一胆今天最新 | 3d今晚专家推荐预测重点号码 | 3d双胆神算今天最新 | 3D独胆下期推荐分析最新 | 3d预测推荐汇总牛彩网采摘收集 | 3d十位走势图振幅 | 3D独胆下一期精准预测 | 今天3d牛彩网专家预测 | 3D独胆大神命中率最新 | 经典小胆王三天计划配组合 | 福彩3D独胆下期推荐必中 | 3d专家推荐号最准确的推号 | 3d财神爷今晚独胆 | 今日期3d太湖字谜 | 三d预测汇总 | 预测今晚3d一注 | 3d太湖字谜字谜汇总 | 于海滨3d预测天齐网 | 3d预测最准专家预测牛彩网 | 3d预测最准确专家预测 | 福彩3D独胆当天分析最新 | 3d走势图基本走势图 | 廊坊鸿运3d最新预测 | 今日3d一句定三码最准和值谜 | 3d牛彩网专家预测 | 3d预测今晚最准专家预测号码 | 3d专家预测最准确今天南方双彩网 | 3D独胆本期命中率 | 3d跨度振幅3d之家走势图 | 3d今晚专家推荐号 | 天齐藏机图汇总正版藏机图 | 3d詹天佑最新预测牛彩网 | 财神爷三天计划必下更新 | 3D独胆大神走势 | 玩胆先生今晚双胆 | 3d开机号和试机号近100期列表 | 于海滨专家3d预测 | 3d太湖字太湖字谜今天 | 3d今晚专家推荐 | 3d今晚必出的一注 | 3d专家解今日太湖字谜汇总 | 于海滨3d预测专家今天 | 3d预测专家汇总预测 | 3d试机号开机号今天晚上金码号 | 3d楚人今晚预测今天 | 3d今晚和值推荐 | 3d组选中一注多少钱 | 今日正版3d藏机图全部汇总 | 3d预测专家精准推荐号 | 3d最新专家预测汇总大全 | 小红人的计划三天计划 | 3d胆王双胆独胆 | 今晚开奖号码3d开奖结果 | 3d千禧开机号试机号关注金码对应码 | 3预测,3d专家预测,最准确今天彩网 | 3d百位四胆 | 3d开机号和试机号今天 今晚 | 3d专家预测号码手机牛彩网 | 3d和值尾振幅近100期走势图 | 3d最新专家预测汇总 | 3d金码开机号和试机号 | 试机号开机号金码关注号对应码3d | 3d今晚最准专家预测号码145 | 3d专家预测最准牛彩网 | 3d今天中了多少注直选 | 中国福彩3D独胆大神命中率 | 3d预测专家汇总预测 | 解太湖3d字谜太湖 | 詹天佑3d最新消息今天 | 3d今天专家推荐号码推荐 | 今天3d开机号 试机号是多少 | 3d独胆双胆 | 三d字谜图谜总汇牛彩网 | 詹天佑3d最新消息今天 | 福彩3D独胆明日分析 | 于海滨杀码图谜 | 3d专家预测最准确今天牛彩网 | 3d太湖钓叟字谜三字 | 今晚3d专家预测精选一注 | 3d财神爷今晚独胆 | 3d预测号码最准确专家预测 | 3d专家预测推荐号码最准最新 | 独胆王三天计划 | 3d开机号和试机号正版彩吧 | 3d独胆双胆独胆3d之村 | 3d往年历史今天开奖结果 | 3d专家预测最准确最新今晚预测 | 3d推荐号码今晚预测 | 今日精准预测推荐3d号码 | 于海滨预测3d号 | 成功路上3d双胆独胆 | 于海滨海3d专家预测 | 十拿九稳预测分析 | 福彩3D独胆老师分析最新 | 3d预测号专家预测 | 3d专家最新最准专家预测汇总 | 3d预测最准的专家预测 | 3d最精准的专家预测 | 今于海滨最新预测今天 | 今晚3d和值推荐 | 3d杀码图专区,杀码图 | 3d今晚最准专家预测号码 | 3d今晚试机号是多少查询 | 于海滨三地杀码 | 今日3d正版藏机图 | 詹天佑预测3d| 3d今晚试机号是多少查询 | 3d最大值振幅走势图彩经 | 3d带连线走势图(专业版) | 3d专家预测最准确 | 今天3d必出一注 | 3d今晚必出号 | 今天3d开机号试机号牛彩列表 | 3D独胆下期预测 | 3d最准专家预测号 | 3d今天专家预测最准确 | 于海滨3d预测今天 | 3d最新专家预测汇总大全 | 3d专家预测最准牛彩网 | 3d八哥图库总汇d字谜图谜总汇大全 | 3d北斗专家北斗预测今天079期3d | 3d最新专家预测推荐 | 于海滨点评专家一注定胆保真版 | 于海滨今日杀码图 | 3d双胆预测3d双胆下3d 双胆推荐 | 3d老炮子直选三注 | 独胆真人就打独胆今天 | 3d预测专家推荐最准确 | 3d组选中一注多少钱 | 3d千禧试机号金码关注码对应码 | 张克永专家3d预测 | 3d今日开机号和试机号及关注码 | 3d今天最准专家预测 | 太湖字谜太湖钓叟三字诀 | 3d近300期试机号和开奖号码 | 中国彩吧更一懂彩民最新版本更新时 | 3d预测牛彩网预测汇总 | 3d的开机号试机号奖号表 | 3d316期太湖字谜 | 3d太湖钓叟字谜三字诀汇总 | 专家预测3d号码准确 | 3d千禧试机号码金码关注码 | 詹天佑3d今晚预测号码 | 3d预测专家汇总预测 | 3d精选号码推荐今天最新 | 于海滨最新3d预测推荐今天 | 3d今晚100倍 万能三码的使用方法 | 3d必中直选 | 今于海滨一语定胆保真今天 | 3d个位振幅走势图近50期 | 3d预测号最新最准牛彩网 | 3d字太湖叟字谜 | 牛彩网3d预测分析汇总大全 | 卫星电话最建议买的三个型号 | 3d今天专家预测推荐号码 | 3d杀码于海滨 | 3d于海滨上的今天杀码 | 3d晚间字谜汇总汇 | 3D独胆下期最新精准预测 | 3d布衣独胆王 | 3d今天开机号和试机号码200 | 今天3d千禧试机号关注号金码号 | 3d今晚专家预测最准确一注 | 3d今晚预测开奖号码 | 7号电池最建议买的三个型号 | 福彩3D独胆当天分析最新 | 3d今天预测最准确专家 | 3d预测最准专家预测号 | 3d今晚惊天一注预测 | 3d今晚上专家推荐号 | 3d专家预测最准确最新今天牛彩 | 3d试机号后专家预测推荐汇总 | 詹天佑3d点评预测 | 于海滨今日杀码图 | 3d詹天佑预测分析牛彩网 | 3d今晚开奖号码多少 | 历史3d开奖结果 | 十大杀码专家3d | 3d于海滨预测预测牛彩网 | 詹天佑3d今晚预测号码 | 3d今天断组预测 | 3d天齐网最准预测 | 3d推荐号3d推荐号码 | 3d试机号开机号今天查询排五 | 3d双飞怎么买多少钱一注 | 今日正版藏机图全部汇总 | 3d 今天 试机号开机号3 | 3d最准一注(单挑王) | 3d预测今晚最准专家预测号码 | 3d今天专家预测最准确 | 最新3d预测专家预测 | 3d太湖字太湖字谜 | 3d预测总汇手机牛彩网 | 3d精准预测最准的专家直选 | 于海滨3d最新预测 | 北斗3d今日专家预测推荐 | 3d六码复式多少钱一注 | 3d今晚预测最新最准确号码牛彩网 | 3d直选历史遗漏查询 | 3d近30期开奖结果 | 于海滨3d预测天齐网 | 3d胆王双胆独胆 | 3d太湖钓叟三字诀字谜汇总 | 3d今晚出什么号? | 3d两胆精准预测 | 3d专家预测最准确最新今天牛彩 | 3d基本走势图表 | 中国福彩3D独胆今晚走势最新 | 独胆三天计划 | 今晚3d预测最准一注 | 今于海滨3d预测彩吧图 | 于海滨海3d专家杀码 | 3d双胆独胆| 3d十大专家杀一码汇总 | 3d精准预测| 于海滨3d今晚预测 | 3d最准专家预测号今晚3d试机号 | 今晚3d专家预测汇总 | 3d北斗专家北斗预测今天079期3d | 今日精准预测推荐3d号码 | 3d预测詹天佑最新 | 3d谜语解太湖字谜 | 3d预测最准专家预测号码 | 牛彩网3d走势图表 | 今日3d专家预测总汇 | 3d开机号和试机号今天 今晚 | 万能四码使用技巧 | 3d今晚最准专家预测号码145 | 无敌胆王独胆双胆 | 中国杀码王3d绝杀 | 今天3d字谜解太湖字谜 | 3d推荐最新最准专家预测 | 3d今晚开奖结果号码是 | 3d必中永久直选500注大底 | 齐彩网3d专家预测 | 3d今天专家预测最准 | 3d开机号和试机号金码和关注码 | 3d十大专家推荐号码汇总 | 3d杀码更准确 | 今晚3d专家推荐号码是多少 | 千禧3d今天的试机号 | 3d最新专家预测汇总 | 千禧3d试机号金码关注码杀码今天3d | 3d今晚必中三个号码预测 | 3d专家预测最准确最新推荐号码 | 3d预测牛彩网 | 3d专家预测号 | 中国福彩3D独胆本期命中率 | 3d推荐最新最准专家预测 | 3d形态预测静态版 | 3d杀码高手 | 于海滨海3d预测保真 | 3d今天精准一注 | 3d太湖钓叟字谜三字 | 十拿九稳今天预测专家 | 中国福彩3D独胆本期命中率 | 3d藏机图正版图汇总 | 今天3d开机号和试机号对应金码 | 三d独胆| 3d近500期试机号和开奖号码 | 排3太湖钓叟字谜三字诀 | 中国福彩3D独胆下期最新必中 | 七爷独胆今晚一个胆 | 3d牛彩网试机号后专家预测汇总 | 于海滨专家预测3d | 3d字谜太湖解字谜 | 于海滨今天3d预测号 | 3d谜语今天字谜今天的3d字谜是什么? | 3d十大专家推荐号码汇总 | 3d最准确预测专家 | 3d今天开机号和试机号是多少 | 福彩3D独胆本期预测 | 3d今晚最准专家推荐号码 | 3d今晚预测最准确一注今天 | 3d近30期开机号试机号牛彩网 | 3d走势图专家推荐号码 | 今日3d开奖号今晚 | 3d今晚精彩预测 | 3d专家预测最新推荐 | 福彩3D独胆团队必中最新 | 3d独胆陈华今晚就赌一个胆 | 3d预测专家精准推荐 | 3d综合走势图直选 | 今日3d太湖三字谜 | 3d基本走势图(专业版)近200期 | 今晚3d专家推荐重点号码 | 3d十大专家推荐号码汇总 | 3d胆1拖9直选多少钱一注 | 今日3d专家推荐号码 | 3d预测最准专家预测牛彩网 | 今晚精准一注3d | 最准3d专家预测推荐 | 3d定百位一个号多少钱 | 今晚3d试机号千禧试机号金码关注 | 3d预测最准专家 | 今晚3d预测推荐一注 | 3d最精准专家预测汇总今天 | 今天3d开机号和试机号多少 | 3d今晚专家推荐预测重点号码 | 3d彩宝网开机号和试机号 | 最精准杀码王 | 3d开机号今天近100期南方查询 | 小红人的计划三天计划独胆 | 3d专家预测最准最新今天 | 3d今天专家预测最准确 | 3d今晚精准一注推荐 | 3d试机号今晚开机号 | 3d今天专家预测最准 | 排三十拿九稳今天预测 | 3d直选开奖结果 | 3d故事小王双胆 | 今晚3d专家预测精选一注 | 3d最新专家预测推荐 | 3d开机号试机号今天最新50期 | 3d预测号码最准确专家预测 | 财神爷独胆三天计划,就这么牛 | 3d今日专家推荐号 | 3d专家预测最准确最新今天牛彩 | 3d最准预测号 | 3d专家预测推荐 | 3d开机号和试机号今天多少 | 3D独胆专家精准预测最新 | 3d之家预测专家预测 | 中国福彩3D独胆下期分析最新 | 3d开机号和试机号金码关注对应码 | 3d马前屁解太湖字谜 | 3d双胆,独胆非常非常稳定 | 于海滨最新3d预测推荐今天 | 彩宝贝十大专家杀蓝号 | 3d预测专家推荐号码 | 3d今晚最准专家推荐号码 | 3d钓叟字谜三字诀官网 | 3d跨度振幅近100期走势 | 今天3d专家预测汇总 | 今于海滨3d预测今天单线联系 | 今晚3d出的什么号 | 今天3d开机号和试机号牛彩网 | 于海滨最新3d预测今天 | 3d十大专家预测汇总 | 3d今晚出什么号? | 3d和值012走势图带连线图 | 3d最准确最新专家预测 | 3d最精准专家预测汇总今天 | 福彩3D独胆本期命中率 | 中国杀码王绝杀 | 今日3d直选一注 | 3d今晚推荐号码最新 | 3d预测最准专家预测牛彩网 | 3d太湖字谜每天更新 | 于海滨海3d专家预测 | 于海滨杀码图谜 | 千禧试机号金码关注码的历史记录 | 于海滨的今日预测 | 3d今天专家预测推荐号码 | 3d恋预测今晚预测是哪里出的 | 中国福彩3D独胆当天走势最新 | 3d今晚专家预测推荐 | 3d双飞大师双胆组合 | 三d预测专家最新推荐 | 千禧3d试机号金码关注码对应码今晚 | 3d牛彩网今天开机号试机号 | 3d独胆10中10| 千禧三地试机号对应码金码 | 3d今天开机号和试机号牛彩网 | 3d直选三注必中免费 | 3d独胆专家推荐独胆 | 3d独胆专家推荐独胆 | 3d太湖专家预测今晚 | 3d今天专家预测推荐号码 | 今日3d专家预测号码推荐 | 2009年浙江风采3d走势图 | 3d专家预测推荐号码最准最新 | 3d推荐最新最准专家预测 | 于海滨3d今晚预测号码 | 福彩3D独胆下一期必中 | 3d今日专家推荐号 | 3d今天的推荐号 | 3d预测专家推荐号码推荐 | 3d直选开奖结果 | 于海滨最新3d预测今天 | 3d专家预测号码最准确 | 3d最新专家预测推荐 | 三d预测专家最新推荐 | 3d和值尾振幅走势图近100期 | 3d独胆双胆专家预测网 | 3d最新基本走势图表 | 3d走势图全图表 | 3d开机号试机号近100期开奖号码 | 3d专家今天推荐号 | 詹天佑3d最新消息今天 | 3d十大专家预测汇总 | 3d詹天佑预测汇总 | 3d百个位差值振幅走势图100期 | 张克永专家3d预测 | 精准3d独胆 | 3d最新专家预测汇总大全 | 3d字谜图总汇 | 3d独胆必下一个胆 | 千禧3d试机号关注码金码今天的 | 福彩3D独胆大神精准预测最新 | 今天的3d藏机图正版藏图 | 今天3d开奖号是多少 | 3d专家预测更准确今天 | 今晚上的3d开奖号 | 今日詹天佑3d预测分析 | 3d专家最新最准今天预测 | 3d十大专家杀跨度汇总 | 3d专家预测推荐号最新 | 小林3d最新预测今天 | 于海滨点评专家一语保真 | 3d试机号开机号号码今天 | 牛彩预测汇总3d最新 | 中国福彩3D独胆高手命中率 | 太湖解太湖3d字谜 | 唐龙点评每日一胆龙 | 于海滨今天3d预测号 | 3d今晚开奖号多少 | 3d独胆双胆3d之家 | 3d今天预测最准确专家 | 3d今晚预测准确的专家预测 | 3d独胆双胆专家预测网 | 3d预测今晚最准 | 3d今日太湖字谜图 | 3d武当玉女掌门一句定三码字谜 | 3d独胆王精准100% | 今日3d太湖三字谜 | 今晚3d专家预测精选一注 | 牛彩网近30期3d开机号试机号 | 3d十大专家精准预测汇总 | 3d直选注| 今天3d开机号和试机号码结果查询 | 3d今天预测最准确专家 | 今日3d一句定三码最准和值谜 | 3d预测最准专家预测号 | 3d开机号和试机号八仙选号 | 3d今天开机号试机号牛彩网 | 3d今晚专家推荐预测重点号码 | 今晚3d专家推荐号码是多少 | 3d试机号后专家预测汇总 | 3d胆1拖9直选多少钱一注 | 今晚3d和值推荐 | 明天的3d太湖字谜 | 3d今日专家推荐号 | 于海滨3d预测免费每日精选 | 3d今天的开机号和试机号查询 | 排3太湖钓叟字谜三字诀 | 福彩3D独胆下一期走势最新 | 3d牛彩网100期开机号和试机号 | 3d五码复式| 福彩3D独胆独家预测最新 | 3d定胆技巧准确率100% | 今天3d开机号试机号对应码列表 | 今天专家推荐号码3d | 廊坊鸿运3d推荐今天 | 3d预测杀码 | 3d预测专家推荐号码推荐 | 3d专家预测推荐 | 专家彩宝贝预测汇总 | 3d推荐号今晚专家预测最准确 | 3d今日预测最准专家预测 | 陈华今晚就赌一个胆预测 | 3d万能三码中奖秘诀 | 3d怎么守号不亏 | 3d直选形态走势图彩宝网 | 3d今天预测最准确专家 | 3d推荐最新最准专家预测 | 排3藏机图正版藏机图今天 3d八哥图库总汇d字谜图谜总汇大全 | 3d最准专家预测号今晚3d试机号 | 3d今日预测最准专家预测 | 3d预测最准确的专家 | 3d开机号和试机号今天金码关注号 | 千禧3d今晚的试机号码 | 3d今晚精彩预测 | 3d正版藏机图天齐网汇总 | 3d跨度五行走势图3d之家 | 3D独胆团队精准预测最新 | 唐龙3d预测今日出号点评 | 十拿九稳预测专家分析 | 于海滨杀码今天最新版 | 3d今天开机号试机号100期 | 3d于海滨上的今天预测 | 十拿九稳十大专家预测汇总最新一期 | 3d直选一注必中 | 詹天佑3d推荐| 3d预测今晚最准专家预测号码 | 三d开机号和试机号今天牛彩网彩 | 3d最精准的专家预测 | 3d独胆双胆独胆3d之村 | 3d今晚预测准确的专家预测 | 今天3d字谜解太湖字谜 | 于海滨3d预测天齐网 | 3d于海滨预测预测牛彩网 | 3d今晚最新奖号 | 3d今晚和值推荐 | 3d双胆预测3d双胆下3d 双胆推荐 | 【独胆真准】3d | 3d今晚最准最新专家推荐号 | 福彩3D独胆团队分析最新 | 今天3d专家推荐重点号码 | 3d今晚字谜太湖字谜是什么 | 今日3d预测 | 今晚3d专家预测最准确 | 3d天中杀码图专区 | 3d预测专家最准确的专家预测今晚 | 于海滨海3d预测保真 | 中国福彩3D独胆今日走势最新 | 3d专业版(走势图带连线) | 3d推荐最新最准专家预测 | 3d通杀一码| 成功路上3d双胆独胆 | 詹天佑3d推荐 | 3d专家预测推荐 | 牛彩网预测专家3d | 3d专家最新最准专家预测 | 3d最准确最新专家预测 | 今天十拿九稳号码预测 | 今天最新3d开机号试机号关注码 | 3d最新专家预测推荐 | 3d开奖号码走势图表 | 3d之家双胆独胆预测 | 助赢计划软件免费版下载安装 | 东北小胆神今晚独胆 | 3d专家预测最准确今天南方双彩网 | 3D独胆团队走势 | 3d预测专家最准确的专家预测今晚 | 今日3d马后炮解太湖字谜 | 3d和值遗漏值尾走势图 | 3d天中杀码图专区 | 3d推荐牛彩网 | 3d今晚最准最新专家推荐号 | 3d通杀一码准确率100% | 3d买一个独胆中了得多少钱 | 今日3d专家推荐号码 | 3d走势图基本走势 | 马到成功杀两码最新版本更新内容 | 牛彩网3d预测分析汇总大全 | 3d预测天齐网 | 3d专家预测最准确最新今天牛彩 | 3D独胆大神杀号最新 | 太湖钓叟三字诀字谜解释总汇 | 中国福彩3D独胆下期分析最新 | 中国福彩3D独胆下期最新必中 | 小龙一语定三胆3d今日字谜 | 3d试机号200期历史 | 3d直选综合走势图表 | 今天3d开机号试机号金码 | 3d 今天 试机号开机号3 | 3d和值尾振幅走势图带连线图表 | 3d预测今晚推荐号 | 3d徐文轩今晚推荐号码 | 于海滨海3d预测保真 | 3d谜语今天字谜今天的3d字谜是什么? | 老炮子预测今晚三地 | 今晚3d开奖号是多少 | 太湖马后炮3d钓叟字谜 | 唐龙3d预测今日出号点评 | 3d晚间字谜总汇大全 | 3d预测最准的专家预测 | 3的杀码图| 今日3d藏机图正版藏机图134 | 3d最精准一注一注 | 至尊计划王三天计划独胆 | 今晚3d一注50倍 | 3d今晚专家推荐号 | 3d双胆独胆推荐 | 3d今晚惊天一注预测 | 小红人的计划三天计划 | 3d三胆预测| 3d太湖字谜总汇总(正版) | 牛彩网3d预测分析汇总大全 | 3d今晚十大专家预测汇总 | 3d开奖结果近10期 | 铁人铁胆定位包星 | 3d基本走势图综合 | 于海滨点评专家一语定胆保真版 | 3d单双走势图表(专业版) | 3d今天最新最准专家预测最 | 3d牛彩网今天开机号试机号 | 3d今天最新最准专家预测最 | 3d预测最准的专家预测 | 3d预测今晚最新最准确 | 今天3d专家预测汇总 | 今晚3d专家预测最准确 | 3d和值走势图(带连线图) | 陈华3d今晚就赌一个胆天齐网 | 3d试机号近30期牛彩网 | 3d彩吧预测,预测 | 3d农村小伙子最新预测 | 于海滨海3d预测免费每日精选3d开奖号 | 3d杀码百位十位个位 | 一代女王p3杀两胆独胆 | 廊坊鸿运3d推荐今天 | 3d彩报图今天的第五版 | 3d今晚预测准确的专家预测 | 3d牛彩网和值走势图 | 玩彩独胆王三天计划 | 今日3d正版藏机图 | 3d百位四胆 | 三d预测牛彩网汇总 | 福彩3D独胆下期预测 | 3d专家预测推荐号码 | 千禧3d开机号试机号金码 | 3d最准确的专家预测 | 中国福彩3D独胆下期最新必中最新 | 陈华今晚就赌一个胆预测 | 詹天佑今日最新点评 | 3d老炮子直选三注 | 3d今晚上必出号 | 3d试机号码开机号 | 今日3d预测专家推荐 | 3d中国准神双胆 | 千禧3d今天的试机号 | 3d和值遗漏值尾走势图 | 3d最精准专家预测汇总今天 | 3d预测今晚最准专家预测号码 | 福彩3D独胆实时走势 | 三d字谜总汇大全 | 3d预测今晚最准专家预测号码 | 3d独胆必下一个胆 | 3d今晚专家推荐预测重点号码 | 3d太湖钓叟字谜三字诀乐彩论坛 | 3d北斗专家北斗预测今天079期3d | 3d开机号,试机号和开奖号 | 3d预测专家精准推荐 | 三d预测专家最新推荐 | 3d预测一注推荐 | 3d之家北斗今日预测 | 3d各类和值谜追加汇总 | 今日3d一句定三码最准和值谜 | 3d今晚预测准确的专家预测 | 马后炮解3d太湖字谜 | 排五开奖最新结果排5 | 3d今晚专家预测最准确一注 | 万能四码图表 | 3D独胆今晚命中率最新 | 3d专家预测号 | 字谜3d太湖马后炮 | 中国福彩3D独胆下期最新必中最新 | 3d预测最准的专家预测 | 今晚3d预测总汇 | 3d最精准专家预测汇总今天 | 3d今晚专家推荐号 | 3D独胆老师预测 | 于海滨海3d预测保真 | 三d预测专家最新推荐 | 3d带连线专业版走势图表 | 3d免费专家预测推荐今天最新 | 3d试机号今天开机号查询结果 | 3d计算机开机号夏天推荐 | 成功路上3d双胆独胆 | 顶级胆神双胆必下 | 3d条件预测专区牛彩网 | 今于海滨3d预测彩吧图 | 3d今晚的独胆 | 3d双胆独胆非常非常 | 高手看3d经典独胆组合 | 3d预测最准专家预测牛彩网 | 詹天佑3d预测推荐 | 3d紫云涧专家预测推荐 | 今日3d太湖字谜三字诀排三开奖结果 | 今晚的3d试机号是多少 | 福彩3D独胆老师走势最新 | 太湖试机号后一句定三码3d字谜 | 周星星3d预测手机牛彩网 | 3d中间值振幅走势图之家 | 三d试机号后专家预测汇总 于海滨专家3d今天预测 | 3d最新专家预测推荐 | 三d推荐号专家预测今天 | 詹天佑3d最新预测今天 | 3d农村小伙子最新预测 | 3d解太湖字谜汇总精选 | 中国福彩3D独胆大神命中率 | 3d今天单挑50信 | 千禧3d开机号试机号金码 | 3d布衣双胆独胆王 | 3D独胆下期最新预测 | 3D独胆今晚命中率最新 | 3d试机号后专家预测推荐汇总 | 今晚3d开奖号走势图 | 3d今天专家推荐号码 | 3d推荐号今晚专家预测 | 于海滨点评专家一语定胆保真版 | 3d今晚开出什么号码 | 今晚3d预测推荐一注 | 3d今天预测汇总 | 3d预测最准专家预测号 | 陈华今天就赌一个胆3d | 万能四码图表 | 千禧3试机号金码关注码金码 | 3d预测专家最准确 | 3d直选一注多少钱 | 3d专家预测推荐 | 3d独胆专家推荐独胆 | 3d试机号开机号今天查询排五 | 3d今晚预测直选一注 | 3d预测最准的专家预测 | 3d下期预测最精准的一注号码 | 3d双胆独胆非常非常稳定 | 3d走势图带连线图表 | 唐龙一胆今天最新 | 今天最新3d开机号试机号关注码 | 三d预测专家最新推荐 | 3d和走势图 和值尾连线 | 3d牛彩网专家预测 | 三d十拿九稳预测号码 | 3d开机号和试机号今天 今晚 | 3d两胆精准预测 | 投资独胆三天计划论坛 | 3d今天专家推荐号码 | 3d上下五千年专家预测 | 3d十大专家精准预测汇总 | 3d预测牛彩网预测汇总 | 3d独胆10中10| 3d太湖钓叟字谜三字诀乐彩论坛 | 3d字谜总汇今日3d字谜总汇牛彩网 | 千禧3d试机号关注号 | 3d预测詹天佑最新 | 3d最准专家预测方法 | 3d基本走势图综合 | 3d专家预测推荐 | 今日3d推荐号码号 | 3d最准确专家预测 | 于海滨3d今晚预测号码 | 3d组三一注多少钱 | 3d万能大底共250注直选 | 千禧试机号金码关注号对应码杀码 | 3d专家预测最准最新今天 | 今天3d詹天佑预测分析 | 3d今晚专家预测推荐 | 今天3d开机号 试机号是多少 | 3d预测最准确专家预测 | 中国福彩3D独胆大神命中率 | 3d今天专家推荐号码推荐 | 3d今天专家推荐号码 | 3d专家预测号码最准确 | 3d专家预测最新最准推荐 | 今天3d开机号和试机号 | 3d试机号后专家预测推荐汇总 | 3d两胆王双胆必下 | 今天3d开机号关注号试机号金码 | 3d今晚开奖结果号码是 | 今天专家推荐号码3d | 詹天佑3d今晚预测号码 | 3d独胆必下一独胆布衣正 | 3d直选是什么意思 | 3d和值专家推荐和值 | 今日3d钱王点评 | 千禧试机号金码关注 | 千禧试机号及金码 | 今晚3d开奖号试机号 | 3d于海滨上的今天预测保真 | 财神爷独胆三天计划,就这么牛 | 今天的3d太湖字谜 | 中国福彩3D独胆今日精准预测 | 福彩3D独胆最新必中最新 | 杀码王杀码 | 3d最精准的专家预测 | 3d独胆必下一独胆3d独胆预测 | 铁人铁胆包星定位今天最新结果 | 于海滨3d杀码预测 | 3d独胆必下一独胆准 | 3d试机号开机号今天金码关注 | 3d推荐号今晚专家预测 | 福彩3D独胆今晚必中最新 | 3d单双走势图表 | 3d开机号今天牛彩网近30期 | 排五近100期开奖号结果 | 3d预测专家推荐 | 3d推荐号今晚专家预测最准确 | 牛彩网3d专家预测汇总 | 3d今晚上开奖号码 | 3d百十和值尾振幅走势图 | 千禧试机号关注号金码是什么 | 3d预测图 | 3d预测专家最准确的专家预测今晚 | 3d专家预测号码最准确 | 3d藏机图正版藏机图汇总今天最新 | 3d预测最准最新牛彩网 | 3d专家推荐最精准的号码 | 三d预测牛彩网汇总 | 3d试机号后专家预测推荐汇总 | 2014年359期3d焰舞字谜 | 3D独胆实时推荐最新 | 今于海滨杀一码 | 《天才计划》三天计划独胆3d | 3d小龙一句定三码今日字谜天中图 | 3d预测詹天佑最新 | 今天3d于海滨预测 | 3D独胆老师分析 | 3d专家预测最准确最新今天牛彩 | 3d专家预测推荐汇总 | 福彩3D独胆下期推荐最新 | 3d今晚上预测号码 | 3d推荐号今晚专家预测 | 今晚3d专家预测 | 3d独胆双胆独胆3d之村 | 于海滨海3d预测今天 | 今晚开奖号码3d开奖结果 | 今天三d专家推荐号码 | 3d百位走势图带连线图表专业版 | 钱王点评十钱王给胆下一期预测 | 今日排三太湖钓叟字谜三字诀 | 3d预测最新最准3d之家 | 3d单个冷号最大遗漏 | 3d最准专家预测号今晚3d试机号 | 3d于海滨上的今天预测 | 投资独胆三天计划论坛 | 3d百个差振幅走势图近100期 | 3d开机号今天试机号30期 | 3d陈华今晚就赌一个胆搜索一下 | 3d杀码图专区,杀码图 | 3d直选综合走势图表图 | 3d定百位一个号多少钱 | 3d牛彩网采摘收集预测汇总 | 3d独胆是几 | 于海滨3d预测牛彩网 | 今于海滨3d预测今天单线联系 | 今天晚上3d开奖结果 | 今晚3d专家推荐号码是多少 | 3d最准确预测100%一注 | 于海滨海3d专家预测今晚一注 | 陈华今晚独胆特别关注 | 三d五码复式打一注多少钱啊 | 《金银胆神》金胆银胆3d最新一期开奖 | 廊坊鸿运3d预测今天 | 今晚3d预测开奖号码推荐 | 3d选胆图近100期 | 3d玩彩老头预测今天号码 | 福彩3D独胆下一期走势最新 | 2014年359期3d焰舞字谜 | 3d双胆图 | 铁娘子三天计划独胆必下300 | 3d今晚专家预测推荐 | 铁娘子三天计划独胆必下300 | 福彩3D独胆下一期走势最新 | 3d今天开机号和试机号查询100期 | 3d牛彩网字谜图谜总汇九 | 3d万能大底共250注直选 | 三d历史走势图 | 3d独胆专家推荐独胆 | 于海滨今天杀码3d | 3d今天专家预测推荐号码 | 3d彩报图今天图库彩吧 | 3d各类和值最新谜字谜今天 | 3d百个位和值尾走势图 | 排三杀码专家天齐网 | 唐龙点评3d预测今天 | 今晚3d专家最精准的预测 | 3d专家今日推荐号码 | 今天三d专家推荐号码 | 福彩3D独胆实时杀号 | 3d近30期开奖结果 | 3D独胆明日精准预测 | 3d和值走势图(专业版) | 3d今天开机号试机号对应码关注码 | 3d专家推荐最新预测 | 3d今晚专家预测推荐 | 3d专家预测最准确最新今晚预测 | 3d专家预测汇总 | 福彩3D独胆团队必中 | 3d预测今晚最准专家预测号码 | 今天晚上3d开奖结果 | 今天3d精选一注 | 福彩3D独胆最新走势最新 | 3d今天最准专家预测 | 今日精准预测推荐3d号码 | 3d和值走势图彩宝网 | 3d千禧开机号试机号关注金码 | 詹天佑最新预测3d | 三d毒胆预测 | 快8今晚最毒胆推荐 | 千禧试机号金码关注码的历史记录 | 今晚3d预测推荐一注 | 今日3d开奖号今晚 | 3d下期预测最精准的一注号码 | 3d今晚开奖结果走势图 | 3d近50期开奖号码 | 福彩3D独胆老师分析最新 | 3d最准的独胆毒胆独胆 | 3d今天开机号试机号对应码关注码 | 3d专家最新最准专家预测 | 3d预测最准专家预测号码 | 中国福彩3D独胆实时精准预测 | 太湖字谜钓叟3d字谜 | 3d选5个号多少钱 | 今天的3d开机号和试机号查询 | 3d的开机号试机号奖号表 | 3d千禧试机号金码关注最近10期 | 3d开奖必中 | 3d今晚专家推荐号 | 今日排五专家推荐与预测 | 于海滨海3d专家杀码 | 今晚的3d试机号是多少 | 3d选胆图近100期 | 3d专家专家预测汇总 | 一定牛3d杀码 | 3d今晚试机号是多少 | 今于海滨点评专家一语定胆 | 今天最新3d开机号试机号关注码 | 3d最精准专家预测汇总今天 | 今日正版3d藏机图全部汇总 | 中国福彩3D独胆明日推荐 | 3d必下胆| 3d独胆双胆预测 | 3d今晚必中一注一注 | 3d千禧试机号关注号金码号开机号 | 3d今晚十大专家预测汇总 | 财神爷独胆三天计划,就这么牛 | 经典小胆王三天计划配组合 | 小红孩3d独胆今天 | 3d今晚试机号是多少查询 | 顶级胆神双胆下一 | 3d试机号关注号金码对应码开机号 | 今天3d开机号关注号试机号金码 | 三d推荐号专家预测今天 | 于海滨3d免费预测最新的 | 福彩3D独胆老师走势最新 | 今晚3d之家 | 3D独胆今晚命中率 | 中国福彩3D独胆专家推荐最新 | 3d开机号近30期列表彩宝网 | 3d字谜总汇今日3d字谜总汇牛彩网 | 最准杀码王p3| 3d开奖号走势图表 | 3d爱心角落试后一注 | 3d今晚和值推荐 | 3d专家今日推荐号码 | 3d预测今晚推荐号 | 3d藏机图完整版今天 | 3d预测专家最准最新 | 3d十大专家汇总精选一注 | 今日3d预测 | 今晚上3d出奖结果 | 3d试机号今晚牛彩网 | 张克永3d预测今天 | 今晚3d专家预测精选一注 | 今天3d出的什么号 | 十拿九稳预测分析 | 3d推荐号今晚专家预测 | 钱王点评十钱王给胆下一期预测 | 3d推荐最新最准专家预测 | 3d预测一注号推荐今晚 | 3d免费专家预测推荐今天最新 | 太湖字谜钓叟3d字谜 | 3d专家推荐预测号 | 3d十大专家预测汇总 | 3d推荐最新最准专家预测 | 廊坊鸿运3d最新预测 | 千禧3d试机号关注码今天 | 中国福彩3D独胆专家精准预测最新 | 今日3d开机号和试机号列表三十期 | 3d开机号和试机号今天多少 | 3d十位单选振幅走势图 | 于海滨预测号 | 3d预测专家推荐最新 | 3d多少钱一注 | 3d今天专家推荐号码推荐 | 3d一语定胆字谜今天 | 彩界毒胆大师一枚毒胆 | 3d专家预测今天最新准确号 | 于海滨专家3d今天预测 | 马后炮解3d太湖字谜总汇大全 | 3d上下五千年专家预测 | 中国福彩3D独胆今晚走势最新 | 福彩3D独胆专家杀号 | 3d万能大底共250注直选 | 3d正版藏机图谜汇总 | 今日3d正版藏机图,藏机图汇总,天中网 | 3d牛彩网试机号后专家预测汇总 | 今于海滨最新预测今天 | 3d今晚一注推荐 | 稳准狠三天计划 | 于海滨点评专家一注定胆保真版162期 | 小林3d最新预测今天 | 3d最准专家预测号今晚3d试机号 | 3d预测专家推荐号码推荐 | 北斗3d今日预测 | 3d于海滨上的今天预测 | 3d盐都三胆家彩网 | 3D独胆本期预测最新 | 今于海滨最新预测今天 | 3d预测推荐汇总牛彩网采摘收集 | 一定牛3d一注号推荐3d预测今天 | 3d最准预测专家推荐 | 彩坛老顽童3d独胆 | 3d藏机图正版藏机图打印版 | 3d今日预测最准专家预测 | 今日3d钱王点评 | 3d预测詹天佑最新 | 3d专家预测最准确最新今晚预测 | 3D独胆下期推荐预测最新 | 3d三胆推荐 | 3d预测专家精准推荐 | 3d十大专家汇总精选一注 | 3d最精准的专家预测 | 三d便民字谜图谜总汇 | 3d最准预测专家预测汇总 | 3d独胆二天计划 | 3d今晚字谜太湖字谜是什么 | 今于海滨3d预测今天牛彩网 | 于海滨海3d预测牛彩网 | 3d专家最准确预测 | 3d专家今天推荐号码推荐 | 3d精准推荐号 | 3d最准一个独胆毒胆 | 3d怎么守号不亏 | 今天3d千禧试机号关注号金码号 | 3d今天专家推荐号码 | 3d推荐号今晚专家预测 | 3d最全晚间字谜汇总大全 | 一定牛3d杀码 | 3d预测今晚最准专家预测号码 | 3d今晚专家预测推荐 | 排三平均值振幅走势图3d之家 | 3d专家最精准的推荐 | 3d今天开机号试机号码查询 | 3d预测专家精准推荐号 | 大师诸葛亮今晚一个独胆 | 今天3d开机号试机号牛彩网 | 3d专家预测最准确号码 | 3d预测天齐网| 中国福彩3D独胆下期分析最新 | 小德3d今天双胆定位 | 3d北斗专家北斗预测今天079期3d | 3d最准预测专家汇总大全 | 今日3d十大专家双胆总汇 | 于海滨3d预测 | 3d单双走势图表 | 3d开奖号今晚 | 明天太湖3d三字诀 | 于海滨3d预测号 | 3d字谜今天太湖字谜 | 3d预测今晚最准专家预测号码 | 3d今天开机号和试机号是多少 | 3d推荐最新最准专家预测 | 3d基本走势图表完整版 | 3d条件预测专区牛彩网 | 于海滨预测号 | 3d预测今天推荐 | 今于海滨最新预测今天 | 3d太湖专家预测今晚 | 3d晶晶必下一独胆今天 | 于海滨海3d专家预测今晚一注 | 詹天佑3d分析推荐 | 3d今天预测最准确专家 | 千禧3d试机号金码关注码今天 | 3d开机号和试机号30期列表 | 3d太湖钓叟字谜三字诀乐彩论坛 | 3d今晚专家推荐预测重点号码 | 3d今晚最准最新专家推荐号 | 3d今天开机号试机号3 | 今晚3d开奖号试机号 | 中国福彩3D独胆最新必中最新 | 3d专家推荐号 | 3d今天预测汇总 | 一定牛3d杀码 | 今天最准3d预测号 | 3d跨度分位走势图图感觉 | 3d预测最准确的专家 | 3d预测专家推荐号码推荐 | 3d下期预测最精准的一注号码 | 今日3d预测号码推荐 | 于海滨3d预测天齐网 | 今晚3d专家推荐号码是多少 | 3d独胆专家推荐独胆 | 3d预测最准确的专家 | 中国福彩3D独胆老师分析最新 | 3d小红人三天计划 | 于海滨点评专家一语定胆保真版 | 三d预测专家最新推荐 | 3d老虎独胆| 今天3d开机号和试机号多少 | 3d十位走势图带连线图表专业版 | 3d百位四胆 | 3d今晚专家预测重点号码 | 3d专家预测号码手机牛彩网 | 3d天宇和值谜字谜 | 3d基本走势图表新浪网 | 投资独胆三天计划论坛 | 3d詹天佑预测分析牛彩网 | 3d布衣独胆双胆必下一 | 彩界女王双胆独胆 | 3d今天专家预测号码 | 3d绝杀一码绝杀 | 3d开机号和试机号近100期列表 | 今于海滨3d杀码 | 3d任意两码差值尾走势图 | 3d独胆公式正确率在99%以上 | 廊坊鸿运3d推荐今天 | 詹天佑3d最新预测今天 | 于海滨杀码图谜 | 3d今晚推荐一注 | 下一期专家预测号码 | 小红人的三天计划今天是什么 | 今天最准3d预测号 | 3d预测最准专家 | 3d最准专家预测号今晚3d试机号 | 今日3d专家预测号码推荐 | 3d詹天佑点评 | 3d藏机图正版藏机图汇总今天最新 | 3d专家预测最准 | 3d十大专家预测汇总 | 3d专家预测最准确最新汇总 | 布衣杀码图3d杀码 | 于海滨一语定胆专家点评 | 3d预测专家最准最新 | 3d专家最精准的推荐 | 今晚3d专家最精准的预测 | 3d北斗专家北斗预测今天079期3d | 3d今天专家推荐号码是多少 | 今天3d太湖钓叟三字诀字谜 | 3d推荐号今日预测 | 3d专家预测号码手机牛彩网 | 3d任意两码差值尾走势图 | 三七进二得三码猜一生肖 | 3d专家推荐最新预测 | 今天p3藏机图正版藏机图 | 3d专家预测推荐汇总 | 今天太湖字谜3d字谜太湖钓叟 | 今晚3d预测推荐一注 | 神仙姐姐杀尾 | 3d百位遗漏振幅走势图南方双彩网 | 3d专家最新最准预测 | 詹天佑3d最新消息今天 | 3d专家预测最准确今天上一期 | 3d中国准神双胆 | 3d今晚专家预测推荐 | 3d近30期开奖号码 | 3d今日号码推荐 | 3d开机号和试机号今天 今晚 | 中国福彩3D独胆下期分析最新 | 于海滨海3d专家预测今晚一注 | 3d百个和值尾振幅走势图 | 中国杀码王绝杀 | 3d北斗今日预测 | 3d独胆双胆3d之家 | 3d最新最准预测号码今天 | 千禧3d试机号关注码金码今天的 | 3d北斗专家北斗预测今天079期3d | 于海滨今日杀码图最新 | 3d千禧试机号金码关注最近10期 | 中国福利3d今天模拟试机号 | 中国福彩3D独胆下期推荐推荐最新 | 3d晶晶必下一独胆今天 | 今日正版藏机图全部汇总239期 | 3d今天最准专家预测 | 3d今日正版藏机图最新更新内容 | 今晚最全3d晚间字谜汇总192期 | 今于海滨3d预测今天单线联系 | 詹天佑最新预测3d | 牛彩网3d预则 | 今天3d专家推荐号 | 3d毒胆 | 3d十位走势图带连线图表专业版 | 彩坛老顽童3d独胆 | 3d今天的试机号和开机号 | 3d双胆最准100% | 3d基本走势图 综合 太湖三字诀字谜三 | 3D独胆独家推荐 | 今晚3d天宇一句定三码字谜 | 今天的3d太湖字谜 | 3d直选是什么意思 | 3d于海滨预测预测牛彩网 | 3d于海滨预测预测牛彩网 | 今天晚上3d开奖结果 | 3d专家直选最精准一注 | 3d杀码图汇总牛彩网 | 詹天佑3d分析推荐 | 于海滨3d杀码图 | 今天3d开机号 试机号是多少 | 今晚3d开奖号是多少 | 詹天佑3d最新预测今天 | 3d千禧开机号试机号关注金码 | 3d开机号今天近10期 | 3d预测号码最准最新推荐 | 3d今晚专家推荐预测重点号码 | 今天晚上3d推荐号码 | 卫星电话最建议买的三个型号 | 福家老三3d推荐号 | 3d专家推荐最精准的号码 | 投资独胆三天计划论坛 | 3d藏机图正版藏机图全图牛彩网 | 3d开奖号码近50期 | 3d开机号和试机号码牛彩网 | 3d独胆10中10| 今晚钱王点评推荐号 | 3d最新专家预测推荐 | 今天专家推荐号码3d | 今天3d太湖钓叟字谜三字诀 | 3d最精准的专家预测精选 | 3d今日专家推荐号 | 3d今晚专家预测推荐 | 今日3d直选 | 3d精准预测最准的专家直选 | 3d独胆必下一个胆 | 今晚3d精准一注直选 | 太湖试机号后一句定三码3d字谜 | 3d最准确的预测方法 | 中国福彩3D独胆下一期预测最新 | 3d预测推荐汇总大全 | 3d十大专家双胆预测汇总 | 3d精准预测最准的专家 | 3d专家预测推荐号最新 | 毒胆牛人三天计划必出 | 3d北斗专家北斗预测今天079期3d | 中国福彩3D独胆独家必中 | 3d杀码高手 | 3d最准预测 | 3d今天开机号和试机号开奖结果 | 3d今晚最准最新专家推荐号 | 十拿九稳预测专家分析 | 福家老三3d推荐号 | 3d今日太湖字谜 | 今天3d金码试机号对应码开机号 | 3d基本走势图表 | 成功路上3d双胆独胆 | 3d预测专家推荐号码推荐 | 3d一句定三码最准字谜 | 3d预测号码最准确专家预测 | 3b千喜今天试机号关注金码 | 最准3d专家预测推荐 | 排3太湖钓叟字谜三字诀 | 一定牛3d一注号推荐3d预测今天 | 3d字太湖字谜 | 3d今天最新最准专家预测最 | 3d基本走势图表 | 铁人铁胆3d定位包星预测 | 詹天佑今天3d推荐 | 3d开机号近30期列表彩宝网 | 张克永专家3d预测 | 3d今日专家推荐号 | 今天的3d开机号和试机号查询 | 3d今晚和值字谜 | 3d太湖字谜总汇大全 每天更新 | 3d独胆双胆天齐网 | 3d今晚专家预测推荐 | 3d开机号和试机号今天千禧 | 中国杀码王绝对 | 3d试后太湖一语定胆字谜 | 布衣杀码图3d杀码 | 3d基本走势图(专业版)近200期 | 今天太湖钓叟3d字谜三字诀 | 今晚3d开奖直选结果 | 3d徐文轩今晚推荐号码 | 正版真精华布衣天下今天推荐号码 | 3d胆拖价格表 | 3d绝杀三码今天 | 3d预测专家 | 3d今天专家推荐号码推荐 | 近100期3d开机号和试机号 | 太湖字谜3d和值谜 | 于海滨3d彩吧图库 | 3d预测最准确的专家 | 最准的3d专家预测 | 3d今晚预测最新最准确号码牛彩网 | 3d精选号码推荐今天最新 | 3D独胆内部精准预测 | 飞向阳光龙头凤尾今天最新消息 | 3d十大专家推荐号码汇总 | 3d今晚开奖结果走势图 | 李白看3d独胆绝20 | 3d北盟天机图藏机图 | 十拿九稳预测专家分析 | 3d今天开机号和试机号金码对应码 | 今晚3d出啥| 今于海滨一语定胆保真今天 | 铁人铁胆包星定位今天最新结果 | 李白看3d独胆绝20 | 3d阿福图库图谜大全 | 今日钱王给胆点评 | 毒胆牛人3天计划 | 今晚3d专家预测汇总 | 3d试机号今晚开机号 | 今晚3d出的什么号 | 于海滨点评专家一注定胆保真版 | 3d专家预测最准确最新今天牛彩 | 于海滨专家3d今天预测 | 中国福彩3D独胆当天精准预测最新 | 3d最新专家预测汇总大全 | 3d专家预测推荐汇总 | 于海滨3d预测牛彩网 | 3d陈华今晚就赌一胆今天最新消息 | 3d开机号和试机号近100期 | 于海滨3d杀码图 | 3d开机号试机号关注号金码对应码 | 詹天佑3d今天预测分析 | 千禧p3试机号关注号金胆对应号 | 3d开机号试机号今天最新50期 | 今日正版3d藏机图全部汇总 | 3d专家最新最准今天预测 | 3d今晚开机号试机号金码关注码今天 | 3d天中杀码图专区 | 千禧3d试机号金码关注码码关注码双彩论六个 | 3d独胆王定位独胆定位 | 詹天佑3d预测号 | 3d今天专家预测推荐号码 | 今日3d字谜3d一句定三码诗天中图 | 3d专家预测最准确今天3d | 于海滨3d预测牛彩网 | 福彩3D独胆大神必中最新 | 万能三码的使用方法 | 今晚3d专家预测汇总 | 3d近30期开机号试机号开奖号查询 | 3d今天最新最准专家预测最 | 3d老炮子直选三注 | 3d二天独胆王 | 3d牛彩网采摘收集预测汇总 | 3d军长独胆定位 | 今晚3d直选推荐 | 准香港3d漫画资料 | 太湖钓叟3d字谜三字诀 | 3d今天开机号和试机号码200 | 3d独胆预测必下一胆 | 3d白娘子跨度字谜汇总今天牛彩网 | 于海滨海3d专家预测今天 | 龙头凤尾最准确预测 | 3d预测专家推荐号码推荐 | 中国福彩3D独胆当天预测最新 | 排三十拿九稳今天预测 | 3d计算机开机号夏天推荐 | 今日3d藏机图正版藏机图310 | 今日正版藏机图全部汇总 | 今晚3d出的什么号 | 于海滨今日杀码图最新 | 3d预测专家最准确的专家预测今晚 | 3d预测专家| 3d开机号今天试机号30期 | 3d和值振幅走势图彩宝贝 | 3d今晚惊天一注预测 | 3d旧版基本走势图表 | 今天的3d开机号和试机号查询 | 3d今晚开奖号结果 | 3d今日开机号和试机号及关注码 | 3d专家预测号码手机牛彩网 | 今日3d预测号码推荐 | 毒胆牛人三天计划必出 | 3d专家预测最准确最新新闻 | 太湖三字谜太湖3d钓叟 | 3d开机号和试机号码牛彩网 | 中国福彩3D独胆老师分析最新 | 今日3d专家预测号最准确 | 宇海宾杀码图 | 3d跨度走势图图表 | 近30期3d开机号 | 历史3d开奖结果 | 财神爷独胆三天计划,就这么牛 | 3d今天开机号和试机号码200 | 3d今晚开奖号结果 | 3d独胆双胆独胆3d之村 | 于海滨海3d最新预测 | 3d今日专家推荐号 | 3d今晚预测直选一注3d一注预测 | 杀码王杀码 | 3d预测最准确的专家预测软件 | 小财神三天计划独胆 | 福彩3D独胆最新推荐最新 | 3d一定牛专家预测推荐 | 3d今日号码推荐 | 3d独胆10 10 | 3d精选号码推荐今天最新 | 15选5预测最准十专家预测 | 3d徐文轩今晚推荐号码 | 今晚3d之家 | 3d开机号今天试机号30期 | 福彩3D独胆团队必中 | 3d太湖字谜大全 太湖钓叟 | 3d和值尾振幅走势图50期 | 3d百位四胆 | 3d跨度振幅走势图3d专家 | 今日3d字谜太湖钓叟字谜正版 | 3d往年历史今天开奖结果 | 北斗3d今日专家预测推荐 | 3d今天专家预测最准 | 3d百个和值尾振幅走势图 | 3d图谜字谜总汇 | 3d老虎独胆 | 3d推荐号今晚专家预测 | 今于海滨3d预测今天单线联系 | 3d字谜太湖解 | 三3d太湖字谜 | 3D独胆下期最新精准预测 | 3d十位单选振幅走势图 | 3d近15期开奖号码结果 | 3d个位走势图图表 | 3d今日专家精准推荐号 | 三d便民字谜图谜总汇 | 3d推荐号今晚专家预测最准确 | 三d牛彩网开机号试机号是多少 | 3d三胆推荐| 3d精准预测| 3d独胆公式133x2 | 3d 今天 试机号开机号3 | 太湖字谜钓叟3d字谜 | 3d今晚开奖号结果 | 3b千喜今天试机号关注金码 | 陈华今晚就赌一个胆预测 | 3d开奖号走势图表 | 3d预测最新最准确号码 | 3d胆1拖9直选多少钱一注 | 3d今天开机号试机号3 | 福彩3D独胆最新推荐最新 | 今晚3d必出号 | 3d今天开机号试机号3 | 3d今晚推荐号 | 马后炮解3d太湖字谜 | 财神一语定一注3d字谜 | 于海滨专家预测3d两吗 | 唐龙点评3d预测 | 3d绝杀三码今天 | 3d专家最新最准预测 | 今晚3d直选推荐 | 3d今晚预测一注 | 3d最新准专家预测 | 今日3d太湖字谜三字诀排三开奖结果 | 三字诀太湖三字诀字谜 | 3d太湖钓叟字谜三字诀 | 唐龙3d预测今日出号点评 | 小红人的计划三天计划 | 最准杀码王p3 | 于海滨精准杀码图 | 3d最新最准预测号码今天 | 今天3d牛彩网专家预测 | 3d专家预测汇总牛彩网 | 今天3d推荐号码今晚预测 | 3d今晚上专家推荐号 | 3d和值10有哪些号码 | 3d最精准一注| 牛彩3d专家预测 | 3d推荐号今日预测 | 3d精准预测最准的专家直选 | 3d长中剑客预测今天 | 中国杀码王3d绝杀 | 3d近100期开奖结果全部 | 3d跨度振幅近100期走势 | 今日焰舞3d焰舞字谜汇总大全 | 今晚必中一注i | 3d字谜今日字谜总汇 | 3d彩吧预测,预测 | 今晚3d专家预测精选一注 | 三d字谜图谜总汇牛彩网 | 3d专家预测推荐号最新 | 3d必中直选 | 3D独胆大神命中率最新 | 3d预测专家最准确 | 千禧3d试机号关注码金码今天的 | 3d藏机图正版藏机图汇总今天最新图片 | 3d近500期试机号和开奖号码 | 今晚上3d出奖结果 | 千禧p3试机号关注号金胆对应号 | 3D独胆下期推荐分析最新 | 于海滨3d预测 | 3d最新准专家预测 | 今于海滨3d预测今天牛彩网 | 3d必中永久直选500注大底 | 3d预测今晚推荐号 | 龙头凤尾今日预测 | 3d预测专家最准确的专家预测今晚 | 今晚3d专家推荐号码 | 3d于海滨上的今天杀码 | 3d基本走势图 综合 太湖三字诀字谜三 | 3d下期预测最精准的一注号码 | 于海滨今天预测 | 今晚3d专家预测最准确 | 中国福彩3D独胆独家预测 | 3D独胆老师预测 | 2014年359期3d焰舞字谜 | 3d正版藏机图天齐网汇总 | 3d试机号3d之家金码 | 彩吧3d开机号 | 3d于海滨上的今天杀码 | 3d今天的推荐号 | 3d彩皇网 | 3d千禧金码试机号关注码开奖号 | 3d彩吧试机号今天最新 | 3d预测专家最准确的专家预测今晚 | 于海滨3d每日杀一码 | 3d图谜字谜总汇 | 3d胆预测天齐网 | 3d开机号试机号今天开奖号 | 3d千禧金码试机号关注码开奖号 | 3d预测最准最新准专家预测 | 3d专家预测最准确今天上一期 | 3d最准预测专家预测大 | 手机牛彩网3d预测 | 中国福彩3D独胆下期分析最新 | 于海滨专家3d预测 | 3d谜语今天字谜今天的3d字谜是什么? | 太湖钓叟排三字诀字谜 | 于海滨3d预测免费 | 3d今天专家推荐号码 | 3d北斗专家北斗预测今天079期3d | 3d今晚精选预测一注 | 今日三地开奖码 | 3d带线走势图牛彩网 | 3d今天专家预测号码 | 3d预测今晚推荐号 | 3d预测最准的专家预测 | 于海滨3d今晚预测号码 | 3d千禧试机号金码关注最近10期 | 3d预测最准确的专家 | 开奖结果3d今天晚上 | 福彩3D独胆最新预测 | 3d预测最准最新准专家预测号码 | 3d十大专家双胆预测汇总 | 于海滨今日杀码图最新 | 3d三天计划独胆王 | 财神爷独胆三天计划,就这么牛 | 詹天佑3d预测今天推荐号码 | 3d试机号开机号今天晚上金码号 | 3d一定牛专家预测推荐 | 3d今晚最准专家预测号码145 | 太湖叟3d字谜湖字谜 | 3d开机号今天近10期 | 唐龙一胆 | 3d今晚开奖结果号码是 | 3d最准预测专家预测汇总 | 3d专家预测最准确最新今晚预测 | 3d今天开机号和试机号码727 | 3d开机号和试机号近100期 | 近30期3d开机号和试机号 | 今天晚上三d开奖结果 | 3d试机号近10期彩经网 | 3d预测最准的专家预测 | 3d专家预测最准最新 | 于海滨海3d预测牛彩网 | 3d最近1000期走势图表综合版图片 | 今晚3d出的什么号 | 3d今于海滨杀码图 | 于海滨3d今晚预测号码 | 于海滨3d预测号 | 今日3d字谜一句定三码和值谜定1 | 3d走势图带连线牛彩网 | 3d陈华今晚就赌一胆天齐网 | 3d预测最准确专家预测牛彩网 | 牛人独胆二天计划 | 3d和值尾走势图(专业版) | 3d千禧开机号试机号关注金码 | 3d彩宝网开机号和试机号 | 3d专家推荐号码 | 3d今日预测最准专家预测 | 3d专家预测号码推荐今天 | 中国福彩3D独胆今日精准预测 | 3d千禧试机号金码关注码对应码 | 3d试机号历史出现情况天齐网 | 3d预测今晚最准专家预测号码 | 3d预测最准专家预测 | 詹天佑今天3d推荐 | 今日太湖字谜3d字谜太湖钓叟 | 3d和值尾振幅走势图带连线图表 | 3d专家解今日太湖字谜汇总 | 今晚3d专家推荐号码是多少 | 3d百位个位和值走势图 | 千禧开机号试机号关注号金码杀码 | 于海滨专家3d预测 | 3d上下五千年专家预测 | 3d十大专家精准预测汇总 | 3d推荐号今晚专家预测 | 3d开机号试机号今天最新50期 | 3d今天开机号试机号牛彩网 | 三d牛彩网开机号试机号是多少 | 3d预测廊坊鸿运 | 今日3d开奖号太湖字谜总汇 | 3d专家今天预测一注 | 3d专家预测最准确今天南方双彩网 | 福彩3D独胆老师必中 | 太湖解3d字谜汇总 | 3d詹天佑预测分析牛彩网 | 3d资料大全免费 | 3d今晚最准专家推荐号 | 3d直选一注50倍单挑 | 3d今天开机号试机号200期 | 3d胆拖价格表 | 3d之家独胆,双胆 | 3d之家预测专家预测 | 3d今日开机号和试机号及关注码 | 3d今晚专家推荐号 | 3d太湖老情人字谜图谜 | 龙头凤尾最准确预测 | 3d预测晚| 3d今天精准一注 | 3d跨度振幅走势图3d专家 | 今日3d推荐号码号 | 3d晶晶必下一独胆今天 | 3d最准确的专家预测 | 3d专家预测最准确最新今天牛彩 | 3d个位振幅走势图近50期 | 今晚3d之家 | 排3太湖钓叟字谜三字诀 | 今于海滨杀一码 | 于海滨海3d专家杀码 | 3d今天专家推荐号码推荐 | 3d开机号和试机号金码关注对应号 | 3d今晚专家预测推荐 | 3d近30期开奖结果 | 3d预测牛彩网| 3D独胆下期推荐预测最新 | 牛彩网杀码图汇总 | 3d太湖钓叟字谜三字诀乐彩论坛 | 3d专家今日推荐号码 | 3d预测今晚最准专家预测号码 | 3d藏机图正版藏机图打印版 | 试机号后牛彩网专家预测3d | 福彩3D独胆大神精准预测最新 | 东北小胆神今晚独胆 | 3D独胆内部精准预测 | 百位振幅走势图3d之家 | 3d打一个独胆中了多少钱 | 今日正版藏机图全部汇总239期 | 今天3d的开机号和试机号是多少号 | 3d独胆陈华今晚就赌一个胆 | 3d专家预测最准确最新汇总 | 3d专家预测今天最新准确号 | 于海滨点评专家一语定胆保真版 | 詹天佑最新预测 | 3d今天的开机号和试机号查询 | 福家老三3d推荐号 | 3d预测最准确专家预测 | 3d预测专家最准确的专家预测 | 詹天佑最新预测3d | 3d六码组三多少钱一注 | 3d预测今晚最准专家预测号码 | 3d推荐最新最准专家预测 | 最新3d预测专家预测 | 于海滨预测3d号 | 3D独胆下期最新预测 | 3d紫云涧专家预测推荐 | 今天买哪三个号码好 | 今天3d试机号开机号牛彩网 | 3d专家今天推荐号 | 3d最新准专家预测 | 3D独胆下期推荐预测最新 | 3D独胆团队命中率最新 | 3d今晚预测直选一注3d一注预测 | 于海滨3d今晚预测号码 | 3d专家预测最准最新 | 3d专家今天预测汇总 | 3d预测最准确最新 | 3d走势图带连线图表牛彩网 | 今晚上3d开奖号码 | 排五近100期开奖号结果 | 3d双胆最准100% | 陈华3d今晚赌独一胆天齐网 | 3d专家预测最准确最新新闻 | 今天3d号码推荐 | 詹天佑3d今天预测分析 | 3d今天开机号试机号是几 | 十拿九稳预测专家分析 | 今晚上3d出奖结果 | 3d推荐最新最准专家预测 | 3d预测最准专家预测号码 | 3预测,3d专家预测,最准确今天彩网 | 3d今晚开奖结果走势图 | 3d最新专家预测汇总牛部长预测 | 3d今晚专家推荐预测重点号码 | 3d十大专家精准预测汇总 | 李明启3d最新预测今天 | 千禧开机号试机号关注号金码杀码 | 3d和值012走势图带连线图 | 今晚3d专家推荐 | 3d开机号试机号今天最新50期 | 今天3d专家预测号码 | 3d预测最准专家预测牛彩网 | 3d北斗专家北斗预测今天079期3d | 于海滨专家3d今天预测 | 最准确3d专家预测 | 3d今晚预测最准确一注 | 福彩3D独胆当天分析最新 | 3d今晚专家预测最准确一注 | 3d专家预测最准确最新新闻 | 3d今天开机号和试机号查询100期 | 陈华3d今晚就赌一个胆 | 3d金码开机号和试机号 | 3d胆王专家定十位 | 3d今晚专家预测最准确一注 | 3d基本走势图(专业版)近200期 | 3d今晚最准专家预测号码145 | 3d今天的试机号开机号是多少 | 3d今天预测最准确专家 | 今晚3d专家推荐 | 中国福彩3D独胆下期推荐推荐最新 | 3d藏机图正版藏机图诗汇总 | 3d双胆独胆非常非常 | 3d专家预测最准确今天上一期 | 3d最准一注(单挑王) | 3d专家预测最准 | 福彩3D独胆团队必中 | 3d个位走势图振幅 | 今日3d开奖号今晚 | 中国杀码王绝杀 | 3d开机号今天试机号查询 | 3d预测詹天佑 | 3d今晚最准专家预测号码 | 3d布衣独胆王 | 3d直选一注必中 | 福彩3D独胆最新走势最新 | 3d今晚专家预测 | 詹天佑3d预测号 | 今晚3d专家最精准的预测 | 今天3d开机号和试机号全部 | 3d今晚专家预测推荐 | 3d今日开机号和试机号及关注码 | 3d预测一注推荐 | 3d小龙一句定三码今日字谜天中图 | 3d独胆预测 | 3d试机号200期历史 | 3d专家今天推荐号 | 3d独胆必下一独胆3d独胆预测 | 3d基本走势图(专业版)近200期 | 三地千禧试机号关注金码对应码 | 3d今天专家推荐号码推荐 | 3d今天出的什么号 | 3d和值遗漏值尾走势图 | 詹天佑最新预测3d | 今晚的3d试机号是多少 | 3d开机号码试机号牛彩网 | 福彩3D独胆老师精准预测 | 中国福彩3D独胆当天分析 | 3d于海滨预测预测牛彩网 | 3d于海滨今天预测保真 | 今天3d藏机图正版藏机图藏机图太湖横屏 | 下一期专家预测号码 | 3d预测 下一期 3d预测专家 3d预测 | 今日3d蓝仙子一句定三码字谜 | 3d3d今晚预测 | 于海滨3d杀码 | 于海滨海3d预测牛彩网 | 于海滨杀码今天最新版 | 铁人真胆一句定三码3d字谜彩搜网 | 3d今天中了多少注直选 | 3d试机号开机号今天查询排五 | 3d和值跨度走势图带连线 | 3d预测今晚最准专家预测号码 | 今日3d太湖字谜三字诀 | 成功路上3d双胆独胆 | 今天三d专家推荐号码 | 3d预测 下一期 3d预测专家 3d预测 | 今天3d开机号和试机号牛彩网 | 3d预测专家推荐最准确 | 三d十拿九稳预测号码 | 3d解太湖字谜汇总 | 3D独胆下期最新精准预测 | 今日3d正版藏机图,藏机图汇总,天中网 | 3d今天中了多少注直选 | 千禧关注码试机号金码 | 独胆三天计划 | 3d今日正版藏机图最新更新内容 | 小薇3d预测今天推荐 | 3d太湖一语定胆字谜论坛 | 3d专家于海滨 | 3d双胆独胆| 小胆神玩毒胆我3d | 今天彩报中心 3d图库 | 3d最准的预测专家 | 3d预测今晚最准专家预测号码 | 3d专家预测最准最新今天 | 3d预测专家最准确的专家预测今晚 | 苦命人3d推荐一注 | 今晚3d开奖直选结果 | 福体杀码王最新版本更新内容 | 今晚3d出的什么号 | 顶级胆神双胆必下 | 3d断组今晚全部 | 3d最准确专家预测 | 铁人真胆一句定三码3d字谜彩搜网 | 3d预测专家推荐最准确 | 3d今天走势图表 | 3d预测今晚最准专家预测号码 | 福彩3D独胆下一期命中率最新 | 排三十拿九稳今天预测 | 今晚3d专家推荐号码是多少 | 今天最准3d预测号 | 3d试机号开机号今天最新 | 今于海滨3d杀码图 | 今天最新3d开机号试机号关注码 | 3d预测一注推荐 | 3d杀码于海滨 | 3d试机号后专家预测推荐汇总 | 3d鸿运坊预测号 | 今天龙头凤尾预测 | 3d开机号和试机号金码关注对应码 | 太湖3d字谜太湖钓叟三字诀 | 3d今晚专家预测推荐 | 了3d开奖结果 今天晚上 | 3d之家,专家预测预测 | 3d预测最新最准专家 | 3d下期专家预测 | 3d独胆预测必下一胆 | 个位杀码王| 3d直选注| 3d于海滨一语定胆今天 | 3d今天专家预测最准确 | 白鱼舟最新3d预测 | 3d预测专家预测 | 今天晚上3d推荐号码 | 3d今天开机号试机号对应码关注码 | 三d预测专家 | 3d最准一注(单挑王) | 骄子铁鹰解3d字谜今日 | 3d财神爷独胆双胆双飞计划三天 | 3d开机号和试机号30期列表 | 今日太湖字谜3d字谜太湖钓叟 | 3d于海滨预测预测牛彩网 | 解太湖3d字谜太湖 | 3d试机号近30期牛彩网 | 3d谜语太湖钓叟3d谜语今天 | 3d杀码专家大全 | 3d开机号和试机号金码今天的 | 今天太湖钓叟3d字谜三字诀 | 福彩3D独胆本期预测 | 3d太湖字谜总汇大全 每天更新 | 3d藏机图正版藏机图打印版 | 3d今天中了多少注直选 | 3d预测最准确专家 | 3d预测最准专家预测牛彩网 | 3d今晚十大专家预测汇总 | 于海滨点评专家一语保真 | 3d预测牛彩网预测汇总 | 近1000期3d开奖结果 | 《金银胆神》金胆银胆3d最新一期开奖 | 3d三天计划独胆王 | 福彩3D独胆下一期走势最新 | 3d分析预测 | 3D独胆高手精准预测 | 3d预测晚| 今晚3d专家预测精选一注 | 3d最精准的专家预测精选 | 今晚3d专家推荐号码是多少 | 我是毒胆王,今晚独胆 | 3d开机号试机号30期列表彩宝网 | 3d今天专家推荐号码推荐 | 今日正版藏机图全部汇总 | 3d詹天佑预测汇总 | 中国彩吧更一懂彩民最新版本更新时 | 三d牛彩网开机号试机号是多少 | 3d专家最新最准今天预测 | 3d孔方来萃解太湖字谜 | 今天专家推荐号码3d | 于海滨海3d预测今天 | 3d小胆神独胆今天 | 3d专家预测推荐号码最准最新 | 千禧3d试机号金码关注码今天 | 3d今天最新最准专家预测最 | 《天才计划》三天计划独胆3d | 3d北斗专家北斗预测今天079期3d | 3d十个位差值振幅走势图3d之家 | 3d藏机图正版藏机图汇总今天最新 | 今天3d专家预测号码 推荐 | 3d杀码图天齐网 | 3d詹天佑最新预测 | 3d每天都有开奖吗 | 3d预测号码最准最新准专家预测号 | 3d任意两码差值尾走势图 | 3d百个差振幅走势图近100期 | 彩吧3d开机号 | 3D独胆本期推荐最新 | 三d专家杀码 | 看彩大亨最新独胆预测 | 十拿九稳预测 | 于海滨杀码今天最新版 | 今晚3d天宇一句定三码字谜 | 3d字谜图总汇| 3d最新专家预测推荐 | 3D独胆明日精准预测 | 3d独胆必下一独胆布衣正 | 3d直选开奖结果 | 3d北盟天机图藏机图 | 今晚3d开机号试机号金码 | 3d开奖号今天结果 今晚 | 3d今天专家推荐号码推荐 | 3d最新最准专家预测号码 | 3D独胆高手精准预测 | 3d精准预测最准的专家 | 3d开机号今天近100期南方查询 | 3d今晚专家预测最准确一注 | 3d任意两码差值尾走势图 | 3d藏机图正版藏机图诗汇总 | 3d今晚最准专家预测号码145 | 3d今晚专家推荐 | 3d今天开机号和试机号金码对应码 | 3d玩彩老头预测今天号码 | 今日精准预测推荐3d号码 | 3d最准预测专家推荐 | 千禧3d今天的试机号 | 3d预测最准最新准专家预测号码 | 中国福彩3D独胆当天预测最新 | 3d开机号试机号30期列表彩宝网 | 3d精准预测最准的专家直选 | 3d最准确最新专家预测 | 今晚3d必出号 | 3d和值尾振幅近100期走势图 | 3d陈华今晚就赌一胆天齐网 | 今晚3d最准专家预测号 | 3d专家预测最准确最新今天 | 3d金银胆神双胆 | 陈华今晚就赌一胆今天最新 | 3d杀码一定牛 | 最准3d专家预测推荐 | 3d詹天佑3d预测 | 于海滨一语定胆《保真》 | 3d今晚专家预测最准确一注 | 近1000期3d开奖结果 | 3d专家预测推荐 | 千禧金码关注码试机号 | 今晚3d天宇一句定三码字谜 | 于海滨今天3d预测号 | 3d下期预测最精准的一注号码 | 3d独胆专家推荐独胆 | 今天3d专家预测号码 推荐 | 于海滨精准杀码图 | 3d最准的预测专家 | 专家彩宝贝预测汇总 | 3d万能三码共有几注 | 3d预测詹天佑| 财神爷三天计划独胆组合 | 今日三地开奖码 | 3d今晚试机号是多少查询 | 三d之家独胆 | 3d专家预测更准确今天 | 3d百位走势图带连线图表专业版 | 3d预测专家最准确的专家预测今晚 | 于海滨点评专家一语保真 | 今日精准预测推荐3d号码 | 三天计划3d独胆必出论坛 | 3d今日专家推荐号 | 3d十大专家精准预测汇总 | 3d最准确专家预测 | 今天3d开机号试机号对应码列表 | 牛人高手【3d精选】 | 3d布衣双胆独胆王 | 张克永专家3d预测 | 三d今晚预测推荐十注 | 3d独胆双胆预测 | 千禧今晚3d试机号关注码金码 | 3d手机牛彩网专家预测 | 3d最新最准专家预测号码 | 福彩3D独胆实时走势 | 3d专家预测最新最准推荐 | 于海滨彩吧图库 | 牛彩预测汇总3d最新 | 今天最新3d开机号试机号关注码 | 3d中间值振幅走势图之家 | 3d开奖号今晚 | 马后炮解3d太湖字谜总汇大全 | 3d开机号试机号今天开奖号 | 最准3d预测专家推荐号 | 3d千禧金码试机号关注码 | 于海滨三地杀码 | 3d彩吧图库手机牛彩网 | 十拿九稳十大专家预测汇总最新一期 | 3d近300期试机号和开奖号码 | 牛彩网专家汇总汇总3d | 3d彩宝网开机号和试机号 | 3d和值尾振幅走势图50期 | 中国福彩3D独胆今晚分析 | 三d预测专家最新推荐 | 齐彩网3d专家预测 | 3d正版藏机图天齐网汇总 | 于海滨3d专家预测今天 | 3d专家推荐最精准的号码 | 3d推荐最新最准专家预测 | 于海滨海3d预测牛彩网 | 3d今天最准专家预测 | 3d今天专家推荐号码 | 3d和值尾遗漏走势图 | 3d毒毒毒胆胆胆中中中 | 3d今天开机号和试机号查询100期 | 3d试机号后专家预测推荐汇总 | 福彩3D独胆最新预测 | 3d开机号试机号关注号金码对应码 | 3d北斗专家北斗预测今天079期3d | 3d最新专家预测汇总大全 | 3d今日预测推荐号 | 3d两胆王双胆必下 | 3d今晚最准专家预测号码 | 3d专家最新最准专家预测汇总 | 3d预测专家准确推荐 | 福家老三3d推荐号 | 3d今晚必中一注一注 | 下一期专家推荐号码 | 3d正版藏机图谜汇总 | 于海滨3d预测牛彩网 | 唐龙点评3d预测 | 福彩3D独胆老师必中最新 | 今日3d一句定三码最准和值谜 | 今晚3d必出号 | 3d和走势图 和值尾连线 | 专家彩宝贝预测汇总 | 3d紫云涧专家预测推荐 | 今晚3d开奖号试机号 | 3d今晚开奖号结果 | 3d杀码图谜 | 3d晚间字谜汇总汇 | 3d最准确的专家预测 | 独胆王三天计划 | 3d和值尾振幅走势图50期 | 家彩专门提供3d试机号开机号 | 3d上下五千年专家预测 | 中国福彩3D独胆高手命中率 | 顶级胆神双胆下一 | 乾坤三天计划独胆预测 | 3d预测专家最准确 | 3d阿福图库图谜大全 | 3d焰舞和值谜字谜 | 顶级胆神双胆必下 | 3d今晚字谜太湖字谜是什么 | 3d十位走势图带连线图表专业版 | 廊坊鸿运3d预测今天 | 3d于海滨上的今天杀码 | 3d最准预测专家推荐 | 3d试机号牛彩网近三十期 | 今晚3d独胆王| 龙头凤尾今日预测 | 于海滨3d预测牛彩网 | 3d开奖号走势图表 | 成功路上3d双胆独胆 | 3d绝杀二码今天最新更新内容 | 3d今晚专家推荐号 | 于海滨3d预测今天 | 3d今晚最准专家预测号码 | 今日3d太湖字谜三字诀排三开奖结果 | 3d牛彩网专家预测 | 3d专家推荐号码 | 3d最准确预测专家 | 3d专家预测最准最新今天 | 3d今天开机号和试机号100期 | 3d十大专家预测汇总 | 3d今晚专家推荐预测重点号码 | 3d专家预测推荐汇总 | 3d今晚上专家推荐号 | 千禧今晚3d试机号关注码金码对应 | 3d北斗专家北斗预测今天079期3d | 3d今晚专家免费预测 | 中国福彩3D独胆当天预测最新 | 3d直选综合走势图表 | 3d今晚上必出号推荐组 | 詹天佑3d点评预测 | 三天计划3d独胆论坛 | 3d今晚惊天一注预测 | 3d今天专家推荐号码 | 3d开机号近200期历史记录 | 今天3d专家预测汇总 | 今天3d开机号 试机号是多少 | 3d今晚最准三注 | 今日排五专家推荐与预测 | 今天专家推荐号码3d | 3d专家今天推荐号 | 大师诸葛亮今晚一个独胆 | 于海滨海3d专家杀码 | 3d开机号和试机号金码关注对应号 | 3d最准专家预测号今晚3d试机号 | 3d走势图带连线牛彩网 | 3d太湖钓叟字谜三字诀论坛 | 3d十大专家双胆预测汇总 | 3d推荐号3d推荐号码 | 3D独胆下期推荐预测最新 | 3d老虎独胆| 今晚3d专家推荐号 | 于海滨预测3d | 3d预测专家最准确的专家预测昨天 | 今天彩报中心 3d图库 | 3d今晚专家预测推荐号 | 3D独胆本期推荐最新 | 3d预测专家精准推荐 | 3d百个位和值尾走势图 | 3d预测专家推荐 | 3d千禧试机号金码关注码对应码 | 今于海滨3d预测今天牛彩网 | 今日3d开奖号太湖字谜总汇 | 3d今晚最准最新专家推荐号 | 3d预测专家最准最新 | 今天最准3d预测号 | 3d最精准专家预测汇总今天 | 千禧3d试机号金码关注码杀码今天3d | 中国福利3d今天模拟试机号 | 3d预测专家最准确 | 3d今天的推荐号 | 3d推荐最新最准专家预测 | 3d百位四胆 | 3d预测最准专家预测号 | 3预测,3d专家预测,最准确今天彩网 | 3d今天晚上精选一注 | 财神一语定一注3d字谜 | 3d今晚预测最准确一注今天 | 快8今晚最毒胆推荐 | 今天3d藏机图正版藏机图藏机图太湖横屏 | 3d今日预测最准专家预测 | 于海滨专家一语定胆十每日 | 3d万能大底共250注直选 | 排五奖号| 3d正版藏机图谜汇总 | 3d推荐牛彩网 | 3d专家预测最准确最新今天牛彩 | 3d牛彩网试机号后专家预测汇总 | 3d于海滨上的今天预测保真 | 3d胆王帅哥独胆双胆 | 3d直选一注多少钱 | 于海滨点评专家一注定胆保真版162期 | 3d走势图专业版(带连线) | 3d专家预测最准最新今天 | 3d十大专家预测汇总 | 铁人铁胆定位包星 | 3d独胆王今天| 3d独胆王定位独胆定位 | 3d双胆,独胆非常非常稳定 | 3d今天开机号和试机号码727 | 3d独胆双胆独胆3d之村 | 3d基本走势图(专业版)近200期 | 牛彩网3d预测汇总大全 | 3d詹天佑预测汇总 | 今晚3d开奖号试机号 | 3d免费专家预测推荐今天最新 | 陈华今晚独胆特别关注 | 排三杀码专家定位杀码天齐网 | 3d开机号和试机号9.30分 | 唐龙3d预测号 | 3d解太湖字谜汇总精选 | 3d预测最准确的专家 | 3d十大专家推荐号码汇总 | 3d最准专家预测方法 | 3d直选一注50倍单挑 | 于海滨3d预测号 | 今天晚上的3d开奖结果 | 廊坊鸿运3d预测今天 | 今日3d太湖字谜三字诀洞庭游侠 | 詹天佑3d最新消息今天 | 3d预测一注号推荐 | 昨天3d开奖号是多少 | 3d解太湖字谜汇总 | 3d真实的谎言字谜总汇正版 | 3d最准预测专家预测大 | 于海滨今日杀码图最新 | 3d带连线专业版走势图表 | 3d开机号和试机号今天全部 | 3d专家推荐最新预测 | 于海滨3d预测天齐网 | 最准3d预测专家推荐号 | 3d今于海滨杀码图 | 3d火火人独胆双胆必中 | 3d今日专家推荐号 | 中国福彩3D独胆最新推荐 | 今日正版藏机图全部汇总 | 浙江风采3d走势图表 | 3d预测一注号推荐一3d预测一注今天 | 3d今日预测推荐号 | 开心笨小孩3d独胆 | 3d中国准神双胆 | 3d精准定位专家预测 | 今天晚上的3d开奖结果 | 3d专家预测最准确最新推荐号码 | 3d开奖结果今晚号码 | 3d走势图基本走势 | 千禧三地试机号对应码金码 | 3d推荐号今晚专家预测 | 3d和值尾振幅走势图3d走势3d之家 | 3d预测专家最准确的专家预测今晚 | 福彩3D独胆今日走势最新 | 3d 计算公式| 3d专家预测最准确今天南方双彩网 | 3d藏机图正版藏机图汇总今天最新图片 | 3d之家预测专家预测 | 3d谜语字谜太湖天齐网 | 3d精准定位专家预测 | 3d预测最准最新牛彩网 | 于海滨3d今晚预测号码 | 3d跨度遗漏值振幅走势图彩经网 | 3d洞庭湖水今日预测分析 | 3d三胆最准 | 西施姐姐就赌一个独胆 | 福利3d开奖号码 | 3d最小值振幅走势图3之家 | 3d精准推荐号 | 3d今晚和值推荐 | 排三杀码专家定位杀码天齐网 | 3d詹天佑最新预测 | 3d开机号试机号30期列表走势图 | 今日3d预测专家推荐 | 三d独胆| 3d和值尾振幅走势图带连线图表 | 3d今天专家预测最新最准 | 3d今晚必出号预测 | 3d专家预测推荐号码 | 3d今天专家预测最准 | 3d于海滨上的今天预测保真 | 排3太湖钓叟字谜三字诀 | 3d太湖字谜图谜 | 3d布衣独胆王正版今天 | 3D独胆老师分析 | 3d彩吧试机号今天最新 | 3d牛彩网试机号后专家预测汇总 | 3d于海滨上的今天预测 | 3d预测最新最准专家推荐号码 | 3d今晚开奖结果号码是 | 试机号开机号金码关注号对应码3d | 今晚开奖号码3d开奖结果 | 顶级胆神双胆下一 | 3d和值宫数线走势图 | 3d和值走势图(带连线图) | 3d最准确最新专家预测 | 太湖钓叟排三字诀字谜 | 3d预测牛彩网 | 3d今晚预测 | 中国福彩3D独胆专家精准预测最新 | 3d和值尾振幅走势图200期 | 3d谜语字谜太湖天齐网 | 3d专家预测最准 | 3d今天开机号和试机号232 | 中国福彩3D独胆独家预测 | 3d今晚最准一注 | 天才三天独胆计划 | 今晚3d专家预测精选一注 | 3d独胆双胆专家预测网 | 最新3d预测专家预测 | 千禧3d试机号关注号 | 3d预测最准确专家预测牛彩网 | 3d今天专家推荐号码是多少 | 3d北斗专家北斗预测今天079期3d | 3d和值25点有哪几注 | 3d中2个号多少钱 | 牛彩3d网首页 | 千禧试机号关注金码是什么 | 3d预测今晚最准专家预测号码 | 今晚3d专家预测汇总 | 3d今天的推荐号 | 3d陈华今晚就赌一个胆搜索一下 | 3d邻孤传走势图乐彩 | 3d精准预测专家预测 | 3d预测专家最准确今天 | 3d太湖字谜官网 | 3d牛彩网试机号后专家预测汇总 | 今日3d钱王点评 | 马后炮解3d太湖字谜总汇大全 | 3d最精准专家预测汇总今天 | 3d中国准神双胆 | 于海滨今天杀码3d | 3d千禧试机号关注码金码今天晚 | 3d开机号今天近10期 | 3d专家预测最准确最新新闻 | 牛人独胆三天计划 | 今天3d开机号和试机号牛彩网 | 3d专家预测最准今天 | 3d今天专家预测最准 | 牛彩网3d预测汇总大全 | 3d今晚预测直选一注3d一注预测 | 3d今天预测最准确专家 | 福彩3D独胆下期推荐必中 | 福彩3D独胆大神必中最新 | 3d开机试机号金码号关注号 | 3d预测一注号推荐今晚 | 3d专家今天预测汇总 | 3d带线走势图牛彩网 | 3d今晚专家预测最准确一注 | 3d今晚专家预测 | 3d今晚预测直选四注 | 3d开机号试机号今天最新50期 | 福彩3D独胆下期分析 | 3d断组今晚全部 | 今天专家推荐号码3d | 3d最准确的专家预测 | 3d今天开机号和试机号开奖结果 | 3d通辽独胆王今天 | 3d专家预测最准确最新今天牛彩 | 3d太湖字谜字谜汇总 | 詹天佑今天3d推荐 | 于海滨点评专家一注定胆保真版 | 3d詹天佑推荐号码 | 3d开机号试机号今天的 | 福彩3D独胆今晚必中最新 | 今天3d专家预测号码 推荐 | 中国福彩3D独胆专家精准预测 | 3d盐都三胆家彩网 | 3预测,3d专家预测,最准确今天彩网 | 3d预测最准确的专家 | 3d今晚必出号预测 | 中国福彩3D独胆最新必中最新 | 3d预测推荐汇总大全 | 3d上下五千年专家预测 | 3D独胆团队精准预测最新 | 3d定胆 | 3d最新专家预测汇总 | 三码合一是什么意思? | 3d专家预测最新推荐 | 3d最准确的预测方法 | 3d和值振幅走势图彩宝贝 | 今天三d专家推荐号码 | 3d字谜汇总大全总汇牛彩网开机号 | 3d预测最准最新准专家预测号码 | 十拿九稳预测专家分析 | 3d今天专家预测号码 | 3d今晚最准最新专家推荐号 | 于海滨3d预测牛彩网 | 今于海滨3d预测今天单线联系 | 3d预测号码最准最新准专家预测号 | 3d最准的预测专家 | 彩坛老顽童3d独胆 | 3d预测今晚最准专家预测号码 | 3d近300期试机号和开奖号码 | 3d推荐号3d推荐号码 | 今晚3d专家预测 | 今日精准预测推荐3d号码 | 太湖3d字谜图谜总汇 | 3d推荐号3d推荐号码 | 3d预测 下一期 3d预测专家 3d预测 | 今日3d推荐号码号 | 3d中奖情况| 中国福彩3D独胆下期推荐杀号最新 | 今晚3d专家最精准的预测 | 3d直选注| 今日毒胆| 3d晶晶必下一独胆今天 | 钱王点评+钱王老头预测 | 3d和尾振幅走势图3d专家 | 今晚3d直选一注 | 今日3d大老人预测号 | 铁人铁胆3d定位包星 | 3d北盟天机图藏机图 | 今日3d专家预测号最准确 | 3d专家预测推荐号码 | 3d专家最新最准专家预测 | 3d双胆独胆 | 3d今天开机号试机号牛彩网 | 3d北斗专家北斗预测今天079期3d | 今天3d开机号和试机号多少? | 3d最精准的专家预测精选 | 今天3d专家预测号码 推荐 | 3d小龙一句定三码今日字谜天中图 | 3d詹天佑最新预测今天 | 大师诸葛亮今晚一个独胆 | 3d十大专家双胆预测汇总 | 3预测,3d专家预测,最准确今天彩网 | 3d最精准的专家预测精选 | 2008年359期3d焰舞字谜 | 今天3d开机号试机号对应码列表 | 3d推荐号| 3d今天专家推荐号码推荐 | 3d千禧试机号金码关注码对应码 | 中国福彩3D独胆内部走势最新 | 3d今日开机号和试机号及关注码 | 3d谜语今天字谜今天的3d字谜是什么? | 3d最近1000期走势图表综合版图片 | 3d最准确最新专家预测 | 3d彩宝网开机号和试机号 | 唐龙一胆 | 今日3d正版藏机图,藏机图汇总,天中网 | 3d基本走势图综合 | 3d彩报图今天的第五版 | 千禧3d试机号金码关注码对应码今晚 | 3d和尾振幅走势图3d专家 | 成功路上3d双胆独胆 | 3d字谜总汇今日3d字谜总汇牛彩网 | 牛彩网3d专家预测汇总 | 牛彩网3d专家预测汇总 | 3d推荐号今晚专家预测最准确 | 3d太湖一语定胆字谜论坛 | 3d两胆下一稳定方法 | 今晚钱王点评推荐号 | 3d专家专家预测汇总 | 3d军长独胆定位 | 3d分析预测 | 万能四码图表 | 3d今晚推荐号 | 3d天中杀码图专区 | 3d今天专家推荐号码推荐 | 3d精准预测专家预测 | 3d专家预测最准确最新今晚预测号 | 于海滨海3d专家预测今晚一注 | 3d专家最新最准专家预测汇总 | 3d试机号开机号今天金码关注 | 3d牛彩网专家预测汇总 | 3d预测专家最准最新 | 3d直选走势图(专业版) | 3d今晚十大专家预测汇总 | 3d之家北斗今日预测 | 3d试机号后专家预测汇总 | 福彩3D独胆下一期预测最新 | 3d今晚专家推荐预测重点号码 | 3d十大专家杀跨度汇总 | 3d个位走势图表 | 今晚3d开机号试机号金码关注码 | 3d今天走势图表 | 3d彩吧试机号今天 | 3d洞庭湖水今日预测分析 | 近30期3d开机号和试机号 | 3d百个位差值振幅走势图100期 | 3d今晚预测直选四注 | 3d詹天佑| 3d今晚预测最新最准确号码牛彩网 | 今天3d试机号和开机号 | 3d预测最新最准确号码 | 3d最准专家预测号 | 3d北斗专家北斗预测今天079期3d | 于海滨3d今晚预测号码 | 3d独胆专家推荐独胆 | 3d今晚必中一注一 | 3d跨度振幅走势图3d专家 | 3d预测最准确的专家 | 于海滨专家3d今天预测 | 3d专家最新最准专家预测汇总 | 3d专家预测推荐号码最准最新 | 3d预测专家准确推荐 | 3d推荐号今晚专家预测 | 3d今晚最准最新专家推荐号 | 今于海滨3d预测今天牛彩网 | 福彩3D独胆实时杀号 | 排三王牌小哥独胆 | 3d今天开机号和试机号码200 | 3d专家最新最准专家预测汇总 | 3d詹天佑3d预测 | 3d今晚预测准确的专家预测 | 3d开机号和试机号金码关注 | 3d必中直选| 3d六码复式多少钱一注 | 3d开奖号走势图表 | 李明启3d预测最新号码 | 3d预测今晚推荐号 | 今天3d千禧试机号关注号金码号 | 于海滨今日预测号 | 3d今天的试机号开机号 | 3b预测汇总牛彩网 | 3d推荐最新最准专家预测 | 3d解太湖字谜汇总精选 | 十拿九稳的最新预测 | 3d直选综合走势图表图 | 3d预测专家推荐最准确 | 杀码是什么意思 | 3d谜语今天字谜今天的3d字谜是什么? | 3d跨度遗漏值振幅走势图彩经网 | 3d今日专家推荐 | 3d跨度公式98准确率 | 3D独胆今晚命中率最新 | 3d今晚专家预测推荐号 | 3d最准确最新专家预测 | 排三专家推荐与预测今天 | 3d彩界元宝就看一个独胆 | 3d中国独胆王今天 | 3d精准定位专家预测 | 3d专家预测最准确今天南方双彩网 | 3d买一个独胆中了得多少钱 | 3d最准确的专家预测 | 今晚上3d开奖号码 | 3d专家今天预测汇总 | 3d晶晶必下一独胆今天 | 3d陈华今晚独胆推荐 | 3d最准确最新专家预测 | 3d今天出的什么号 | 2009年浙江风采3d走势图 | 3d今晚专家预测推荐号 | 今天晚上3d开奖 | 今天3d金码试机号对应码开机号 | 今天3d开机号关注号试机号金码 | 3d预测今晚最准专家预测号码 | 3d今晚专家看独胆 | 于海滨3d预测今天 | 于海滨杀码图 | 3d今晚最准专家推荐号码 | 3d白娘子跨度字谜汇总今天牛彩网 | 3d字图谜总汇 | 3d预测汇总晚间 | 3d图谜字谜总汇 | 福彩3D独胆老师精准预测最新 | 唐龙点评3d预测 | 成功路上3d双胆独胆 | 3d今晚专家预测推荐号 | 3d近30期开机号试机号开奖号查询 | 徐文轩3d预测推荐 | 3d白娘子跨度字谜汇总今天牛彩网 | 3d和值推算公式 | 3d试机号3d之家金码 | 3d和值遗漏值尾走势图 | 3d直选注| 3d预测最准专家预测牛彩网 | 3d今天专家推荐号码推荐 | 今日3d藏机图正版藏机图134 | 3d飞胆图绕胆图 | 3d今晚试机号牛彩网 | 3d专家最新最准专家预测 | 3d今晚开机号试机号金码关注码今天 | 三d十拿九稳预测号码 | 中国福彩3D独胆今日走势最新 | 今日3d马后炮解太湖字谜 | 今于海滨点评专家一语定胆 | 3d独胆双胆3d之家 | 3d图谜字谜总汇 | 3d开机号试机号奖号 | 今晚3d专家推荐号码是多少 | 今晚3d最准专家预测号 | 今晚3d专家预测精选一注 | 3d历史今天开奖结果 | 3d和值尾振幅走势图50期 | 今晚3d专家预测汇总 | 3d专家预测最准确最新今天牛彩 | 3d于海杀码图 | 3d千禧开机号试机号关注金码对应码 | 3d同期历史对比 | 3d试机号关注号金码对应码开机号 | 今晚3d专家推荐号码是多少 | 3d千禧开机号试机号关注金码对应码 | 3d推荐专家汇总 | 3d专家预测推荐号码 | 3d今天开机号试机号码查询 | 3d走势图基本走势 | 詹天佑3d推荐 | 三地千禧试机号关注金码对应码 | 3d独胆双胆专家预测网 | 唐龙一胆| 今天3d开机号试机号对应码列表 | 三d推荐号专家预测今天 | 3d最大值振幅走势图遗漏 | 3d专家最新最准预测 | 3d今晚的开奖号码 | 3d阴阳走势图表图 | 十拿九稳今天预测 | 3d千禧试机号关注金码30期 | 今日3d直选一注 | 3d今晚最准最新专家推荐号 | 牛人高手【3d精选】 | 3d走势图基本走势 | 3d预测最精准一注 | 小薇3d预测 | 福彩3D独胆下一期命中率最新 | 3d各类和值谜追加汇总 | 3d预测专家推荐号码推荐 | 3d今晚最准专家预测号码 | 3d今天开机号试机号码 | 3d最精准的专家预测 | 今于海滨3d预测今天牛彩网 | 3d振幅和值尾走势图 | 3d预测最准的专家预测 | 3d十大专家预测汇总 | 于海滨3d预测牛彩网 | 今天3d专家推荐号 | 3d牛彩网预测汇总 | 今天晚上的3d开奖结果 | 北斗3d今日专家预测推荐 | 千禧开机号和试机号对应金码 | 3d试机号近10期彩经网 | 3d今晚专家预测推荐 | 今晚3d专家推荐号码 | 太湖钓叟三字诀字谜解释总汇 | 于海滨3d预测牛彩网 | 今日3d藏机图正版藏机图134 | 3d最准确预测专家 | 排3太湖钓叟字谜三字诀 | 预测3d今晚开奖号 | 今晚3d开奖号码多少 | 福彩3D独胆下期推荐精准预测 | 3d开机号试机号今天最新50期 | 今于海滨3d预测 | 唐龙一胆今天最新 | 3d中国准神双胆 | 3d今晚专家预测最准确一注 | 3d今晚上专家推荐号 | 最新3d预测专家预测 | 3d今天专家预测最准 | 3d今晚专家预测推荐号 | 3d千禧试机号关注号金码号开机号 | 今日3d预测号码推荐 | 毒胆牛人三天计划必出 | 3d十大专家推荐号码汇总 | 两天计划双胆王 | 孟庆会老师3d分析预测 | 3d财神爷今晚独胆 | 彩坛老顽童3d独胆 | 3d精准预测专家预测 | 彩界女王双胆独胆 | 3d预测今天推荐 | 神仙姐姐今晚杀码 | 陈华今晚就赌一个胆今天最新更新内容 | 北斗3d今日专家预测推荐 | 3d专家推荐最新预测 | 看彩大亨看独胆双胆预测 | 3d解太湖字谜汇总 | 3d专家预测最准 | 明天的3d太湖字谜 | 3d藏机图正版藏机图汇总今天最新图片 | 今于海滨3d预测 | 3d最近基本走势图 | 今日詹天佑3d预测 | 太湖钓叟3d字谜三字诀 | 小龙一语定三胆3d今日字谜 | 3d太湖字谜一语定胆 | 3d杀码想要 | 3d走势图专家推荐号码 | 3d藏机图正版藏机图汇总今天最新 | 今晚上3d出奖结果 | 3d太湖试机号 | 3d最新基本走势图表 | 今日3d太湖字谜三字诀洞庭游侠 | 十拿九稳的最新预测 | 3d预测专家推荐 | 3d专家预测最准确最新今晚预测 | 今天晚上的3d开奖结果 | 千禧试机号关注号金码是什么 | 今于海滨最新预测今天 | 于海滨海3d杀码图 | 3d最新专家预测汇总 | 3d今晚最稳一注 | 3d开机号和试机号今天 今晚 | 3d之家独胆,双胆 | 3d于海滨预测预测牛彩网 | 3d今晚专家推荐预测重点号码 | 3d字谜总汇图 | 3d试机号今天开机号查询结果 | 3d图谜字谜总汇 | 3d最大值振幅走势图彩经 | 3d专家推荐最新预测 | 3d詹天佑3d预测 | 3d詹天佑最新预测 | 3d直选走势图(专业版) | 3d专家推荐号最准确的推号 | 今日3d专家预测号最准确 | 3d专家预测最新最准推荐 | 乾坤三天计划独胆预测 | 3d和值尾振幅走势图200期 | 3d走势图(带连线版) 试机号 | 太湖三字谜太湖3d钓叟 | 3d近100期试机号和开奖号是多少 | 《金银胆神》金胆银胆3d最新一期开奖 | 唐龙点评每日一胆龙 | 3d开机号,试机号,金码号,对应码100 | 3d开奖号码走势图表 | 3d同期历史对比 | 3d字太湖叟字谜 | 于海滨杀码图牛彩 | 3d预测最准专家预测牛彩网 | 今天晚上3d开奖 | 钱王点评+钱王老头预测 | 3d字谜图谜总汇 | 3d试机号开机号今天金码关注 | 3d预测最准最新准专家预测号码 | 独胆真人就打独胆今天 | 3d和值尾振幅走势图50期 | 3d海滨点评一语定胆今天最新推荐 | 小红人的计划三天计划 | 千禧试机号金码关注 | 3d直选综合走势图表 | 3d定百位一个号多少钱 | 3d最新最准预测号码今天 | 3D独胆大神分析 | 一代女王决杀两胆免费观看 | 3d预测今晚最准专家预测号码 | 3d彩吧图库44462| 小红人的三天计划今天是什么 | 福利3d开奖号码 | 于海滨3d今晚预测号码 | 三d独胆王独胆双胆 | 3d开机号和试机号近100期 | 3d今天开机号和试机号码 | 于海滨3d预测今天 | 3d晚秋和值谜彩吧图库 | 3d专家预测最准确号码 | 三地百位振幅3d之家走势图 | 李明启3d预测最新号码 | 3d字谜太湖最新 | 3d两胆王 | 陈华3d独胆推荐 | 3d独胆预测必下一胆 | 3d今晚专家预测最准确一注 | 3d今晚最准三注 | 3d开机试机号金码号关注号 | 卫星电话最建议买的三个型号 | 3d绝杀一码绝杀 | 3d北斗专家北斗预测今天079期3d | 3d鬼手字谜和谜 | 3d最精准的专家预测 | 3d开机号今天试机号查询 | 3d专家预测独胆最准确 | 3d今晚专家预测最准确号码 | 3d十位走势图带连线图表专业版 | 福彩3D独胆下期推荐最新 | 3d今天出的什么号 | 今天专家推荐号码3d | 3d预测号码最准最新推荐 | 十拿九稳十大专家预测汇总最新一期 | 十拿九稳预测分析 | 3d今晚最准最新专家推荐号 | 3d预测专家推荐号码 | 孟庆会专家3d预测 | 于海滨专家预测3d | 3d今晚最准最新专家推荐号 | 神龙毒胆王今晚给胆 | 今天3d字谜3d一句定三码3d和值谜 | 3d今晚预测最新最准确号码牛彩网 | 唐龙一语定胆最新 | 今天3d专家推荐号 | 太湖3d字谜图谜总汇 | 3d预测专家推荐号码 | 福彩3D独胆老师走势最新 | 3d近200期试机号和开奖号码 | 3d单个冷号最大遗漏 | 今日3d大老人预测号 | 3d十大专家汇总精选一注 | 3d今晚专家推荐预测重点号码 | 3d专家预测号码推荐今天 | 3d今天专家预测最准确 | 今晚3d专家推荐号码是多少 | 3d今晚开奖结果走势图 | 今于海滨3d预测今天单线联系 | 3d独胆专家推荐独胆 | 3d下期预测最准一注 | 专家预测3d预测 | 正版真精华布衣天下今天推荐号码 | 解3d字谜太湖钓叟汇总 | 独胆王三天计划 | 3d字谜今日字谜总汇 | 3d预测最准专家预测号码 | 3d今天开机号 试机号查询 | 3d开机号和试机号码牛彩网 | 3d海滨点评一语定胆今天最新推荐 | 3D独胆独家推荐最新 | 3d于海滨专家预测 | 3d推荐号今晚专家预测最准确 | 3d每天一个独胆 | 3d今天开机号和试机号码200 | 唐龙3d预测今日出号点评 | 3d专家最新最准专家预测 | 3d藏机图正版藏机图汇总今天最新图片 | 3d开机号和试机号金码关注对应码 | 六鬼神算图3d谜图 | 下一期专家推荐号码 | 3d正版藏机图总汇全图 | 福彩3D独胆团队分析最新 | 唐龙点评每日一胆龙 | 天才计划三天计划独胆 | 3d杀码高手 | 近100期3d开机号和试机号 | 3d最精准独胆王 | 3D独胆今晚命中率最新 | 3d基本走势图. | 于海滨3d预测 | 3d杀码更准确 | 3d组选中一注多少钱 | 铁人铁胆3d定位包星预测 | 3d下期预测最精准的一注号码 | 十拿九稳今天预测专家 | 中国彩吧更一懂彩民最新版本更新时 | 千禧3d今天的试机号 | 3d字谜今日字谜总汇 | 3d个位走势图图表 | 3d今天专家预测推荐号码 | 3d专家预测最新最准 | 3d最大值振幅走势图3之家 | 最新3d预测专家预测 | 3d专家于海滨 | 3d专家最新最准专家预测 | 3d专家预测最准确今天上一期 | 3d今晚开奖结果号码是 | 3d试机号开机号今天金码关注 | 今天3d开机号 试机号是多少 | 廊坊鸿运3d推荐今天 | 3d正版藏机图总汇全图 | 3d最新准专家预测 | 3d今天预测号 | 3d专家预测汇总牛彩网彩摘收集 | 排三专家杀码 | 3d千禧试机号关注码金码今天晚 | 福家老三3d推荐号 | 3d今晚开机试机号 | 千禧试机号金码关注 | 三d预测专家最新推荐 | 3d北斗专家北斗预测今天079期3d | 中国福彩3D独胆下期最新必中 | 福彩3D独胆老师分析最新 | 3d精准预测推荐 | 3d带线走势图连线走势图 | 3d预测最准的专家预测 | 彩坛老顽童3d独胆 | 天府袍哥3d预测 | 试机号后牛彩网专家预测3d | 三天计划3d独胆必出论坛 | 3d字谜太湖解 | 今天3d专家预测汇总 | 中国福彩3D独胆最新走势 | 牛彩预测汇总3d最新 | 今日3d钱王点评 | 3d太湖钓叟字谜三字诀了3d开奖 | 3d专家预测最准确最新今晚预测 | 3d预测专家推荐最准确 | 3d最新专家预测汇总大全 | 于海滨3d今晚预测 | 3d最准确的预测方法 | 于海滨3d预测牛彩网 | 3d条件预测专家专区 | 3d农村小伙子最新预测 | 3d今晚最准专家推荐号码 | 3d今晚预测直选一注 | 于海滨海3d预测牛彩网 | 3d预测最准的专家 | 唐龙点评3d预测今天 | 今日3d专家推荐号码 | 3d十大专家预测汇总 | 3d专家预测最准最新 | 千禧p3试机号关注号金胆对应号 | 于海滨3d预测牛彩网 | 3d今天试机号开机号关系 | 3d直选历史遗漏查询 | 今晚3d专家预测精选一注 | 3d近100期试机号和开奖号是多少 | 今晚3d号码开奖结果多少 | 3d最大值振幅走势图3之家 | 钱王点评+钱王老头预测 | 福家老三3d推荐号 | 3d资料大全免费 | 3D独胆本期命中率 | 3d断组今晚全部 | 3d今晚最准的一注 | 3d专家预测号码最准确 | 3d太湖一语定胆字谜论坛 | 3地独胆,毒胆双胆家彩网 | 3d和值尾振幅近100期走势图 | 今天3d开机号试机号对应码列表 | 3d最新专家预测精选一注 | 万能6码走势图 | 3d今晚专家预测 | 3d十大专家精准预测汇总 | 3d十大专家杀跨度汇总 | 3d预测今晚最准 | 三码合一是什么意思? | 马后炮解3d太湖字谜总汇大全 | 财神爷独胆三天计划,就这么牛 | 3d十位走势图彩经网 | 真实的谎言3d字谜追加和值谜 | 于海滨一语定胆 | 3d小鱼图今日背面字谜 | 太湖字谜三字诀汇总 | 于海滨最新预测今天 | 3d最精准专家预测汇总今天 | 今晚最全3d晚间字谜汇总192期 | 3d两胆王双胆必下 | 下一期专家准确预测 | 3d晶晶必下一独胆今天 | 专家3d预测汇总 | 3d百位四胆 | 马到成功杀两码最新版本更新内容 | 3d千禧开机号试机号关注金码 | 3d今天专家预测号码 | 今天最新3d开机号试机号关注码 | 明天的3d太湖字谜 | 钱王点评十钱王给胆下一期预测 | 3d直选开奖结果 | 排五预测号专家 | 3d免费专家预测推荐今天最新 | 今日3d马后炮解太湖字谜 | 3d今天专家预测最准确 | 3d预测最准的专家预测 | 今日3d字谜3d一句定三码诗天中图 | 3d詹天佑3d预测 | 3d专家今天预测一注 | 3d陈华就赌一个胆天齐网 | 3d最新专家预测推荐 | 3d廊坊鸿运精选号码推荐 | 3d专家预测最准确最新今天牛彩 | 3d太湖字谜总汇大全 每天更新 | 3d千禧试机号关注码金码是什么 | 于海滨海3d预测保真 | 3d今日开机号和试机号及关注码 | 今晚3d开奖直选结果 | 3d精选号码推荐今天最新 | 最准3d预测专家推荐号 | 3d和值振幅走势图彩宝贝 | 3d今天晚上预测最准专家 | 今天3d开机号 试机号是多少 | 3d今晚专家预测推荐 | 3d直选历史遗漏查询 | 3d预测号码最准确专家预测 | 3d牛彩网试机号后专家预测汇总 | 太湖3d字谜图谜总汇 | 今于海滨3d预测今天牛彩网 | 3d推荐最新最准专家预测 | 小红人的三天计划今天是什么 | 3d今天专家推荐号码 | 今日3d字谜一句定三码和值谜定1 | 于海滨3d预测免费 | 彩宝3d专业走势图 | 3d最准一注(单挑王) | 3d千禧金码试机号关注码开奖号 | 3d今日预测最准专家预测 | 李明启3d预测最新号码 | 3d图谜字谜总汇 | 天才计划三天计划独胆 | 今晚3d专家预测汇总 | 3d专家预测最准确最新汇总对应码 | 今天3d开机号 试机号是多少 | 3d今晚上预测号码 | 今天3d专家推荐重点号 | 3d今晚必下一个胆 | 牛人高手【3d精选】 | 3d预测专家最准最新 | 3d太湖试机号 | 今晚3d的开奖结果 | 3d最新专家预测精选一注 | 3d预测今晚最准专家预测号码 | 中国福彩3D独胆团队命中率最新 | 3d和值尾振幅走势图3d走势3d之家 | 3d今晚和值推荐 | 詹天佑3d推荐 | 3d今天预测最准确专家 | 于海滨海3d预测今天 | 今晚3d专家推荐号码 | 毒胆牛人三天计划必出 | 3d直选一注50倍单挑 | 3d预测专家推荐最准确 | 3d开奖号码今晚走势图 | 太湖字谜钓叟3d字谜 | 3d百位遗漏振幅走势图南方双彩网 | 于海滨点评加专家一语 | 3d最准预测号 | 3d今晚专家预测推荐 | 3d今晚试机号牛彩网 | 陈华今晚就赌一胆今天最新 | 3d精准预测最准的专家直选 | 3d预测牛彩网预测汇总 | 3d最新专家预测推荐 | 3d精准一注| 3d两胆精准预测 | 辉煌看胆双胆3d | 3d单双走势图表 | 3d号码预测和推荐号今天 | 张克永最新3d预测 | 3d预测专家最准最新 | 3d均值振幅走势图表图 | 3d个位振幅走势图近50期 | 3d精准预测最准的专家直选 | 排3太湖钓叟字谜三字诀 | 3d预测最新最准确号码 | 家彩专门提供3d试机号开机号 | 3d詹天佑最新预测今天 | 3d预测号码最准最新准专家预测号家彩网 | 今晚3d开奖号码多少 | 今天3d试机号开机号牛彩网 | 3d太湖字谜总汇大全 每天更新 | 3d太湖字谜图谜总汇 | 3d专家预测最准确今天南方双彩网 | 牛彩预测汇总3d最新 | 于海滨海3d专家预测今晚一注 | 3d双胆独胆非常非常稳定 | 中国福彩3D独胆下期分析最新 | 3d预测最准最新准专家预测号码 | 3d藏机诗藏机图天中图库 | 今晚3d专家推荐号码 | 3d预测最准专家预测号码 | 3d今晚预测最新最准确号码牛彩网 | 今日3d推荐号码号 | 3d预测今天最准预测号 | 3d试后太湖一语定胆字谜 | 3d于海滨专家预测 | 3D独胆独家推荐最新 | 3d湘西胆王今日字谜 | 3d定胆 | 3d牛彩网断组预测 | 3D独胆实时必中最新 | 3d于海滨上的今天预测 | 排三今晚十拿九稳最新预测 | 3d毒胆 | 3d带连线走势图(专业版) | 福彩3D独胆最新推荐最新 | 3d近300期试机号和开奖号码 | 3d今晚预测开奖号码 | 千禧3d试机号金码关注码牛彩网 | 3d今天开机号和试机号322 | 今晚3d开奖号码多少 | 3d最近1000期走势图表综合版图片 | 中国福彩3D独胆下期分析最新 | 3d太湖字谜三字诀 | 3d开机号和试机号码牛彩网 | 3d詹天佑最新预测今天 | 于海滨海3d预测牛彩网 | 祖师爷独胆三天计划 | 3d免费专家预测推荐今天最新 | 今天3d定位字谜二 | 3d十大专家预测汇总 | 神仙姐姐今晚杀码 | 3d今晚专家预测推荐 | 3d毒毒毒胆胆胆中中中 | 今日3d专家预测号最准确 | 3d定和值公式 | 十拿九稳预测分析 | 千禧3d试机号金码关注码杀码今天3d | 3d今天开机号和试机号码200 | 千禧3d试机号关注码今天 | 3d专家推荐号最准确的推号 | 3d最新最准预测号码今天 | 3d独胆双胆下一 | 3d推荐专家汇总 | 3d今晚预测直选一注3d一注预测 | 排三平均值振幅走势图3d之家 | 3d通杀一码 | 3d今天专家预测推荐号码 | 3d独胆专家预测 | 3d试机号和开机号牛彩网 | 3d专家预测汇总牛彩网彩摘收集 | 3d今日推荐号 | 3d专家直选最精准一注 | 十大杀码专家3d | 今日3d专家预测号码推荐 | 试机号后牛彩网专家预测3d | 3d开机号试机号今天最新50期 | 3d独胆双胆专家预测网 | 3d今晚专家预测 | 3d牛彩网预测汇总 | 3d开机号试机号码牛彩网 | 3d独胆中了给多少钱 | 3d布衣独胆双胆必下一 | 3d精选号码推荐今天最新 | 3d今晚一注| 中国彩吧更一懂彩民最新版本更新时 | 3d今晚开奖结果号码是 | 3d今晚最准专家预测号码 | 3d太湖字谜三字诀 | 千禧3d试机号金码关注码牛彩网 | 今于海滨一语定胆保真今天 | 大师诸葛亮今晚一个独胆 | 3d今晚最稳一注 | 3d今晚专家预测推荐 | 今天3d开机号 和试机号 查询结果 | 3d今晚预测最新最准确号码牛彩网 | 3d今晚最准专家预测号码 | 3d金胆王| 3d今晚专家预测推荐 | 今天3d试机号和开机号 | 3d今天专家预测号码 | 3d北斗专家北斗预测今天079期3d | 3d试机号今晚牛彩网 | 3D独胆今晚命中率 | 3d专家预测最准确最新今天牛彩 | 解3d太湖钓叟字谜汇总 | 3d定位独胆王三个双飞 | 3d今晚试机号开奖号 | 小龙一语定三胆3d今日字谜 | 3d今天专家推荐号码推荐 | 詹天佑今天3d推荐 | 3d钱王点评 | 看彩大亨最新独胆预测 | 3d十个位差值振幅走势图3d之家 | 3d开机号和试机号八仙选号 | 了3d开奖结果 今天晚上 | 钱王点评十钱王给胆下一期预测 | 3d十大专家精准预测汇总 | 3d千禧开机号和100期试机号 | 3d近30期开机号试机号开奖号查询 | 3d今晚开出什么号码 | 3d绝杀二码今天最新更新内容 | 3d今晚必出号 | 今晚3d专家推荐号码是多少 | 3d专家预测最准确今天 | 今天专家推荐号码3d | 今晚最准一注3d | 北斗3d今日专家预测推荐 | 3d字谜太湖钓叟三字诀17500 | 2002146期3d开奖结果 | 3d最精准的专家预测 | 3d精准预测最准的专家 | 3d真帝王杀码图 | 今于海滨3d预测今天单线联系 | 福彩3D独胆下期推荐预测 | 唐龙每日一胆天齐网 | 3d十大专家精准预测汇总 | 今于海滨3d预测今天单线联系 | 3d今晚预测最准确一注今天 | 今晚钱王点评推荐号 | 今天十拿九稳号码预测 | 今天p3藏机图正版藏机图 | 3d真实的谎言字谜总汇正版 | 3d双胆独胆| 3d直选注 | 中国福彩3D独胆当天精准预测最新 | 3d专家预测号码手机牛彩网 | 3d走势图(带连线版) 试机号 | 3d千禧试机号和金码关注 | 3d字谜图谜总汇 | 3d十位走势图带连线图表专业版 | 3d金银胆神双胆 | 陈华今晚就赌一个胆今天最新更新内容 | 3d号码预测 | 3d专家预测最准确最新今天牛彩 | 3d今晚预测开奖号码 | 3d,胆| 3d今日开机号和试机号及关注码 | 3d预测最准确的专家 | 今于海滨杀一码 | 3D独胆下一期精准预测 | 中国彩吧更一懂彩民最新版本更新时 | p3千禧试机号关注金码 | 牛彩网近30期3d开机号试机号 | 彩宝3d专业走势图 | 中国福彩3D独胆下期最新必中最新 | 3d百个和值尾振幅走势图 | 3d于海滨上的今天预测保真 | 太湖3d字谜图谜总汇 | 3d今晚专家预测最准确一注 | 今晚3d预测开奖号码推荐 | 唐龙一胆今天最新 | 3d带线走势图连线走势图 | 3d最准一注(单挑王) | 于海滨3d杀码 | 3d太湖钓叟字谜三字诀论坛 | 排三杀码专家天齐网 | 3d专业版(走势图带连线) | 3d专家预测最准今天 | 福彩3D独胆下期走势最新 | 今天3d专家预测号码 推荐 | 于海滨3d免费预测最新的 | 3d杀码高手 | 3d专家预测最准确最新今晚预测 | 3d专家最新最准预测 | 三d便民字谜图谜总汇 | 3d最准专家预测方法 | 3d精准预测最准的专家直选 | 3d最新专家预测精选一注 | 今于海滨3d预测今天 | 今晚3d开机号试机号金码关注码 | 3d今日开机号和试机号及关注码 | 詹天佑3d今晚预测号码 | 3d杀码于海滨 | 3d近30期开机号试机号开奖号查询 | 3d双胆大师今天 | 3d专家预测最新 | 3d陈华今晚就赌一个胆搜索一下 | 3d预测专家推荐最准确 | 3d精准推荐号 | 3d最新专家预测精选一注 | 太湖字谜3d和值谜 | 今天3d的开机号和试机号是多少号 | 福彩3D独胆团队必中 | 今天最新3d开机号试机号关注码 | 3d预测专家最准确的专家预测今晚 | 试机号千禧关注金码 | 3d开奖号今晚 | 今天3d藏机图正版藏机图藏机图太湖横屏 | 3D独胆高手杀号 | 3d3d今晚预测| 3d开机号试机号近100期开奖号码 | 3d北斗专家北斗预测今天079期3d | 3d精准预测最准的专家 | 3d十大专家推荐号码汇总 | 今晚3d专家预测精选一注 | 福彩3D独胆下期最新推荐 | 3d专家预测最准确最新汇总 | 3d开奖号码近50期 | 3d预测最准确的专家 | 3d下期预测最精准的一注号码 | 3d专家预测最准确最新今天牛彩 | 正版真精华布衣天下今天推荐号码 | 3d今晚最准最新专家推荐号 | 于海滨3d预测牛彩网 | 3d今晚预测最准确一注今天 | 福彩3D独胆下一期推荐 | 3d试机号今晚开机号 | 3d预测詹天佑 | 3d走势图全图表 | 近50期3d开奖结果 | 3d今于海滨杀码图 | 3d小差振幅走势图表图 | 于海滨海3d预测牛彩网 | 铁娘子三天计划独胆必下300 | 3d专家预测最准确最新今晚预测 | 今晚3d开奖直选结果 | 3d今晚100倍 万能三码的使用方法 | 辉煌看胆双胆3d | 3d千禧试机号关注号金码号开机号 | 千禧试机号金码关注码的历史记录 | 于海滨一语定胆专家点评 | 3d红波蓝波走势图大中小 | 3d预测专家精准推荐 | 今日3d藏机图正版藏机图310 | 中国福彩3D独胆下期最新必中最新 | 3d姜子牙一句定三码最准字谜汇总 | 3d和值跨度走势图带连线 | 今晚3d开奖号试机号 | 3d预测是多少 | 3d千禧试机号关注号金码号开机号 | 3d之家预测专家预测 | 3d大富好预测汇总 | 铁娘子三天计划独胆必下300 | 詹天佑今日最新点评 | 排三杀码专家天齐网 | 3d专家今日推荐号码 | 卫星电话最建议买的三个型号 | 铁人真胆一句定三码3d字谜彩搜网 | 3d牛彩网和值走势图 | 今天3d数字定位三 | 3d今天预测最准确专家 | 3d杀码专家杀码天齐网 | 唐龙一语定胆最新 | 今晚3d开奖号试机号 | 3d预测最准的专家预测 | 于海滨海3d专家预测 | 3d专家预测最准今天 | 3d预测专家最准确 | 十拿九稳预测最准100% | 今天3d专家推荐号 | 3d藏机图正版藏机图诗汇总 | 于海滨一语定胆《保真》 | 詹天佑今日3d预测 | 3d于海滨预测预测牛彩网 | 今日焰舞3d焰舞字谜汇总大全 | 3d最准专家预测号 | 3d预测詹天佑最新 | 三地千禧关注码试机号 | 福彩3D独胆当天分析最新 | 3d千禧开号试机号关注金码对 | 3d村独胆双胆3 | 3d今晚试机号是多少查询 | 三d历史走势图 | 于海滨3d预测今天 | 3d今晚最准专家预测号码 | 3d今晚预测准确的专家预测 | 3d最新最准预测号码今天 | 3d牛彩网专家预测 | 3d今天预测最准确专家 | 3d今晚开奖结果走势图 | 3d今晚和值推荐 | 3d最准一注(单挑王) | 3d和值振幅走势图带连线坐标 | 唐龙3d预测号 | 准香港3d漫画资料 | 今晚3d专家预测 | 3d独胆双胆专家预测网 | 3d开机号和试机号今天千禧 | 3d专家预测最准今天 | 解今日太湖3d字谜 | 3d今日热销号 | 钱多多3d百位定独胆 | 詹天佑3d预测今天推荐号码 | 3d试机号后专家预测汇总 | 3d胆预测天齐网 | 稳准狠三天计划 | 一定牛3d一注号推荐3d预测今天 | 3d于海滨预测预测牛彩网 | 今晚3d推荐号码 | 3d真实的谎言正版和值字谜 | 福彩3D独胆下期推荐精准预测 | 玩彩独胆王三天计划 | 李明启3d今晚预测专栏 | 牛人高手【3d精选】 | 3d胆王帅哥独胆双胆 | 钱王点评 | 3d玩彩老头预测今天号码 | 福彩3D独胆下期推荐必中 | 3d试机号开机号关注号金码 | 3d今晚专家预测 | 3d太湖字谜图谜 | 今晚3d专家预测最准确 | 于海滨今天预测 | 3d精选号码推荐今天最新 | 3d专家最新最准今天预测 | 3d最新最准专家预测号码 | 今日3d杀码最新 | 3d双胆神算今天最新 | 小红人的三天计划今天是什么 | 3d下期预测最精准的一注号码 | 3d天齐网最准预测 | 3d专家预测最准最新今天 | 今晚精准一注3d | 3d杀码图汇总牛彩网 | 太湖字谜太湖钓叟三字诀 | p三杀码 | 3d徐文轩今晚推荐号码 | 3d专家最准确推荐最新 | 3d预测专家推荐 | 福彩3D独胆实时杀号 | 3d今晚开奖号码结果是多少 | 沈宝桢个人简历 | 于海滨今天3d预测 | 今晚3d预测开奖号码推荐 | 今天3d专家推荐重点号码 | 最准3d预测专家推荐号 | 3d预测最准预测号 | 3d预测专家精准推荐 | 3d最准确的预测方法 | 3d预测最准的专家预测 | 3d推荐号今晚专家预测最准确 | 今日3d预测号码推荐 | 3d专家预测最准牛彩网 | 牛彩网3d预测汇总大全 | 太湖试机号后一句定三码3d字谜 | 3d推荐号今晚专家预测 | 十拿九稳预测分析 | 今于海滨3d预测今天275 | 3D独胆团队走势 | 2025长期守号最佳5注推荐 | 于海滨点评专家一注定胆保真版162期 | 今晚预测3d号 | 3d今天专家预测推荐号码 | 三d十拿九稳预测号码 | 于海滨海3d预测今天 | 55125预测汇总3d | 钱王点评十钱王老头给胆 | 李明启3d最新预测今天 | 3d专家预测号码手机牛彩网 | 预测3d| 3d专家预测最新最准推荐 | 3d专家预测最准最新 | 3d李明启最新预测今天 | 3d预测专家最准确 | 马后炮解3d太湖钓叟字谜总汇大全 | 今晚3d直选推荐 | 今天3d开机号和试机号金码 | 彩吧3d开机号 | 3d今晚专家推荐号 | 詹天佑3d点评预测 | 今于海滨3d预测彩吧图 | 杀码大全汇总 | 三d预测专家预测 | 千禧3d试机号金码关注码对应码 | 今天3d试机号开机号是什么 | 3d于海滨上的今天预测 | 3d今天开机号和试机号码 | 3d专家预测最准确今天南方双彩网 | 【福星】3d单挑10注组 | 3d今晚开奖号结果3b | 3d买4个号直选多少钱 | 3d预测今晚最准专家预测号码 | 3d开机号和试机号今天金码关注号 | 今天的3d开机号试机号 | 3d杀码高手 | 3d专家预测最新最准推荐 | 今晚上3d出奖结果 | 3d今晚开奖号码走势图 | 3d跨度公式98准确率 | 3d今天专家预测最准确 | 3d今晚最准最新专家推荐号 | 3d最准确专家预测 | 3d基本走势图表完整版 | 下一期专家预测号码 | 3d于海滨今天预测保真 | 3d今晚字谜太湖字谜是什么 | 3d最准的预测专家 | 3d陈华今晚就赌一胆天齐网 | 3d今日开机号和试机号及关注码 | 真实的谎言3d字谜追加和值谜 | 陈华3d预测今天推荐 | 3d专家预测最准确今天牛彩网 | 陈华今晚独胆特别关注 | 3d和值振幅走势图带连线坐标 | 3d最准专家预测号 | 3d今晚开奖号多少 | 天府袍哥3d预测 | 独胆三天计划 | 3d洞庭湖水今日预测分析 | 3d预测最新最准专家 | 今日3d专家预测号最准确 | 3d形态预测静态版 | 3d最准确的预测方法 | 今天3d专家推荐重点号码 | 3d开机号和试机号今天全部 | p3故事小王双胆下一今天 | 于海滨海3d专家预测今天 | 3d最精准专家预测汇总今天 | 3d个位振幅走势图近50期 | 三d预测专家预测今天最新 今于海滨3d预测 | 3d专家预测汇总牛彩网 | 3d于海滨预测预测牛彩网 | 3d最准专家预测方法 | 3d试机号后专家预测汇总 | 福彩3D独胆高手分析 | 近1000期3d开奖结果 | 3d家彩预测| 于海滨3d预测牛彩网 | 3d今天推荐号码是多少 | 3d开机号和试机号金码关注对应码 | 福彩3D独胆最新走势最新 | 今晚3d开机号和试机号是多少 | 看彩大亨最新独胆预测 | 3d今天专家推荐号码 | 3d走势图(专业连线版) | 3d直选一注必中 | 千禧试机号金码关注号对应码杀码 | 太湖试机号后一句定三码3d字谜 | 千禧p3试机号关注号金胆对应号 | 一代女王杀两胆 | 3d试机号关注号金码对应码开机号 | 3d推荐号今晚专家预测最准确 | 3d和值基本走势图新浪网 | 3d今晚专家预测最准确一注 | 今天3d中奖 | 三天计划胆十组合 | 3d独胆10中10| 助赢计划软件免费版下载安装 | 今天3d推荐号码今晚预测 | 3d今天开机号和试机号码牛彩网 | 中国福彩3D独胆当天分析 | 3d今晚最准专家推荐号 | 3d预测专家最准确 | 3d预测今晚最新最准确 | 3d近50期开奖号码 | 3d预测号码最准确专家预测 | 今天3d开机号试机号码 | 3d专家预测最准最新 | 今晚3d预测开奖号码推荐 | 3d千禧开机号试机号关注金码 | 快8今晚最毒胆推荐 | 3D独胆实时必中最新 | 3d字谜今日字谜总汇 | 3d最准专家预测号今晚3d试机号 | 3d试机号今天晚上金码92期 | 布衣杀码图3d杀码 | 3d十大专家汇总精选一注 | 3d今天晚上的开奖号码 | 试机号后牛彩网专家预测3d | 3d大老人预测 | 太湖字谜三字诀论坛 | 今日3d藏机图正版藏机图310 | 太湖3d字谜太湖钓叟三字诀 | 中国杀码王3d绝杀 | 最新3d预测专家预测 | 3d字字谜图谜总汇 | 3d专业版(走势图带连线) | 陈华今晚就赌一胆今天最新 | 最准3d预测专家推荐号 | 中国福彩3D独胆实时必中最新 | 3d试机号后专家预测汇总 | 3d今晚专家预测推荐号 | 三d独胆王独胆双胆 | 中国福彩3D独胆当天分析 | 3d今晚最准专家预测号码145 | 福彩3D独胆大神精准预测最新 | 今日3d专家预测号最准确 | 今于海滨3d杀码图24210 | 3d独胆双胆天齐网 | 最准3d预测专家推荐号 | 3d陈华今晚独胆推荐 | 今晚上3d出奖结果 | 3d预测专家汇总预测 | 3d推荐号今日预测 | 太湖字谜钓叟3d字谜 | 看彩大亨最新独胆预测 | 今晚3d开奖号码多少 | 3d阴阳走势图表图 | 3d布衣独胆双胆必下一 | 3d牛彩网试机号后专家预测汇总 | 3d今天的试机号开机号是多少 | 近1000期3d开奖结果 | 今日3d开机号和试机号关注码千禧 | 3d今晚专家预测推荐号 | 3d专家预测推荐 | 中国福彩3D独胆最新推荐 | 福彩3D独胆最新推荐最新 | 太湖字谜钓叟3d字谜 | 3d十大专家独胆 | 唐龙3d预测 | 3d预测最新最准专家 | 福彩3D独胆下期最新分析 | 3d最准确的预测方法 | 3d预测专家最准确今天 | 今于海滨3d预测今天275 | 3d最精准的专家预测 | 3d专家最新最准预测 | 今天3d于海滨预测 | 3d玩彩老头预测今天号码 | 3d各路专家预测汇总大全最新 | 3d专家今天预测汇总 | 詹天佑今天3d推荐 | 3d字图谜总汇| 3d今晚和值字谜 | 小红人的计划三天计划 | 3d精准预测最准的专家 |